
6.2 The rinse aid empty
notification
The rinse aid helps to dry the dishes
without streaks and stains.
The rinse aid is automatically released
during the hot rinse phase.
When rinse aid chamber is empty, the
rinse aid indicator is turned on notifying
to refill rinse aid. If the drying results are
satisfactory while using multi-tablets
only, it is possible to deactivate the
notification for refilling rinse aid.
However, for best drying performance,
always use rinse aid.
If standard detergent or multi-tablets
without rinse aid are used, activate the
notification to keep the rinse aid refill
indicator active.
How to deactivate the rinse
aid empty notification
Make sure the appliance is in user mode.
1. Press Program.
• The indicators and
are off.
•The indicator still flashes.
• The display shows the current
setting.
– = the rinse aid empty
notification is deactivated.
–= the rinse aid empty
notification is activated.
2. Press Program to change the setting.
3. Press on/off to confirm the setting.
6.3 The rinse aid level
It is possible to set the released quantity
of rinse aid between level 1 (minimum
quantity) and level 6 (maximum quantity).
Level 0 deactivates the rinse aid
dispenser and no rinse aid is released.
Factory setting: level 4.
How to set the rinse aid level
Make sure the appliance is in user mode.
1. Press Start.
• The indicators and are
off.
• The indicator still
flashes.
• The display shows the current
setting: e.g. = level 4.
– The levels of rinse aid range
are from 0A to 6A where level
0A means no rinse aid is used.
2. Press Start repeatedly to change the
setting.
3. Press on/off to confirm the setting.
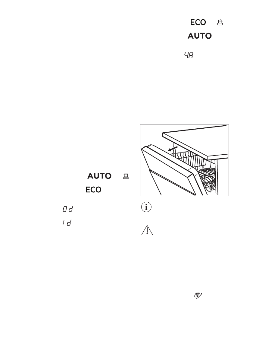
6.4 AirDry
AirDry improves the drying results with
less energy consumption.
During the drying phase, the
door opens automatically
and remains ajar.
CAUTION!
Do not try to close the
appliance door within 2
minutes after automatic
opening. This can cause
damage to the appliance.
If, afterwards, the door is
closed for another 3
minutes, the running
programme ends.
AirDry is automatically activated with all
programmes excluding (if
applicable).
To improve the drying performance refer
to the XtraDry option or activate AirDry.
www.aeg.com
10