4Deutsch
Allgemeine Sicherheitshinweise
Lesen Sie vor Inbetriebnahme dieses Gerätes die Bedie-
nungsanleitung sehr sorgfältig durch und bewahren Sie
diese inkl. Garantieschein, Kassenbon und nach Möglich-
keit den Karton mit Innenverpackung gut auf. Falls Sie das
Gerät an Dritte weitergeben, geben Sie auch die Bedie-
nungsanleitung mit.
• Um das Risiko von Feuer oder einem elektrischen
Schlag zu vermeiden, sollten Sie das Gerät nicht Regen
oder Feuchtigkeit aussetzen. Das Gerät nicht in unmit-
telbarer Nähe von Wasser betreiben (z.B. Badezimmer,
Schwimmbecken, feuchte Keller).
• Benutzen Sie das Gerät ausschließlich für den privaten
und den dafür vorgesehenen Zweck. Dieses Gerät ist
nicht für den gewerblichen Gebrauch bestimmt.
• Das Gerät ausschließlich an eine vorschriftsmäßig
installierte Steckdose anschließen. Achten Sie darauf,
dass die angegebene Spannung mit der Spannung der
Steckdose übereinstimmt.
• Bei Verwendung von externen Netzteilen auf die
richtige Polarität und Spannung achten, Batterien stets
richtig herum einlegen.
• Das Gerät so aufstellen, dass vorhandene Lüftungsö-
nungen nicht verdeckt werden.
• Niemals das Gehäuse des Gerätes önen. Durch un-
sachgemäße Reparaturen können erhebliche Gefahren
für den Benutzer entstehen. Bei Beschädigung des
Gerätes, insbesondere des Netzkabels, das Gerät nicht
mehr in Betrieb nehmen, sondern von einem Fach-
mann reparieren lassen. Netzkabel regelmäßig auf
Beschädigungen prüfen.
• Ein defektes Netzkabel darf nur vom Hersteller, un-
serem Kundendienst oder einer ähnlich qualizierten
Person durch ein gleichwertiges Kabel ersetzt werden,
um Gefährdungen zu vermeiden.
• Benutzen Sie das Gerät längere Zeit nicht, ziehen Sie
den Netzstecker aus der Steckdose, bzw. entnehmen
Sie die Batterien.
Diese Symbole können sich ggf. auf dem Gerät benden
und sollen Sie auf folgendes hinweisen:
Das Blitz-Symbol soll den Benutzer auf
Teile im Inneren des Gerätes hinweisen, die
gefährlich hohe Spannungen führen.
Das Symbol mit Ausrufezeichen soll den
Benutzer auf wichtige Bedienungs- oder
Wartungs-Hinweise in den Begleitpapieren
hinweisen.
Geräte mit diesem Symbol arbeiten mit
einem „Klasse 1-Laser“ zur Abtastung der CD.
Die eingebauten Sicherheitsschalter sollen
verhindern, dass der Benutzer gefährlichem,
für das menschliche Auge nicht sichtbarem
Laserlicht ausgesetzt wird, wenn das CD-Fach
geönet ist.
Diese Sicherheitsschalter sollten auf keinen Fall über-
brückt oder manipuliert werden, sonst besteht die Gefahr,
dass Sie sich dem Laser-Licht aussetzen.
Kinder und gebrechliche Personen
• Zur Sicherheit Ihrer Kinder lassen Sie keine Verpa-
ckungsteile (Plastikbeutel, Karton, Styropor etc.)
erreichbar liegen.
WARNUNG!
Lassen Sie kleine Kinder nicht mit Folie spielen. Es
besteht Erstickungsgefahr!
• Dieses Gerät ist nicht dafür bestimmt, durch Personen
(einschließlich Kinder) mit eingeschränkten physi-
schen, sensorischen oder geistigen Fähigkeiten oder
mangels Erfahrung und/oder mangels Wissen benutzt
zu werden, es sei denn, sie werden durch eine für ihre
Sicherheit zuständige Person beaufsichtigt oder erhiel-
ten von ihr Anweisungen, wie das Gerät zu benutzen
ist.
• Kinder sollten beaufsichtigt werden, um sicherzustel-
len, dass sie nicht mit dem Gerät spielen.
Symbole in dieser Bedienungsanleitung
Wichtige Hinweise für Ihre Sicherheit sind besonders
gekennzeichnet. Beachten Sie diese Hinweise unbedingt,
um Unfälle und Schäden am Gerät zu vermeiden:
WARNUNG:
Warnt vor Gefahren für Ihre Gesundheit und zeigt
mögliche Verletzungsrisiken auf.
ACHTUNG:
Weist auf mögliche Gefährdungen für das Gerät oder
andere Gegenstände hin.
HINWEIS:
Hebt Tipps und Informationen für Sie hervor.
Spezielle Sicherheitshinweise
Dieses Gerät arbeitet
mit einem Laser der Klasse 1.
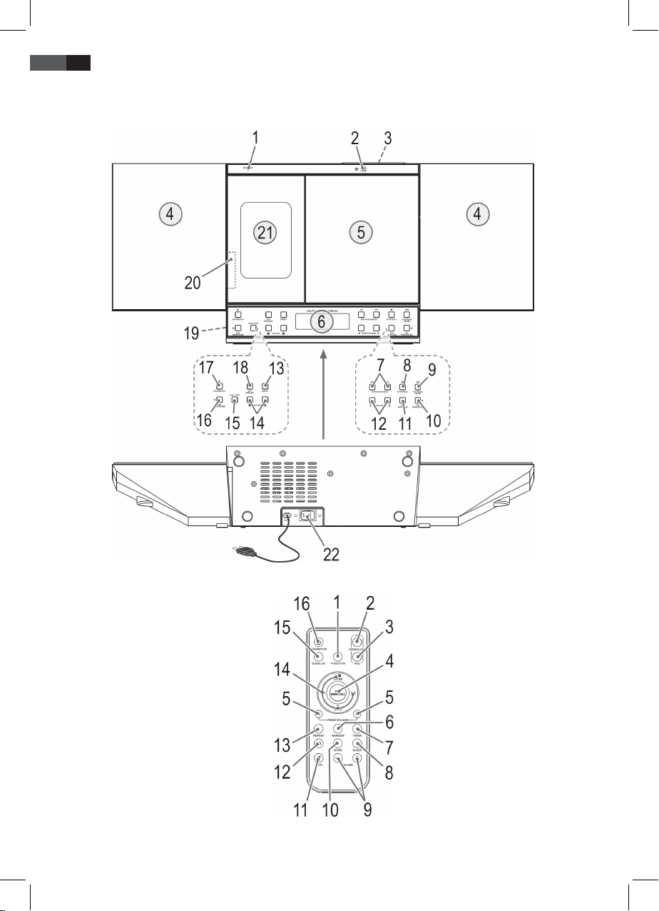
Übersicht der Bedienelemente
1 STANDBY Kontrollleuchte
2 IR Sensor für die Fernbedienung
3 USB Anschluss
SD/MMC Kartenschlitz
4 Lautsprecher
5 CD-Fach
6 LCD-Display
7 / SKIP/TUNE SEARCH Tasten (Suchlauf vorwärts/
rückwärts)