2
Introduction.
Document Index.
1 Installation Requirements
1.1 Health & Safety
1.2 Model Definitions
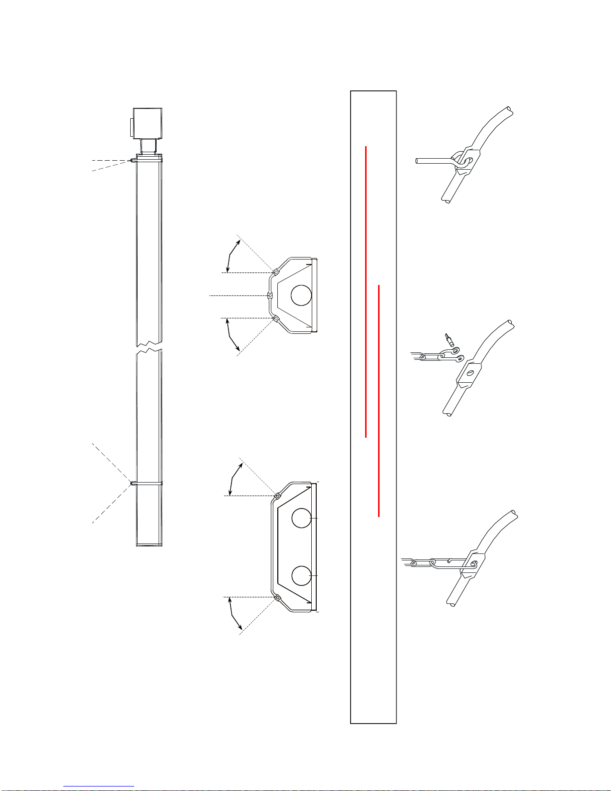
1.3 Heater Suspension
1.4 Wall Mounting
1.5 Herringbone Systems
1.6 Clearance to Combustibles
1.7 Gas Connection & Supply Details
1.8 Electrical Connections
1.9 Ventilation Requirements
1.9.1 Unflued Radiant Heater
Mechanical Ventilation
Natural Ventilation
1.9.2 Flued Radiant Heater
Mechanical Ventilation
Natural Ventilation
1.10 Flue & Combustion Air Inlet Options
1.11 Technical Details
2 Assembly Instructions
2.1 Tools Required
2.2 Assembly Notes
2.2.1 Tubes
2.2.2 Turbulators
2.2.3 Brackets
2.2.4 U Bends
2.2.5 Couplers
2.2.6 Reflectors
2.2.7 End Caps
2.2.8 Burner Assembly
2.2.9 Fan Assembly
2.2.10 DL Condensate Box Assembly
2.2.11 HB Damper Assembly
2.2.12 HB Manifold Assembly
2.2.13 Detailed Assembly Drawings
3 Commissioning Instructions
3.1 Tools Required
3.2 Balancing the Herringbone System
3.3 Balancing a DL System
3.4 Commissioning Chart for VS Unitary Heaters
4 Servicing Instructions
4.1 Tools Required
4.2 Burner Description
4.3 Burner Removal
4.4 Burner Gas Injector Servicing
4.5 Burner Head and Electrode Servicing
4.6 Combustion Fan Assembly Induced Burner
4.7 Combustion Fan Assembly Forced Burner
4.8 Radiant Tube Servicing
4.9 Reflector Servicing
4.10 Inspection of Flue
4.11 Re-commissioning after Service
5 Spare Parts
6 Fault Finding Guide
7 Replacing Parts
7.1 Burner Controller Replacement
7.2 Air Pressure Switch Replacement
7.3 Gas Valve Replacement
8 User and Operating Instructions
8.1 To Start Heater
8.2 To Switch Off Heater
8.3 Routine Maintenance Between Service Intervals
8.4 Frequency of Servicing
at height regulations are adhered to at the
mounting heights specified.
PLEASE READ this document prior to
installation to familiarise yourself with the
components and tools you require at the various
stages of assembly.
All Dimensions shown are in mm unless
otherwise stated.
The manufacturer reserves the right to alter
specifications without prior notice.
Welcome to the new range of high efficiency
AmbiRad Vision radiant tube heaters. Local
regulations may vary in the country of use and
it is the installers responsibility to ensure that
such regulations are satisfied
All installation, assembly, commissioning and
service procedures must be carried out by
suitable qualified competent persons to the
statutory regulations in the country of use.
When assembling, installing, commissioning
and servicing is undertaken on radiant tube
heaters specified in these instructions, due care
and attention is required to ensure that working
1. Installation Requirements.
Isolate any electrical supply to the
heater and controller before proceeding. obligations arising from the Health and Safety at
Works Act 1974 or relevant codes of practice. In
addition the installation must be carried out in
accordance with the current IEE wiring
regulations (BS 7671), BS 6896:2005 (Industrial
& Commercial) and any other relevant British
Standards and Codes of Practice by a qualified
installer. Isolate all electrical supplies to the
heater & controller before proceeding.
1.1 Health and Safety
AmbiRad heaters must be installed in
accordance with the relevant provisions of the
Gas Safety (Installations and Use) Regulations
1998. Due account should also be taken of any