Arizona Seattle Manuale di riferimento

Introductions for installation and use
Seattle
Multi-fuel stove
Imported and Distributed by Micon Distribution Ltd.
1a Hallstown Road, Ballinderry Upper, Lisburn BT2 2NE
Arizona brand exclusively owned by Micon

Contents
Pre-installation checks
Installation introduction with technical data
1.0 Technical data
2.0 Installation introduction
2.1 Unpacking the stove
2.2 Installing the stove
2.2.1 Assembling the control of the secondary air
2.3 Stove placement/clearance req irements
2.4 The chimney
2.5 Pipe connections
2.6 Connecting to a masonry chimney
2.7 Connecting to a steel chimney
2.8 Draft conditions
3.0 User Manual
3.1 Choice of f el
3.2Use
3.2.1 Use with wood
3.2.2 Use with solid f el
3.2.3 Ash Removal
3.3 Maintenance
3.3.1 Cleaning glass
3.3.2 External s rface cleaning
3.3.3 Gaskets
3.4 Operational problems – tro bleshooting

Pre-installation checks
Installation of a fireplace must be according to local codes and regulations in each
country.All local regulations, including those which refer to national and
European standards, must be observed when installing the product.
Both an installation man al with technical data and a man al on general se and maintenance
are enclosed with the prod ct. The installation can only be sed after it has been inspected by a
q alified inspector. A name plate of heat-resistant material is affixed to the prod ct. This
contains information abo t identification and doc mentation for the prod ct.
Installation introduction with technical data
1.0 Technical data
Material Cast iron
Finish High-temp. Resistance paint
Fuel Multi-fuel
Log length, max. 34.7cm
Flue outlet Top and rear
Flue pipe dimension
- Inside - 3 -125 mm/113cm
2
cross section
Approx. weight 99kgs
Dimensions, distances etc. figure2
Parameter Wood Logs Ancit
Total Efficiency % 75.2 72.1
Nominal heat output kW 7.5 6.6
Mean CO emission at 13 % O
2
) % 0.12 0.26
Mean flue gas temperature ºC 347 303
Flue gas mass flow g/s 6.2 6.4
Mean C
n
H
m
emission Nmg/m
3
112 95
Mean NOx emission Nmg/m
3
102 124

DIN Plus particulates Nmg/m
3
23 20
Technical data according to EN 13240:2004
Recommended chimney draught 12 Pa
Operational mode Intermittent or Continuous with smokeless fuels.
Intermittent combustion in this context means normal use of the fireplace, i.e. fuel
is added as soon as the fuel has burnt down.
Continuous with smokeless fuels means the appliance remain alight overnight and
can be easy recovered in the morning.
2.0 Installation
2.1 Unpacking the stove
After removing the outer packaging, unbolt the combustion chamber from the wooden pallet and place
it gently on its back. The cardboard packaging can be placed underneath to prevent marring. Remove
the leg pack from the stove and bolt each leg securely to the underside of the base on the combustion
chamber, using the bolts provided found inside the stove).
We recommend that two people perform the assembly and installation procedure.
2.2installing this stove
The stove and chimney installations MUST comply to all current National and Local Building
Regulations; your approved dealer or your local building control officer can advise regarding this.
Ultimately, it is you and your installer who is responsible that the installation complies.
2.2 Asse bling the control of the Secondary air
figure 1.
The control of the Secondary air is option part.
After assembling the control, check it for easy operation and completed sealed when closed

2.3 Stove place ent/clearance require ents
Hearth and Wooden floor protection
The product must be installed on a level surface with adequate load-bearing capacity. If an existing
construction does not meet this requirement then suitable measures, e.g. load distribution plate, have to
be taken to achieve it.
The product can be placed directly on a wooden floor that is covered by a metal plate or other suitable,
non-inflammable material. The recommended minimum thickness is 12 mm.
Any flooring made of comb stible material, s ch as linole m, carpets, etc. m st be removed
from nder the floor plate. Req irement for protecting comb stible flooring in front of fireplace.
The dimensions of the heart m st be in accordance with national laws and reg lations. See
figure 2
Contact your local building authority regarding restrictions and installation requirements.
Walls protection
Note! The side load door m st not be sed in corner installations if this prod ct is with side load
door.
Distance to wall made of comb stible materialsee
figure 2
The fireplace is authorised for use with the distances to the wall of flammable material as shown in
figure 2.
A heat shield for the back can be ordered and mounted dependingon the position of the fireplace and
the desired distance tocombustible materials. See fig. 2.


Distance to walls covered by a firewall
Firewall req irement
The firewall must be at least 100 mm thick and be made of brick,concrete-stone or light concrete.
Other materials and structureswith satisfactory documentation may also be used.
Ceiling protection
There must be a minimum distance of 1200 mmto a combustibleceiling above the fireplace.
Clearances to furniture and soft furnishings
We recommend that the stove be installed 800 mm from furniture. Serious consideration should also
be given to positioning of any furniture that could be adversely affected by heat. The clearances to
combustible materials in front of the stove should be a minimum of 800mm. When lit, a wood-burning
stove gets hot and therefore adequate protection must be provided, particularly in situations where
there is a safety risk to children or the infirm. A suitable safety guard around the stove should be
considered
.
2.4 The chi ney
This product never connect to any shared chimney.
An efficient modern stove places heavy demands on the chimney, and you should have the chimney
regularly swept and inspected by your approved chimney sweep.
The cross-sectional area of the chimney at its narrowest point) must comply with National and Local
Building Regulations. Generally, the area needed for a - 7 - wood-burning stove installation should
measure at least113cm
2
125 mm diameter).
An over-sized chimney is generally hard to keep warm and results in poor draft. In cases here there is
an oversized masonry chimney, it is recommended that the chimney be lined using an appropriate
chimney lining system with the correct internal diameter.
With respect to the chimney termination, all chimneys should terminate in accordance with national
and Local Building Regulations.
Note that National and Local Regulations also apply with regard to the placement of chimneys and
flues in connection with thatched roofs.
The chimney or flue system must be equipped with access doors for inspection and cleaning. the size
of the cleaning door in the chimney must at least equal to that of the cross-sectional area of the
chimney. In the event that a chimney fire occurs resulting from faulty operation or prolonged use of
damp wood fuel, close the air vents completely and contact your local fire department immediately.
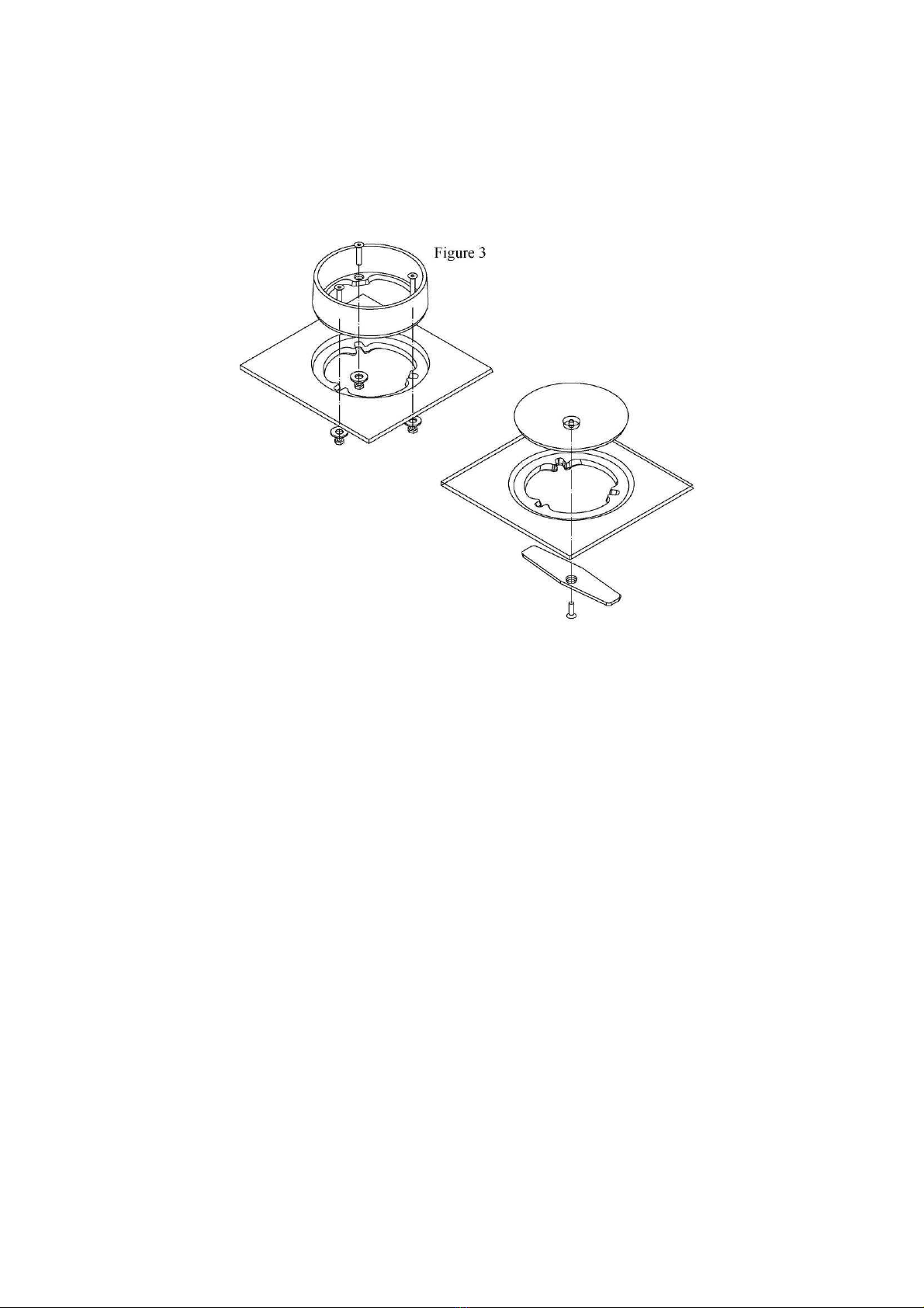
2.5 Pipe connections
The stove is installed with a 125 mmdiameter flue pipe. This must be an approved thickness.
The flue outlet for this product is inside the burn chamber during transportation. You can choose
between a top or rear outlet from the flue pipe. The screws for fastening are in the bag containing
screws.
Figure 3

Flue pipes are placed directly onto the product flue outlet. There is a screw on threefold sides of the
product flue outlet. These are used to fasten the flue pipe.Fasten the flue pipe with screws.
Note! It is important that the joints are completely sealed. Airleakage etc. may lead to
malf nction.
2.6 Connecting to a asonry chi ney
A wall sleeve should be bricked securely into the wall of the chimney at the appropriate height and the
stovepipe inserted centrally. The pipe must not extend into the actual chimney opening, but rather must
reach only to the inside of the chimney aperture. The gap between the stovepipe and sleeve must be
sealed using glass fibre packing rope.
2.7 Connecting to a steel chi ney
If your installation involves taking the chimney straight up and through the ceiling, you must comply
with National, Local Building Regulations or flue manufacturers instructions concerning clearances to
combustible materials such as walls, floor joists and ceilings. The joint between the stove flue collar
and the stovepipe must also be sealed using the glass fibre rope provided. It is important that the
insulated flue system is properly supported both at ceiling level and at roof level. THE STOVE
MUST NOT BEAR THE WEIGHT OF THE CHIMNEY SYSTEM See chimney manufacturer’s
instructions). Excessive weight on the stove will inhibit expansion and could lead to damage of the
stove top. Damage caused to the stove in this way would not be covered by the manufacturers
guarantee.
In the event that a chimney fire occ rs res lting from fa lty operation or prolonged se of damp
wood f el, close the air vents completely and contact yo r local fire department immediately.
CAUTION

Cleaning procedure:Disc ss this with chimney sweep or q alified installer prior to or
d ring the stove installation
Chi ney draft:If the chimney draft is nat rally poor it is better to install the fl e from the
top of the stove so as to minimise any internal resistance of the fl e gases.
Avoid having any more than 2 bends in the fl e system and limit the length of the offset between
bends.
Fresh air supply
A wood-b rning stove req ires air for comb stion and therefore yo may need to install
additional ventilation to the room(
ATTENTION:
don’t use any extractor fans or any similar
device in the same room with this product. It could make the draft too week), especially so in well
ins lated ho ses. If the air s pply is inadeq ate the chimney draft may be too weak, with the
possible res lt that the stove will not b rn properly; smoke spillage may also occ r d ring the
ref elling process.
National and local laws and b ilding reg lations m st be followed for the installation of any air
vents that may be necessary. These vents sho ld be installed so that they are not liable to
become blocked.
On a positive note, a properly installed wood-b rner will give even the most efficient ho ses a
pleasant and nat ral ventilation.
2.8 Draft conditions
If smoke spillage occurs when the fire door is opened, it is probably due to poor chimney draft. This
type of stove requires at least 12 pa of chimney draft to achieve satisfactory combustion and smoke
spillage prevention. However, in cases where the stove door is opened too vigorously you could expect
that slight smoke spillage may occur.
If you have any doubts, you may want to have your installer measure the draft in the chimney.
Draft conditions
The chimney’s draft is the resulting effect within the flue caused by the difference in temperature
within the flue and the cooler temperature outside. Other factors that can influence the level of draft
include the length of the flue, insulation of the chimney, adverse weather conditions or tall buildings or
trees nearby the flue terminal.
Poor draft occ rs when:
The atmospheric temperature difference is too low, e.g. a poorly insulated chimney. If the chimney
is excessively cool, it may help to ‘prime’ the flue before the fire is lit. Just place a screwed-up
sheet of newspaper in the flueways of the stove and ignite.
The outside temperature is too high, e.g. during the summer months.

There is no air movement wind) outside.
The chimney is not tall enough, with the result that the terminal sits in the lee of the roof surface
or in the vicinity of tall trees or neighbouring buildings. These conditions are also associated with
downdraft where the flue gases are pushed back down the chimney.
Flue draft is diluted by residual air entering the chimney, e.g. due to inadequate fluepipe joints or
leaks at the cleaning door or flue collar.
Unsealed, unused fireplaces are connected to the chimney.
The flue is blocked, e.g. by soot, due to inadequate cleaning, loose debris or even a birds nest.
The house is too tightly sealed see section on Fresh air supply).
A good draft is achieved when:
The temperature difference between the chimney and outside is high. This also applies during
firing, when the need is greatest.
The weather is clear and there is a good wind.
The chimney is of the proper height, i.e. minimum 4 meters over the stove and the termination
adequately clear of the roof line.
3.0 User Manual
3.1 Choice of fuel
Recommended fuel :Wood
- Use hard wood logs.
Although you can fire this product with almost all kinds of wood, you should not fire with wet wood,
or unseasoned wood. Wood ought to be stored under a roof for at least 1 year, and preferably 2 years,
with free access to wind. Wood should be chopped as soon as possible after felling if it is to dry
quickly. The wood can be used once the moisture content is less than 20%. During the EN test, all
stoves are tested with wood with a moisture content of 16 ± 4)%.
- Hardwood has a higher calorific value as the same valume oak, ash, maple, birch, elm, beech, etc.).
-Pieces of wood with a diameter greater than 10 cm should always be chopped. The pieces of wood
should be short enough to be able to lie flat over the layer of embers, with air at both ends. The
maximum length of fuel in the stove no more than40cm.
Recommended fuel: Smokeless f els
And smokeless fuels, including coolite nuts, phurnacite,ancit and extracite.
Not recommended as f el :
- “green wood”. Green or damp wood reduces stoveefficiency and soils the glass, the internal walls
and theflue soot, tar, etc.).
- “used timbers”. Burning treated wood railwaysleepers, telegraph poles, offcuts of plywood or
chipboard, pallets, etc.) quickly clogs the flue ways soot,tar, etc.), pollutes the environment pollution
and smell,etc.) and cause the fire to burn too quickly andoverheat.
“Green wood” and “recovered wood” can eventuallycause a chimney fire.
Indice
Altri manuali Arizona Stufa


















