NEDERLANDS
Hartelijk dank voor de aanschaf van dit Beamz product. Neemt U a.u.b. een paar momenten de tijd om deze handleiding zorgvuldig te
lezen, aangezien wij graag willen dat u onze producten snel en volledig gebruikt.
Lees deze handleiding eerst door alvorens het product te gebruiken. Volg de instructies op anders zou de garantie wel eens kunnen
vervallen. Neem ook altijd alle veiligheidsmaatregelen om brand en/of een elektrische schok te voorkomen. Tevens is het ook
raadzaam om reparaties / modificaties e.d. over te laten aan gekwalificeerd personeel om een elektrische schok te voorkomen. Bewaar
deze handleiding ook voor toekomstig gebruik.
- Bewaar de verpakking zodat u indien het apparaat defect is, dit
in de originele verpakking kunt opsturen om beschadigingen te
voorkomen.
- Voordat het apparaat in werking wordt gesteld, altijd eerst een
deskundige raadplegen. Bij het voor de eerste keer inschakelen
kan een bepaalde reuk optreden. Dit is normaal en verdwijnt na
een poos.
- In het apparaat bevinden zich onder spanning staande
onderdelen; open daarom NOOIT dit apparaat.
- Plaats geen metalen objecten en mors geen vloeistof in het
effect. Dit kan leiden tot elektrische schokken of defecten.
- Toestel niet opstellen in de buurt van warmtebronnen zoals
radiatoren etc. en niet op een vibrerende onder- grond plaatsen.
Dek ventilatieopeningen nooit af.
- Het apparaat is niet geschikt voor continu gebruik.
- Wees voorzichtig met het netsnoer en beschadig deze niet. Als
het snoer kapot of beschadigd is, kan dit leiden tot elektrische
schokken of defecten.
- Als u de stekker uit het stopcontact neemt, trek dan niet aan het
snoer, maar aan de stekker.
- Om brand of elektrische schok te voorkomen, dient u dit
apparaat niet bloot te stellen aan regen of vocht.
- Verwijder of plaats een stekker nooit met natte handen resp. uit
en in het stopcontact.
- Indien zowel de stekker en/of netsnoer als snoeringang in het
apparaat beschadigd zijn dient dit door een vakman hersteld te
worden.
- Indien het apparaat zo beschadigd is dat inwendige (onder)delen
zichtbaar zijn mag de stekker NOOIT in het stopcontact worden
geplaatst en het apparaat NOOIT worden ingeschakeld. Neem in
dit geval contact op met de dealer.
- Sluit het apparaat nooit op een dimmer aan.
- Reparatie aan het apparaat dient te geschieden door een
vakman of een deskundige.
- Sluit het apparaat alleen aan op een 220-240VAC / 50Hz
(geaard) stopcontact, verbonden met een 10-16A
meterkastgroep.
- Bij onweer altijd de stekker uit het stopcontact halen, zo ook
wanneer het apparaat voor een langere tijd niet gebruikt wordt.
Stelregel: Bij geen gebruik stekker verwijderen.
- Als u het apparaat lang niet gebruikt heeft en het weer wil
gebruiken kan er condens ontstaan; laat het apparaat eerst op
kamertemperatuur komen alvorens het weer in werking te
stellen.
- Apparaat nooit in vochtige ruimten en buiten gebruiken.
- De behuizing wordt zeer warm, raak deze dan ook niet aan bij
gebruik en direct na gebruik..
- Om ongevallen in bedrijven te voorkomen moet rekening
worden gehouden met de daarvoor geldende richtlijnen en
moeten de aanwijzingen/waarschuwingen worden gevolgd.
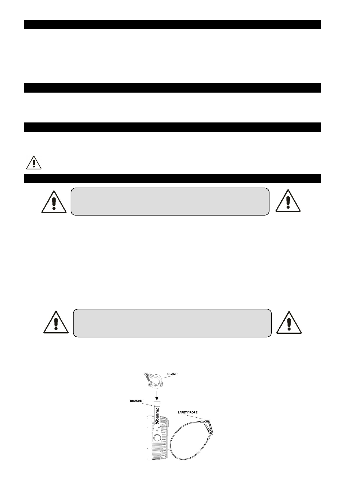
- Zorg voor een extra veiligheidsketting als het product op
hoogte wordt gehangen. Gebruik een truss-systeem met
montagehaak. Ga nooit onder het product staan bij ophanging.
Monteer minimaal 50 cm van brandbare objecten en laat
tenminste 1meter vrij aan weerszijden voor een deugdelijke
ventilatie.
- Dit apparaat bezit een hoge intensiteit LED; kijk nooit in de
LED om oogbeschadigingen te voorkomen.
- Het apparaat buiten bereik van kinderen houden. Bovendien
mag het apparaat nooit onbeheerd gelaten worden
- Gebruik geen schoonmaakspray om de schakelaars te
reinigen. Restanten van deze spray zorgen ervoor dat smeer
en stof ophopen. Raadpleeg bij storing te allen tijde een
deskundige.
- Zorg dat uw handen schoon zijn tijdens het gebruik.
- Gebruik geen overmatige kracht bij het bedienen van het
apparaat.
- Bij een ongeval met dit product altijd eerst een deskundige
raadplegen alvorens opnieuw te gebruiken.
- Tracht het apparaat niet schoon te maken met chemische
oplossingen. Dit kan de lak beschadigen. Gebruik een droge
doek om schoon te maken.
- Blijf uit de buurt van elektronische apparatuur die
bromstoringen zouden kunnen veroorzaken.
- Bij reparatie dienen altijd originele onderdelen te worden
gebruikt om onherstelbare beschadigingen en/of ontoelaatbare
straling te voorkomen.
- Schakel eerst het apparaat uit voordat u het netsnoer
verwijdert. Verwijder netsnoer en aansluitsnoeren voordat u
het apparaat gaat verplaatsen.
- Zorg ervoor dat het netsnoer niet beschadigd/defect kan raken
wanneer mensen erover heen lopen. Het netsnoer vóór ieder
gebruik controleren op breuken/defecten!
- In Nederland/België is de netspanning 220-240Vac/50Hz.
Indien u reist (en u neemt het apparaat mee) informeer dan
naar de netspanning in het land waar u verblijft.
Deze markering wordt weergegeven om u erop attent te maken dat een levensgevaarlijke spanning in het product aanwezig is en dat bij
aanraking van deze delen een elektrische schok wordt verkregen.
Deze instructiemarkering wordt weergegeven om u erop te wijzen dat de instructie zeer belangrijk is om te lezen en/of op te volgen.
KIJK NOOIT DIRECT IN DE LENS. Dit kan uw ogen beschadigen. Daarnaast dienen epileptici rekening te houden met de effecten die
dit toestel creëert. Dit apparaat is CE goedgekeurd ; er mogen geen veranderingen modificaties worden doorgevoerd ; deze kunnen de
CE status te niet doen met alle gevolgen van dien. Tevens vervalt de garantie!
OPMERKING: Om zeker te zijn van een correcte werking, dient u dit apparaat in een ruimte te gebruiken waar de temperatuur tussen de
5°C/41°F en 35°C/95°F ligt.
Raadpleeg eventueel www.wecycle.nl en/of www.vrom.nl v.w.b. het afdanken van elektronische apparaten in het kader van de
WEEE-regeling. Vele artikelen kunnen worden gerecycled, gooi ze daarom niet bij het huisvuil maar lever ze in bij een gemeentelijk
depot of uw dealer. Lever ook afgedankte batterijen in bij uw gemeentelijk depot of bij de dealer, zie www.stibat.nl