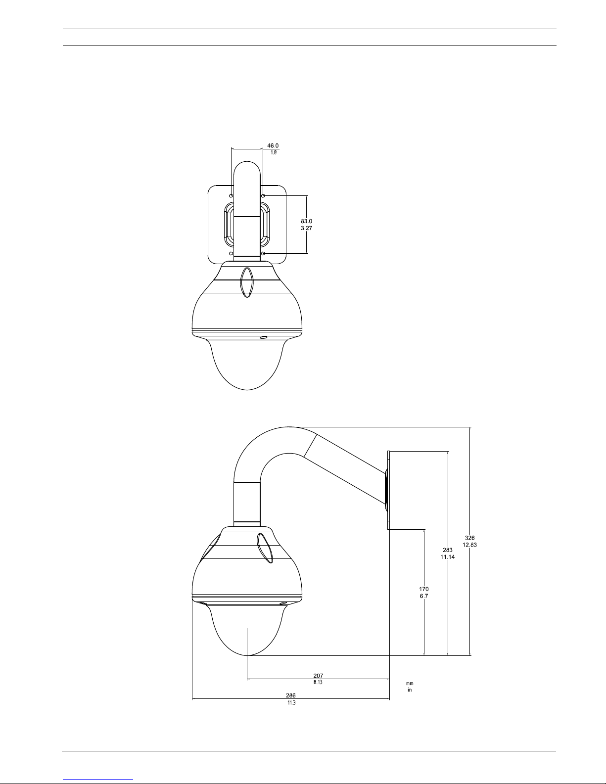
FLEXIDOME Wall and Pipe Mounts Safety | en 3
Bosch Security Systems Installation manual | v4.0 | 2014.03
1Safety
1.1 Safety precautions
1.2 Important safety instructions
Read, follow, and retain for future reference all of the following safety instructions. Heed all
warnings on the unit and in the operating instructions before operating the unit.
1. Safety check - Safety checks should be performed upon completion of service or repairs
to the unit to ensure proper operating condition.
2. Installation - Install in accordance with the manufacturer's instructions and in
accordance with applicable local codes.
3. Attachments, changes or modifications - Only use attachments/accessories specified by
the manufacturer. Any change or modification of the equipment, not expressly approved
by Bosch, could void the warranty or, in the case of an authorization agreement, authority
to operate the equipment.
1.3 Important notices
Environmental statement - Bosch has a strong commitment towards the environment. This
unit has been designed to respect the environment as much as possible.
More information
For more information please contact the nearest Bosch Security Systems location or visit
www.boschsecurity.com
WARNING!
Medium risk: Indicates a potentially hazardous situation.
If not avoided, this could result in minor or moderate bodily injury.
CAUTION!
Low risk: Indicates a potentially hazardous situation.
If not avoided, this could result in property damage or risk of damage to the unit.
Disposal - Your Bosch product was developed and manufactured with high-quality material
and components that can be recycled and reused. This symbol means that electronic and
electrical appliances, which have reached the end of their working life, must be collected and
disposed of separately from household waste material. Separate collecting systems are
usually in place for disused electronic and electrical products. Please dispose of these units
at an environmentally compatible recycling facility, per European Directive 2002/96/EC.
WARNING!
For a secure installation use stainless steel or zinc plated fasteners.
CAUTION!
If these mounts are used outdoors ensure that the equipment they are used with is also
suitable for outdoor use.