
6. Use eye and ear protection. Always wear ANSI approved impact safety goggles. Wear a full face shield
if you are producing metal filings or wood chips. Wear an ANSI approved dust mask or respirator when
working around metal, wood, and chemical dusts and mists.
7. Dress properly. Do not wear loose clothing or jewelry as they can be caught in moving parts. Protective,
electrically non-conductive clothes and non-skid footwear are recommended when working. Wear
restrictive hair covering to contain long hair.
8. Stay alert. Watch what you are doing, use common sense. Do not operate any tool when you are tired.
9. Check for damaged parts. Before using any tool, any part that appears damaged should be carefully
checked to determine that it will operate properly and perform its intended function.
10. Replacement parts and accessories. When servicing, use only identical replacement parts. Use of any
other parts will void the warranty. Only use accessories intended for use with this tool. Approved
accessories are available from Harbor Freight Tools.
11. Do not operate tool if under the influence of alcohol or drugs. Read warning labels on prescriptions
to determine if your judgment or reflexes are impaired while taking drugs. If there is any doubt, do not
operate the tool.
12. Observe area conditions. Do not use product in damp or wet locations. Do not expose to rain.
13. Do not overreach. Keep proper footing and balance at all times. Do not reach over or across the
Log Splitter. Never place hands or feet between the log and splitter wedge or between the log and ram
during the forward or reverse stroke.
14. Never leave the product unattended while in operation.
15. Remove adjusting keys and wrenches. Check that keys and adjusting wrenches are removed from the
tool or machine work surface before operating.
16. Never place your hands or other body parts near a hydraulic fluid leak. Never check for a leak with
your hands or other body parts. High-pressure fluid can be forced under your skin resulting in serious
injury.
17. Never attempt to split two logs on top of each other.
Warning: The warnings, cautions, and instructions discussed in this instruction manual cannot cover all
possible conditions and situations that may occur. It must be understood by the operator that
common sense and caution are factors which cannot be built into this product, but must be
supplied by the operator.
Warning: This product contains or produces a chemical known to the State of
California to cause cancer and birth defects (or other reproductive harm).
(California Health & Safety Code 25249.5 et seq.)
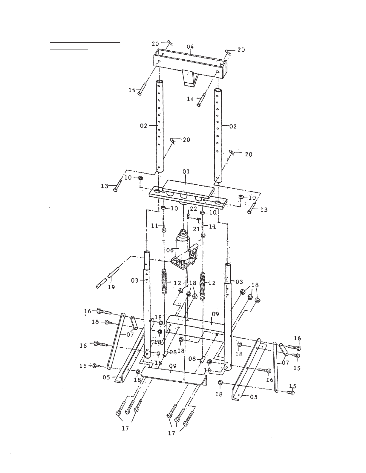
Assembly
Your Log Splitter will require complete assembly prior to operation. It is important that you read the entire
manual to become familiar with the unit BEFORE you use the Log Splitter. Before assembling your Log Splitter
be sure that you have all parts described in the Parts List.
When assembling your Log Splitter, it will be helpful to refer each of the operational Figures as well as to the
Parts List and Assembly Diagram on the last pages of this manual.
Assemble attachments based on the intended use of the Log Splitter.
Mounting Surface: The mounting surface must be flat, level and capable of supporting the weight of the Log
Splitter combined with the materials to be split.
#42696 Page 3