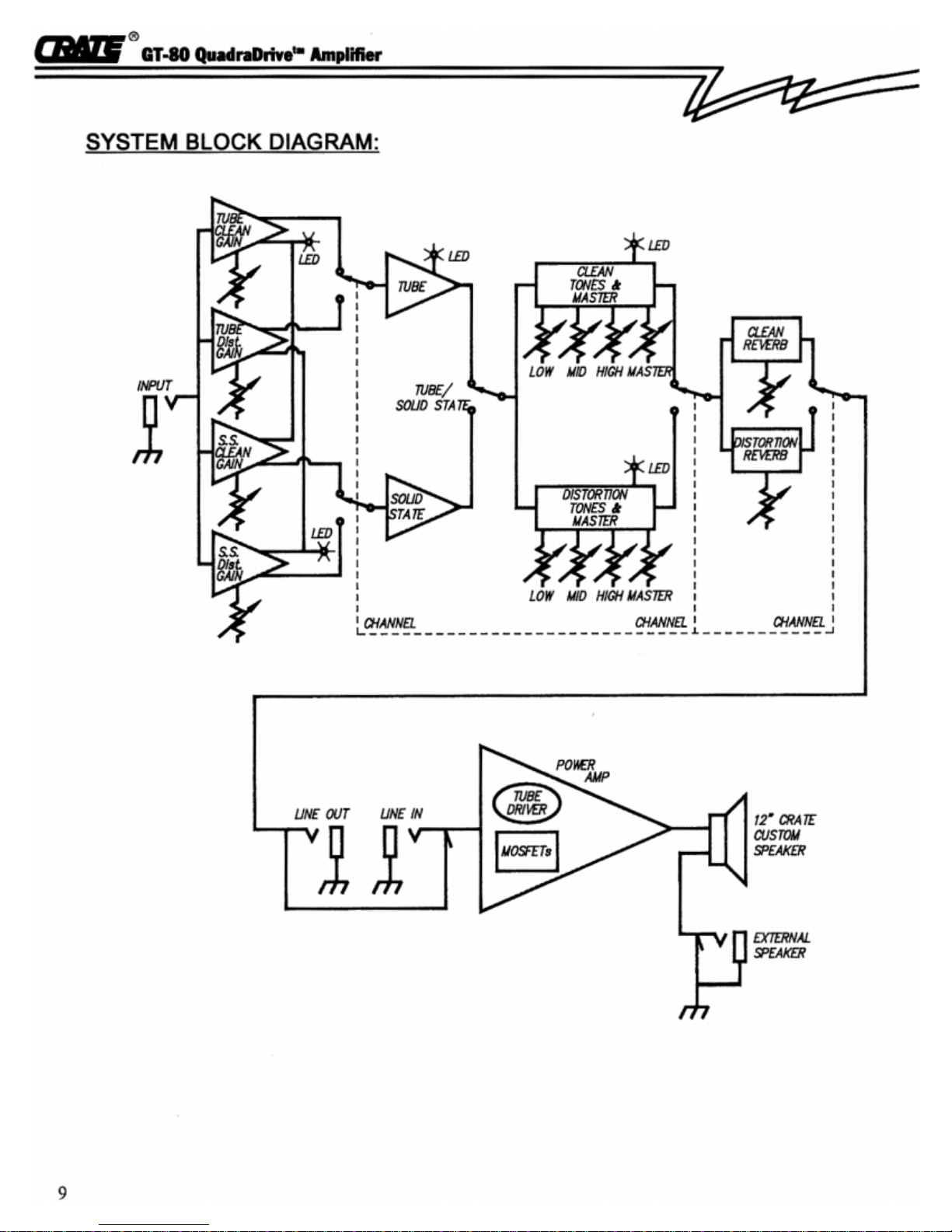
Crate QuadraDrive GT80 Manuale utente
Altri manuali Crate Amplificatore

Crate
Crate GX-130C Manuale utente

Crate
Crate CA 60D Manuale utente

Crate
Crate G200CXL Manuale utente

Crate
Crate CA-1P Manuale utente

Crate
Crate VC-50H Manuale utente

Crate
Crate BX-80 Manuale utente

Crate
Crate B160XL Manuale utente

Crate
Crate KXB25 Manuale utente

Crate
Crate BFX15 Manuale utente

Crate
Crate BFX100T Manuale utente

Crate
Crate Amplifier G1500 Manuale utente

Crate
Crate G-20 Manuale utente

Crate
Crate Pro Audio SPA-200 Manuale utente

Crate
Crate CA10 Manuale utente

Crate
Crate Sprint CR-280 Istruzioni operative

Crate
Crate QuadraDrive GT-80D Manuale utente

Crate
Crate CA30 DG Manuale utente

Crate
Crate Quadradrive GT-200 Series Manuale utente

Crate
Crate KX-220 Manuale utente

Crate
Crate LIMO TX50DE Manuale di installazione e funzionamento































