
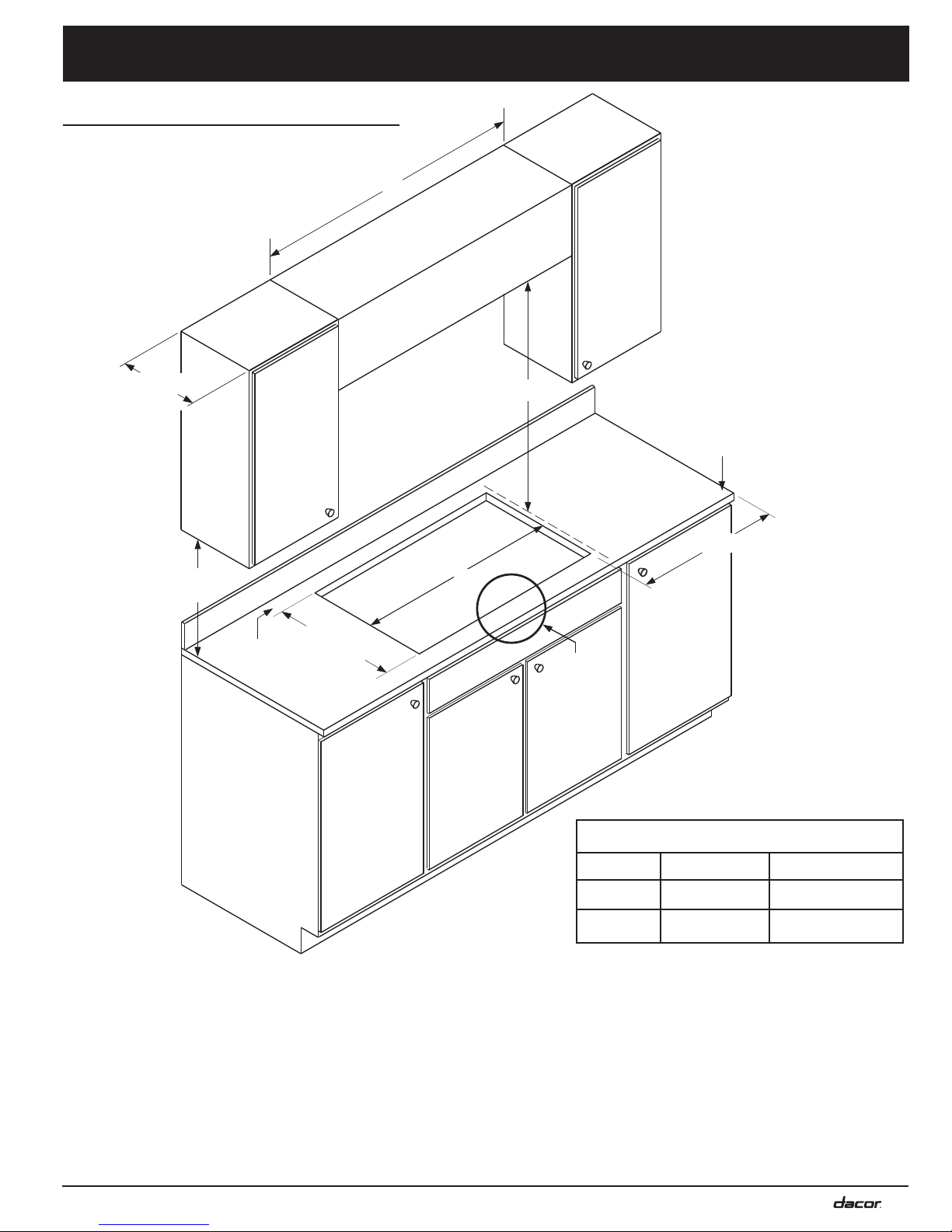
2
Important Safety Instructions
• Read the accompanying use and care manual before
operating this appliance.
• Keep packaging materials away from children. Plastic
sheets and bags can cause suffocation.
• If you receive a damaged product, immediately con-
tact your dealer or builder. Do not install or use a
damaged appliance. Do not install or use the appli-
ance if the conduit is damaged.
• This appliance must be properly installed and ground-
ed by a qualified installer according to these installa-
tion instructions prior to use. The installer must show
the customer the location of the circuit breaker panel
or fuse box so that they know where and how to turn
off power to the cooktop. Dacor is not responsible for
the cost of correcting problems caused by improper
installation. The owner is responsible to make sure
this appliance is properly installed.
• Do not operate the cooktop before it is completely
installed in the countertop according to these instruc-
tions.
• Do not install, repair or replace any part of the
cooktop unless specifically recommended in the litera-
ture accompanying it. A qualified service technician
must perform all other service.
• Before performing any type of service or installation,
make sure that power to the appliance is turned off at
the circuit breaker panel or fuse box.
• Only use the cooktop for cooking tasks expected of a
home appliance as outlined in the literature accompa-
nying it. This cooktop is not intended for commercial
or industrial use.
• Do not use corrosive chemicals or vapors on or in the
vicinity of this appliance.
• Do not climb on any part of the appliance.
• Do not leave children or pets alone or unattended in
the area around the cooktop. Do not allow children to
play with the controls.
• Do not store items of interest to children above or
on top of the cooktop. Children could be burned or
injured while climbing on the appliance.
• Do not tamper with the controls. Do not adjust or alter
any part of the cooktop unless specifically instructed
to do so in this manual.
• To avoid a fire hazard, do not hang flammable or heat
sensitive objects over the cooktop.
WARNING
General Safety Precautions
To reduce the risk of fire, electric shock, serious injury or death when using your appliance, follow basic safety precau-
tions, including the following:
• Keep flammable items, such as paper, cardboard,
plastic, aluminum foil and cloth away from hot sur-
faces. Do not put such items on the cooktop. Do not
allow pot holders to touch hot surfaces.
• Do not place anything other than cooking utensils on
top of the cooktop. Do not use the cooktop as a table
or shelf.
• If the cooktop is near a window, do not use long cur-
tains as window treatment. The curtains could blow
over the cooktop and create a fire hazard.
• DO NOT TOUCH THE SURFACES OF THE
COOKTOP DURING OR IMMEDIATELY AFTER USE.
After use, make sure these surfaces have had suffi-
cient time to cool before touching them.
• Do not wear loose or hanging apparel while using the
cooktop. Do not allow clothing to come into contact
with hot surfaces and the surrounding areas during
and immediately after use.
• Do not heat unopened food containers such as baby
food jars and cans or eggs. Pressure build up may
cause the container to burst and cause injury.
• Do not allow pans to boil dry.
• Clean the cooktop before using it for the first time
according to the use and care manual.
• Non-stick coatings, when heated, can be harmful to
birds. Remove birds to a separate, well-ventilated
room during cooking.
WARNING