
CR-2000 Instructions Revision 1.3 07/07/2014
The CR-2000 is an inductive contact-less card reader in a metal water proof
housing that also acts as a keypad control. The CR-2000 provides safe secure
access control for any combination of 2000 users by the use of the Mifare pass
card or individual user pass codes.
The CR-2000 has low power consumption (30mA standby) luminous keypad
for nighttime use, Short circuit protection, tamper alarm output, and the
Wiegand output for monitoring of user access.
The CR-2000 may also be used stand alone for access control of doors, gate
and barrier arms.
Low 30 mA standby current
Luminous keypad: for nighttime operation
2000 user support
Independent password support (may use code or card for access)
Keypad user delete (for lost or stolen cards or codes)
Output short circuit protection
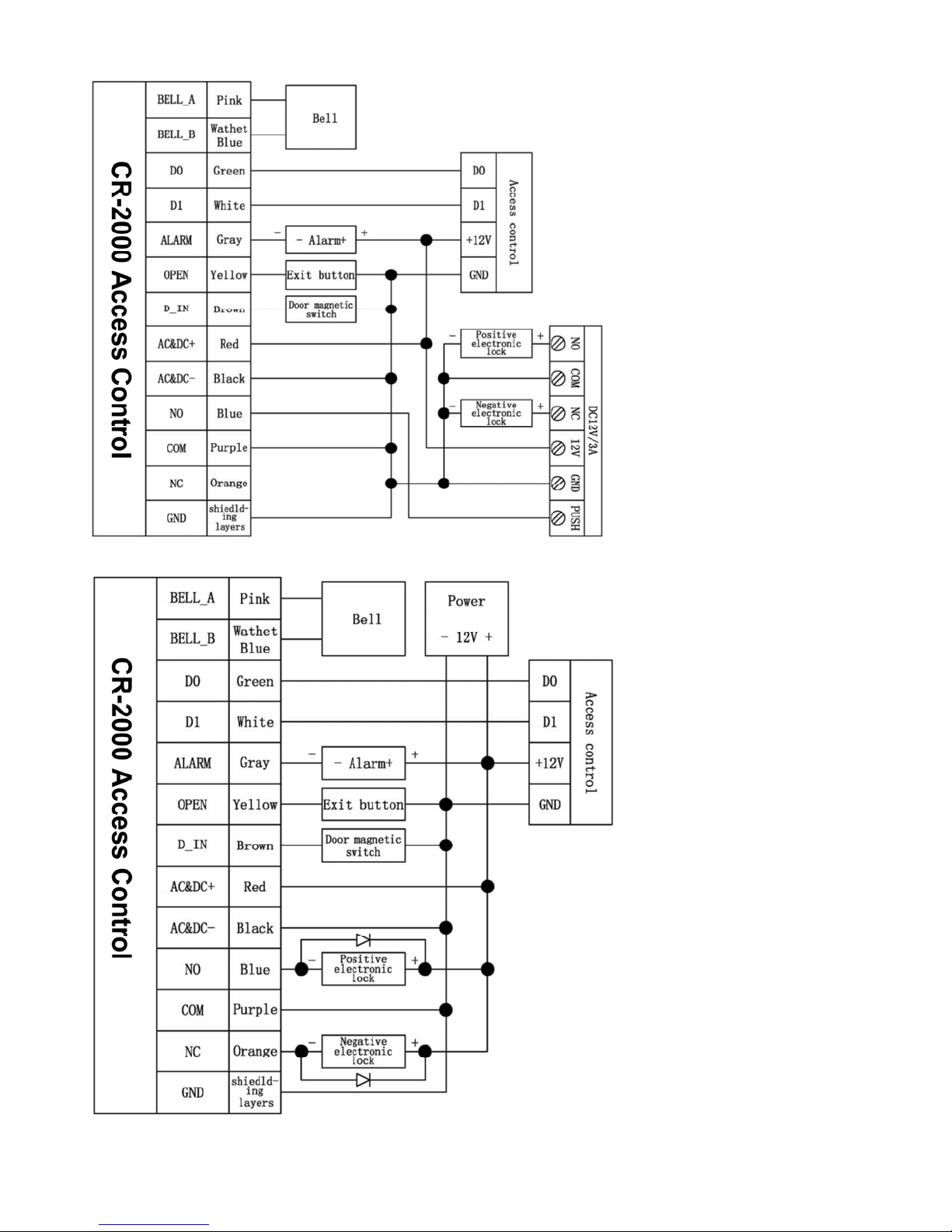
Wiegand output: Wg26 for cards
Tamper alarm output
Doorbell button: Independent from circuit works with any doorbell
User pass card code change (allows user to use code they can
remember in case card is lost or forgotten)
Product Overview
Features
Technical Specifications
Operating Voltage 9-25 VDC
Current draw standby < / = 30 mA
Read range 1.1 in (3cm) – 3.1in (8cm)
Capacity (users) 2000 card and or pass codes
Operating Temperature -13oF (-25oC) to 140oF (60oC)
Operating Humidity 10% ~ 90%
Electric Lock output < / = 3A
Alarm output < / = 20A
Short circuit protection time < / = 100 S
Activation time 0 ~ 99 seconds (adjustable)
Size 4.74in (120mm) x 2.2in (56mm) x 0.71in (18mm)
Certifications CE