
SM1-HS Microphone Instructions
The SM1-HS is a high quality, 12-24VDC powered, pre-amplified, tamper proof, weather proof
microphone designed to connect to DRVs, IP cameras, etc. Note- the audio output of the
SM1-HS is switch selectable “line level” (0db) or “microphone level” (-30db).
Microphone
Plug the ML1-HS microphone into the “mic in” jack of the SM1-PA pre-amplifier. Do not mount the
ML1-HS microphone near air conditioning vents, light fixtures or electrical equipment.
The ML1-HS microphone should be placed as close as possible to the subject of interest. The
ML1-HS microphone is useable in the range of 3-25 feet but is dependent on the level of
background noise in the area. Experimentation in the environment will determine what distances
work best.
Cable Run
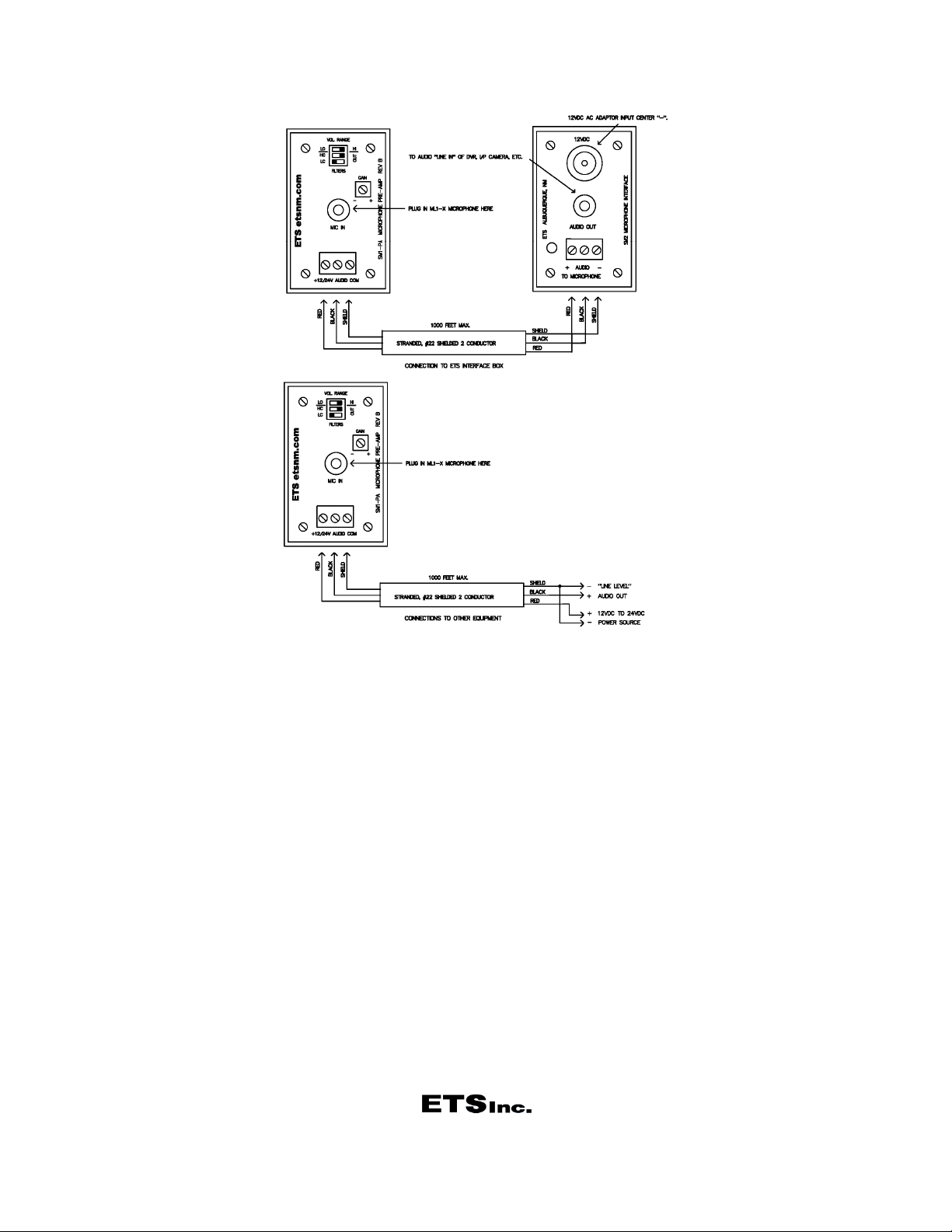
Run a 22 gauge, stranded, two conductor shielded cable between the SM1-HS pre-amplifier and
the monitoring device. Keep the cable run distance under 1,000 feet and away from AC power
sources, light fixtures and electrical equipment. Connect power to the + terminal, the audio signal
to the “audio” terminal and ground to the – terminal. The Ground of the power and audio signal
must share a common ground for proper operation. See Figure 1 for connection diagram.
Mounting
The SM1-HS can be mounted in a ceiling or panel mounted.
Adjusting the SM1-HS Gain
The SM1-HS output level is set by selecting the desired volume range and adjusting the gain
control.
The “Volume Range” switch should be set to the “LO” position when using the SM1-HS with IP
cameras that utilize “microphone inputs” also known as “Mic. Level” inputs. This sets the
maximum gain of the SM1-HS’s pre-amp to x14. The switch should be placed in the “HI” position
when using IP cameras with “Line level” inputs of DVRs and I/P cameras. This sets the maximum
gain of the SM1-HS’s pre-amp to x196.
The SM1-HS is shipped with the gain set at midrange. If the sound at the “head end” is distorted,
rotate the control towards the – mark (counter-clockwise). If the volume at the “head end” is too
low, rotate the control towards the + mark (clockwise).
Setting the SM1-HS Hi-Cut/Lo-Cut Switches
The normal frequency response of the SM1-HS microphone is 500-13Khz. When both switched
“On”, The “HI Cut” and “Lo Cut” filters set the SM1-HS’s frequency response to 900-6Khz .
Enabling one or both of the filters is useful when background noise needs to be further reduced
and intelligibility of speech emphasized. We recommend experimenting with the jumper settings
to achieve the best acoustic result for your application.