6 TS0870x-series Installation & Programming Guide 4.0
Using tamper functionality
The reader has an optical tamper. When connected to the LAN, tamper data is transmitted to the control panel
along with system data. If the TS0870D is mounted onto a compatible mounting block (instead of flush mounting),
then it may be necessary to disable the RAS tamper. Refer to programming option 17—Tamper Options on page 14
for details.
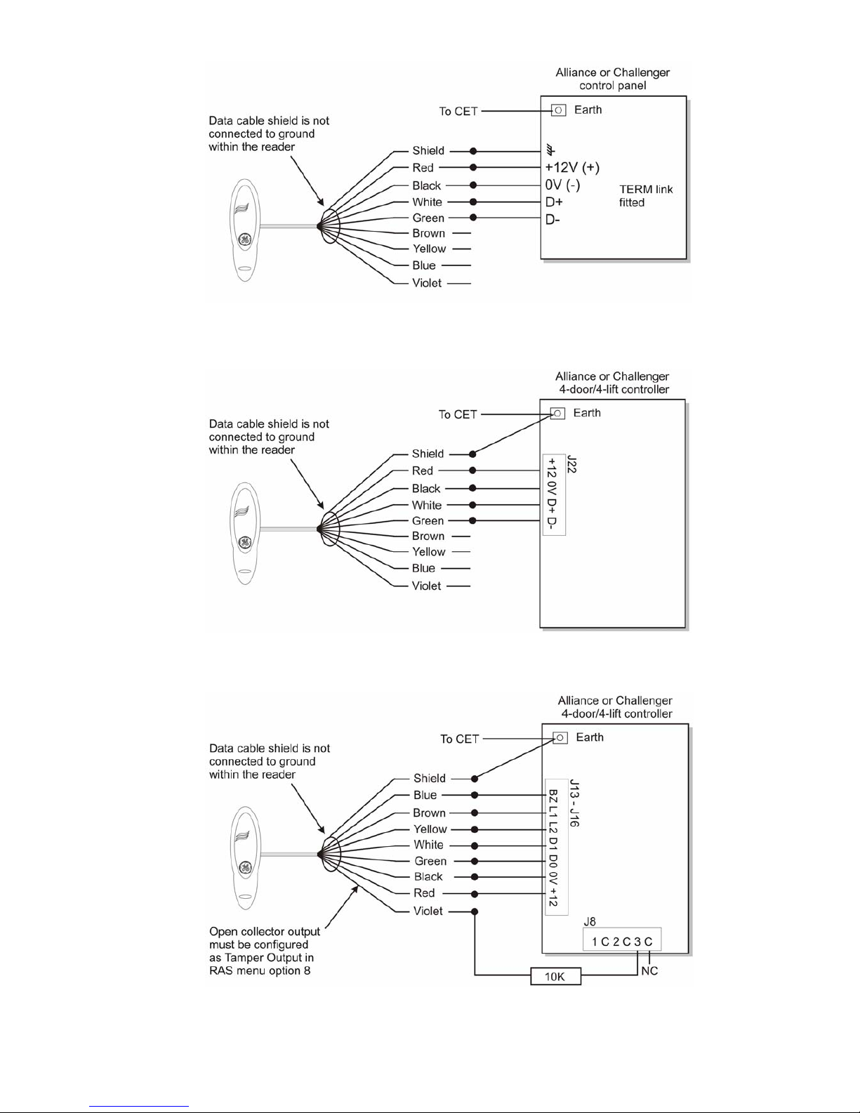
An external open collector output (violet wire) may be configured as a tamper control for offline mode.
For TS0870x readers with firmware version V07 or later, the watch dog option may be used to monitor the tamper
for offline mode. Wiegand watch dog data is transmitted when the tamper is sealed. See option 7—Watch Dog on
page 12 for details.
Wiring details
Colour Application Colour Application
Red +12 V nominal (9 to 14 VDC supply) Black 0V (DC supply ground)
Brown Configurable via programming of RAS menu
option 2— LEDs Off-line. When set to two-wire
control, the brown wire controls the red LED:
• Wire grounded — red LED on.
• Wire open or at +5 V to +14 V — red LED
off.
When set to one-wire control, the brown wire
controls both the red and the blue LEDs:
• Wire grounded — blue LED on.
• Wire open — both LEDs off.
• Wire at +5 V to +14 V — red LED on.
Yellow Configurable via programming of RAS menu
option 2— LEDs Off-line. When set to two-wire
control, the yellow wire controls the blue LED:
• Wire grounded — blue LED on.
• Wire open or at +5 V to +14 V — blue
LED off.
Configurable via programming of RAS menu
option 10—RTE (Egress).
• To implement RTE only, connect the
yellow wire to a normally open push
button and select “Door Relay” in option
8—O/C Output.
• To implement RTE + Arm/Disarm,
connect the yellow wire to a TS0064
(Expanded Button Interface) and select
“Door Relay” in option 8—O/C Output.
Green D0/D– /Clock, may be used for:
• D0 (Wiegand data)
• D– (RS485 data)
• Magnetic stripe clock
Absolute maximum voltage, +12 V @ 10 mA.
Blue Buzzer/beeper, may be used for offline buzzer
control:
• Wire open or +5 V to +12 V — buzzer off
• Wire grounded (0V) — buzzer on.
White D1/D+ /Data, may be used for:
• D1 (Wiegand data)
• D+ (RS485 data)
• magnetic stripe data.
Absolute maximum voltage, +12 V @ 10 mA.
Violet Open collector — Configurable as door relay,
tamper output, or magnetic stripe data
present.
This is a low current output and must not be
used to directly energize high current door
openers. Absolute maximum, 14 V @ 50 mA.
Connections
Check the latest control panel or 4-door/4-lift intelligent access controller installation instructions to ensure that the
reader is installed in compliance with Australian ACA wiring and earthing requirements. A Communications Earth
Terminal (CET) must be used (see diagrams).
The following connection diagrams depict a TS0870 reader. Details are the same for TS0870H and TS0870D models.
LAN connection (D+ and D-)
The reader is connected to the Challenger or Alliance panel via the RS485 LAN, with a LAN cable length of up to 1.5
km from the control panel or the four-door controller. It is recommended to use 2-pair twisted, shielded data cable
(Beldon 8723).
The shield of any LAN cable must be connected to system ground at one end only. The reader is not provided with
an Earth connection for this purpose. If the LAN is ‘daisy-chained’ to the reader, ensure that the shield of the cable is
jointed to provide continuity of data cable shield.
• The white wire is the D+ (data positive) connection of the LAN data bus.
• The green wire is the D- (data negative) connection of the LAN data bus.
• Connect the end-of-line resistor between the green and white wires if the reader is the last device on the LAN.