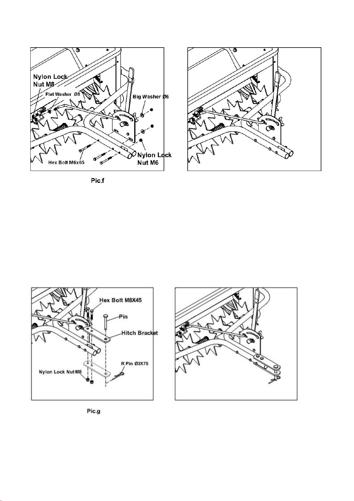
Fase 8
FUNZIONAMENTO
Come usare lo spandiconcime a punte?
1. Stabilire approssimativamente i metri quadrati dell’area da coprire e stimare la quantità
necessaria di concime o di seme.
2. Spostare lo spandiconcime nella zona da lavorare.
3. Allentare il dado a farfalla di plastica e regolare come desidera. Ristringere il dado.
4. Assicurarsi che la leva di comando del flusso sia in posizione “OFF”, riempire la tramoggia
eliminando i grumi.
5. Abbassare le punte di aerazione in posizione di lavoro.
6. Mettere in moto lo spandiconcime e poi spostare la leva di comando del flusso nella
posizione “ON” al passare sul prato. La velocità di traino consigliata è di 5 km/h.
7. Non curvare bruscamente con le punte nel terreno.
8. Alzare le punte di aerazione in posizione di trasporto quando si passa su asfalto o
calcestruzzo.
9. Non arieggiare se il terreno è estremamente duro o secco. Se il terreno è troppo secco,
bagnarlo o innaffiarlo per una o due ore prima dell’uso.
10.Non arieggiare se il terreno è troppo bagnato (fangoso).