Gira push-button/2-way low voltage Manuale utente

Dimmer push-button/2-way low voltage
Order No. : 2262 00
Operating instructions
1 Safety instructions
Electrical equipment may only be installed and fitted by electrically skilled persons.
Serious injuries, fire or property damage possible. Please read and follow manual fully.
Danger of electric shock. Always disconnect before carrying out work on the devise or
load. At the same time, take into account all circuit breakers that supply dangerous
voltage to the device or load.
Danger of electric shock. Device is not suitable for disconnection from supply voltage.
Fire hazard. For operation with inductive transformers, each transformer must be fused
on the primary side in accordance with the manufacturer's instructions. Only safety
transformers according to EN 61558-2-6 may be used.
Do not connect any LED or compact fluorescent lamps that are not specifically suitable
for dimming. Device can be damaged.
Do not connect any lights with integrated dimmers. Device can be damaged.
These instructions are an integral part of the product, and must remain with the end
customer.
2 Device components
Figure 1: Device components
(1) Dimmer
(2) Frame
(3) Central plate
(4) Control button
(5) Fuse holder
(6) Measuring points for voltage test
(7) Release lever for plug terminal
(8) Setter, minimum brightness
1/6
32534532 20.12.2013
Dimmer push-button/2-way low voltage
10499194 I00

3 Function
Intended use
- Switching and dimming of incandescent lamps, HV halogen lamps as well as dimmable
inductive transformers with halogen or LED lamps.
- Switching and dimming dimmable HV-LED lamps or compact fluorescent lamps.
- Installation in appliance box according to DIN 49073.
i No mixed-load operation of HV LED and compact fluorescent lamps. All other specified
load types can be used in mixed-load operation.
i No operation with Tronic transformers.
i HV-LED and compact fluorescent lamps generate high pulsed currents, when they are
operated in the leading edge phase control. Depending on the design and power rating of
these lamps, the connected load of the specified values could vary.
Product characteristics
- Phase cut-on dimming principle
- Short-circuit protection through fine-wire fuse
- Electronic over-temperature protection
- Changeover switch possible in combination with two dimmers
- Control output A (9) (Figure 2) to output the switching state of the device for automatic
power disconnection or relay
i Do not use control output A as a load output.
i Flickering of the connected lamps due to undershoot of the specified minimum load or
through centralised pulses from the power stations and soft humming of the device due to
the radio interference suppressor. These are not device faults.
4 Operation
Switch light
o Press the control button.
Adjust the brightness
Light is switched on.
o Turn the control button in the clockwise direction.
The light gets brighter up to maximum brightness.
o Turn the control button in the anti-clockwise direction.
Light gets darker to minimum brightness.
5 Information for electrically skilled persons
5.1 Fitting and electrical connection
DANGER!
Electrical shock when live parts are touched.
Electrical shocks can be fatal.
Before working on the device, disconnect the power supply and cover up live
parts in the working environment!
32534532 10499194 I00 20.12.2013 2/6
Dimmer push-button/2-way low voltage

Connecting and mounting the dimmer
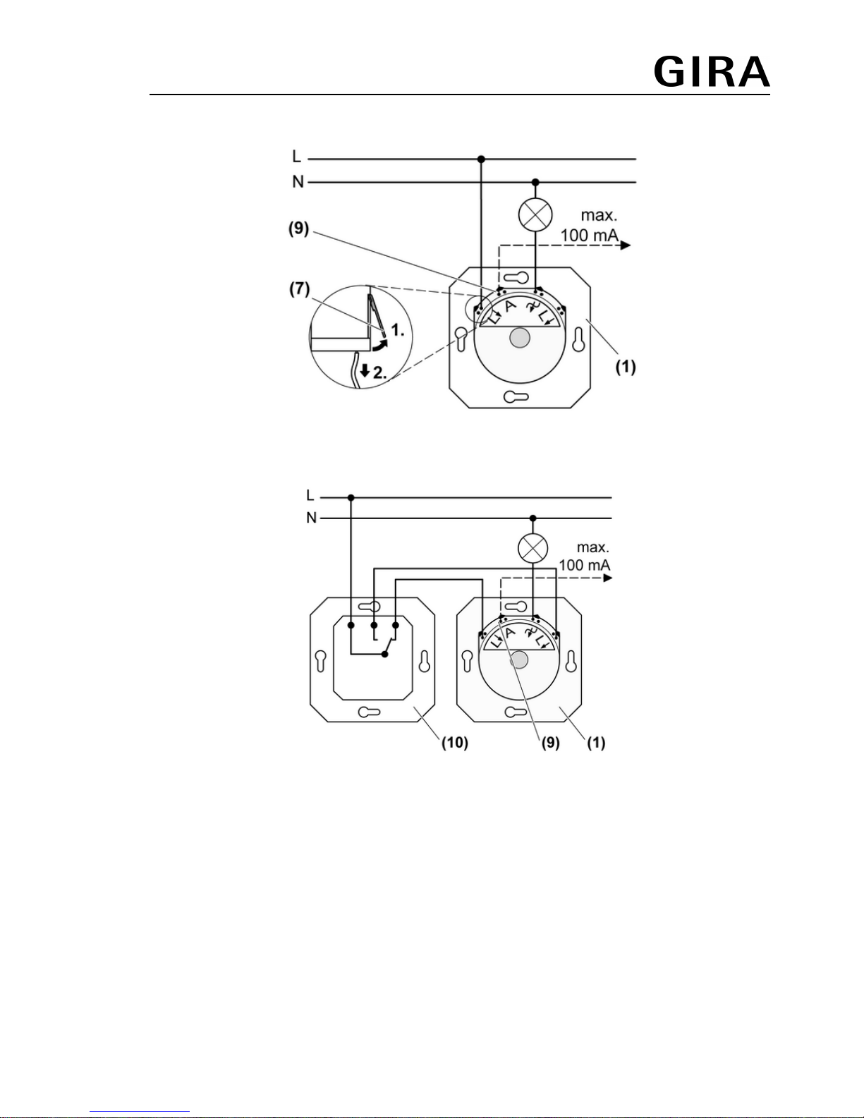
Figure 2: Connection diagram
Figure 3: Changeover switch
o Remove approx. 15 mm of insulation from the connecting cables.
o Connect the dimmer (1) according to the connection diagram (Figure 2). Alternatively,
install with a changeover switch (10) (Figure 3).
i No changeover switch possible with two dimmers.
i HV-LED lamps and compact fluorescent lamps: Only connect lamps of one manufacturer
and of the same type.
i Connect 16 A maximum of 300 W HV LED lamps or compact fluorescent lamps per circuit
breaker.
i Pull the connecting cable out of the push terminal (7).
o Fit dimmer in appliance box, connection terminals must be at the bottom.
o Mount the frame and the central plate. Attach the control button.
32534532 10499194 I00 20.12.2013 3/6
Dimmer push-button/2-way low voltage

5.2 Commissioning
Setting the minimum brightness
The minimum brightness can be set by an electrically skilled person as required.
DANGER!
Electrical shock when live parts are touched.
Electrical shocks can be fatal.
Use only insulated tools to set the minimum brightness! Cover up live parts in
the working environment.
The device is connected as described above and fitted in an appliance box. The frame, central
plate and control button are not fitted.
o Switch on mains voltage.
o Press the rotary axle to switch on the lighting and turn it left to the minimum brightness.
o Adjust minimum brightness by turning the adjuster (8) (Figure 1).
i According to EN 60669-2-1 (01.2000), lamp brightness should be detectable over the
whole load area, with darkness at – 10 % rated voltage.
o Switch off the mains voltage.
o Mount the frame and the central plate. Attach the control button.
o Switch on mains voltage again.
6 Appendix
6.1 Technical data
Rated voltage AC 230 / 240 V ~
Mains frequency 50 Hz
Ambient temperature +5 ... +25 °C
Fine-wire fuse D 3.15 H 250
Connected load at 25 °C
i Power specifications including transformer power dissipation.
Incandescent lamps 20 ... 500 W
HV halogen lamps 20 ... 500 W
HV-LED lamps typical 3 ... 100 W
Compact fl lamp. typical 3 ... 100 W
Inductive transformers 20 ... 500 VA
i Operate inductive transformers with at least 85% nominal load.
32534532 10499194 I00 20.12.2013 4/6
Dimmer push-button/2-way low voltage

Figure 4: Load curve of mixed loads
i Mixed-load operation of LED lamps or compact fluorescent lamps with other permissible
loads possible. Note load curve (Figure 4).
Power reduction
when surface-mounted 20 ... 450 W/VA
per 5°C in excess of 25°C -10 %
when installed in wooden or dry construction
walls
-15 %
when installed in multiple combinations -20 %
Connection
single stranded 1.0 ... 2.5 mm²
Power boosters See power booster instructions
Control output A
Current carrying capacity 100 mA
The icons used to label the dimmer load show the load type that can be connected to
a dimmer and the electric behaviour of a load:
R = ohmic, L = inductive, HV LED = dimmable HV-LED lamps
6.2 Troubleshooting
Connected lamps switch off in the lowest dimming position or flicker
Cause: The set minimum brightness is too low.
Increase minimum brightness.
Connected lamps flicker
Cause: Lamps are not dimmable.
Check manufacturer's instructions.
Exchange lamps for another type.
Connected lamps do not switch on in the lowest dimming position or only after a delay
Cause: The set minimum brightness is too low.
Increase minimum brightness.
Connected lamps in the lowest dimming position are too bright; dimming range is too
small
Cause 1: The set minimum brightness is too high.
Reduce minimum brightness.
32534532 10499194 I00 20.12.2013 5/6
Dimmer push-button/2-way low voltage

Cause 2: Dimming principle leading edge phase control does not optimally match the connected
HV LED or compact fluorescent lamps.
Exchange lamps for another type.
The device switches the load off and only on again after some time.
Cause: overheating protection has tripped.
Reduce the connected load.
Check the installation situation.
The device switches the load off and cannot be switched on again.
Cause: short-circuit protection has tripped.
Eliminate short-circuit.
Replace the fine-wire fuse, replacement fuse in the fuse holder. Use only original fuses.
6.3 Warranty
The warranty is provided in accordance with statutory requirements via the specialist trade.
Please submit or send faulty devices postage paid together with an error description to your
responsible salesperson (specialist trade/installation company/electrical specialist trade). They
will forward the devices to the Gira Service Center.
Gira
Giersiepen GmbH & Co. KG
Elektro-Installations-
Systeme
Industriegebiet Mermbach
Dahlienstraße
42477 Radevormwald
Postfach 12 20
42461 Radevormwald
Deutschland
Tel +49(0)21 95 - 602-0
Fax +49(0)21 95 - 602-191
www.gira.de
32534532 10499194 I00 20.12.2013 6/6
Dimmer push-button/2-way low voltage
Questo manuale è adatto per i seguenti modelli
1
Indice

















