Gogen DECKO FOTO Manuale utente

NÁVOD K POUŽITÍ / NÁVOD NA POUŽITIE
INSTRUKCJA OBSŁUGI / HASZNÁLATI UTASÍTÁS
USER MANUAL / BEDIENUNGSANLEITUNG
DECKO FOTO

VYOBRAZENÍ VÝROBKU A OVLÁDACÍ TLAČÍTKA / VYOBRAZENIE VÝROBKU A OVLÁDACIE TLAČIDLÁ
WYGLĄD URZĄDZENIA I PRZYCISKI KONTROLNE / KÉSZÜLÉK LEÍRÁSA ÉS VEZÉRLŐ GOMBOK
PRODUCT OVERVIEW AND CONTROL BUTTONS / PRODUKTABBILDUNG UND STEUERTASTEN

CZ
ÚVOD
Děkujeme vám za zakoupení tohoto výrobku. Přečtěte si prosím
tento návod k použití, abyste se dozvěděli, jak správně s přístrojem
zacházet. Po přečtení návodu k použití jej uložte na bezpečné místo
k možnému pozdějšímu využití.
DŮLEŽITÉ BEZPEČNOSTNÍ POKYNY
Při používání fotoaparátu je třeba vždy dodržovat základní
bezpečnostní pokyny, včetně následujících:
²Děti by měly být pod dohledem, aby bylo zajištěno, že si
s fotoaparátem nebudou hrát.
²Chraňte fotoaparát a jeho příslušenství před nadměrným teplem.
²Nepoužívejte fotoaparát ve vodě nebo mokru ve vlhkém prostředí.
Udržujte zařízení v suchu.
²K čištění používejte pouze měkký hadřík, nikoliv hrubé abrazivní
prostředky nebo chemické přípravky, protože mohou poškodit
povrchovou úpravu.
²NIKDY nedovolte, aby se fotoaparát dostal do kontaktu s vodou
během nabíjení. Mohlo by dojít k poškození fotoaparátu nebo
zdroje napájení.
²NIKDY nepoužívejte fotoaparát s poškozeným kabelem nebo
poté, co kabel přestane být funkční nebo byl jakýmkoli způsobem
poškozen.
²NIKDY nenechávejte fotoaparát během nabíjení bez dozoru.
Pokud se fotoaparát během nabíjení zahřívá, kouří se z něj nebo
vydává zápach, okamžitě nabíjení ukončete
NABÍJENÍ FOTOAPARÁTU
Nabíjecí adaptér není součástí balení. Fotoaparát nabíjejte pomocí
běžného adaptéru 5 V / 1A nebo prostřednictvím počítače.
Během nabíjení bude kontrolka LED svítit červeně. Jakmile se
fotoaparát zcela nabije, kontrolka LED zhasne.

CZ
DŮLEŽITÉ: Každé tři měsíce proveďte úplné nabit. Zabráníte tím zkrácení
životnosti baterie.
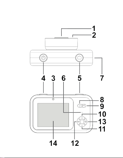
VYOBRAZENÍ VÝROBKU A OVLÁDACÍ TLAČÍTKA
1. Přední objektiv
2. LED světla
3. Selfie Kamera
4. Tlačítko
Stisknutím a podržením zapnete/vypnete fotoaparát.
5. Tlačítko
Stisknutím pořídíte fotografii.
Stisknutím a podržením nahrajete video.
6. Kontrolka LED
7. Slot pro kartu Micro SD / Nabíjecí port Micro USB /
Tlačítko Reset
8. Tlačítko
Stisknutím zapnete/vypnete LED světla.
9. Tlačítko
Stisknutím přepnete mezi předním objektivem a selfie kamerou.
10. Tlačítko
Stisknutím vyberete režim fotografie/fotografický filtr/efekty.
11. Tlačítko
Stisknutím vyberete režim fotografie/fotografický filtr/efekty.
12. Tlačítko
Stisknutím zobrazíte fotografie a videa.
13. Tlačítko
Stisknutím otevřete nabídku nastavení.
14. Displej
ZÁKLADNÍ FUNKCE
Režim fotografie
K dispozici jsou tyto režimy: Jeden snímek, [ ] 3 snímky,
[] 5s časovač, [ ] časosběrná fotografie.

CZ
Fotografický filtr
K dispozici jsou tyto ltry: [BW] Černobílý; [Sep] Sépiový; [Red]
Červený; [Blu] Modrý.
Fotografické efekty
Můžete si vybrat z několika efektů. Na fotograi můžete přidat razítka,
rámečky a legrační obličejové efekty.
PROHLÍŽENÍ FOTOGRAFIÍ A VIDEÍ
Stisknutím tlačítka zobrazíte fotograe a videa.
²Pomocí tlačítek / přejdete na další/předchozí soubor.
²Stisknutím tlačítka spustíte/pozastavíte přehrávání videa.
²Stisknutím tlačítka ukončíte přehrávání videa.
Mazání souborů
Vyberte soubor, který chcete smazat a stiskněte tlačítko .
Vyberte [Potvrdit] a stisknutím tlačítka potvrďte vymazání souboru.
NASTAVENÍ FOTOAPARÁTU
Stisknutím tlačítka otevřete nabídku nastavení. Pomocí tlačítek
/ se můžete pohybovat v nabídce a pomocí tlačítka potvrdíte
výběr. Stisknutím tlačítka opustíte nabídku nastavení.
[Rozlišení] Nastavení rozlišení fotograe.
[Auto. ostření] Zapnutí/vypnutí funkce automatického ostření.
POZNÁMKA: Pokud je aktivována funkce automatického ostření, bude pořízení
fotografie po stisknutí tlačítka trvat delší dobu.

CZ
[Jazyk] Nastavení jazyka.
POZNÁMKA: Výchozím jazykem je čeština. Další dostupné jazyky jsou: angličtina,
slovenština, maďarština, polština a němčina.
[Datum a čas] Pomocí tlačítek / nastavte datum a čas.
[Označ. datem] Nastavte formát označení datem.
[Vyp. displeje] Nastavení doby, po které se vypne displej.
[Auto. vypnutí] Nastavení doby, po které se vypne fotoaparát.
[Hlasitost] Nastavení požadované úrovně hlasitosti.
[Formátovat] Formátování karty Micro SD.
Resetování
Pokud fotoaparát nefunguje správně, stiskněte tenkým hrotem
tlačítko Reset.
TECHNICKÉ SPECIFIKACE
Napájení: DC 5 V / 1000 mA
Zabudovaná baterie: Li-ion 3,7 V / 800 mAh
Doba nabíjení baterie: přibližně 2 hodiny
Podporované karty Micro SD: FAT32; 32 GB (max)
Typ souboru/rozlišení fotograe: JPG / až 8160 x 6120 px
Typ souboru/rozlišení videa: AVI / 1920 x 1080 pxl
Velikost výrobku: 99 x 62 x 45 mm / Hmotnost: 100 g
Změna technické specifikace výrobku vyhrazena výrobcem.
Obsah balení: Fotoaparát, USB nabíjecí kabel, Šňůrka na krk,
Návod k použití

CZ
Záruka
Kapacita baterie výrobku se postupně snižuje. Ke snížení kapacity
baterie dochází při obvyklém užívání spotřebiče a považuje se
za opotřebení spotřebiče. Snížení kapacity baterie není vadou
spotřebiče.
Nebezpečí udušení. PE sáček odkládejte mimo dosah
dětí. Sáček není na hraní. Nepoužívejte tento sáček
v kolébkách, postýlkách, kočárcích nebo dětských
ohrádkách.
Likvidace starých elektrických a elektronických zařízení
(Vztahuje se na Evropskou unii a evropské země se systémy
odděleného sběru)
Tento symbol umístěný na výrobku nebo jeho balení
upozorňuje, že by s výrobkem po ukončení jeho životnosti
nemělo být nakládáno jako s běžným odpadem
z domácnosti. Je nutné ho odvézt do sběrného místa pro
recyklaci elektrického a elektronického zařízení. Zajištěním
správné likvidace tohoto výrobku pomůžete zabránit případným
negativním dopadům na životní prostředí a lidské zdraví, které by jinak
byly způsobeny nevhodnou likvidaci výrobku. Recyklováním materiálů,
z nichž je vyroben, pomůžete ochránit přírodní zdroje. Podrobnější
informace o recyklaci tohoto výrobku zjistíte u příslušného místního
obecního úřadu, podniku pro likvidaci domovních odpadů nebo v
obchodě, kde jste výrobek zakoupili.
Informace o výrobku a servisní síti najdete na internetové adrese
www.gogen.cz

SK
ÚVOD
Ďakujeme vám za zakúpenie tohto výrobku. Prečítajte si prosím tento
návod na použitie, aby ste sa dozvedeli, ako správne s prístrojom
zaobchádzať. Po prečítaní návodu na použitie ho uložte na bezpečné
miesto k možnému neskoršiemu využitiu.
DÔLEŽITÉ BEZPEČNOSTNÉ POKYNY
Pri používaní fotoaparátu je potrebné vždy dodržiavať základné
bezpečnostné pokyny, vrátane nasledujúcich:
²Deti by mali byť pod dohľadom, aby sa zabezpečilo, že sa
s fotoaparátom nebudú hrať.
²Chráňte fotoaparát a jeho príslušenstvo pred nadmerným teplom.
²Nepoužívajte fotoaparát vo vode alebo v mokrom a vlhkom
prostredí.
²Udržujte zariadenie v suchu.
²Na čistenie používajte iba mäkkú handričku, nie hrubé abrazívne
prostriedky alebo chemické prípravky, pretože môžu poškodiť
povrchovú úpravu.
²NIKDY nedovoľte, aby sa fotoaparát dostal do kontaktu s vodou
počas nabíjania. Mohlo by dôjsť k poškodeniu fotoaparátu alebo
zdroja napájania.
²NIKDY nepoužívajte fotoaparát s poškodeným káblom alebo po
tom, ak bol kábel funkčný alebo bol kábel dostatočne poškodený.
²NIKDY nenechávajte fotoaparát počas nabíjania bez dozoru.
Ak sa z fotoaparátu počas nabíjania dymí alebo vydáva zápach,
okamžite nabíjanie ukončite.
NABÍJANIE FOTOAPARÁTU
Nabíjací adaptér nie je súčasťou balenia. Fotoaparát nabíjajte
pomocou bežného adaptéra 5 V / 1A alebo prostredníctvom počítača.
Počas nabíjania bude kontrolka LED svietiť na červeno. Keď sa
fotoaparát úplne nabije, kontrolka LED zhasne.

SK
DÔLEŽITÉ: Každé tri mesiace vykonajte úplné nabitie. Zabránite tým skráteniu
životnosti batérie.
VYOBRAZENIE VÝROBKU A OVLÁDACIE TLAČIDLÁ
1. Predný objektív
2. LED svetla
3. Selfie Kamera
4. Tlačidlo
Stlačením a podržaním zapnete/vypnete fotoaparát.
5. Tlačidlo
Stlačením vytvoríte fotografii.
Stlačením a podržaním nahráte video.
6. Kontrolka LED
7. Slot pre kartu Micro SD / Nabíjací port Micro USB / Tlačidlo Reset
8. Tlačidlo
Stlačením zapnete/vypnete LED svetlá.
9. Tlačidlo
Stlačením prepnete medzi predným objektívom a selfie kamerou.
10. Tlačidlo
Stlačením vyberiete režim fotografie/fotografický filter/efekty.
11. Tlačidlo
Stlačením vyberiete režim fotografie/fotografický filter/efekty.
12. Tlačidlo
Stlačením zobrazíte fotografie a videa.
13. Tlačidlo
Stlačením otvoríte ponuku nastavenie.
14. Displej
ZÁKLADNÉ FUNKCIE
Režim fotografie
K dispozícii sú tieto režimy: Jeden snímok, [ ] 3 snímky,
[] 5s časovač, [ ] časozberná fotografia.

SK
Fotografický filter
K dispozícii sú tieto ltre: [BW] Čiernobiely; [Sep] Sépiový; [Red]
Červený; [Blu] Modrý.
Fotografické efekty
Môžete si vybrať z niekoľkých efektov. Na fotograi môžete pridať
pečiatky, rámčeky a vtipné obličajové efekty.
PREHLIADANIE FOTOGRAFIÍ A VIDEÍ
Stlačením tlačidla zobrazíte fotograe a videa.
²Pomocou tlačidiel / prejdite na ďalší/predchádzajúci súbor.
²Stlačením tlačidla spustíte/pozastavíte prehrávanie videa.
²Stlačením tlačidla ukončíte prehrávanie videa.
Vymazávanie súborov
Vyberte súbor, ktorý chcete vymazať a stlačte tlačidlo .
Vyberte [Potvrdiť] a stlačením tlačidla potvrďte vymazanie súboru.
NASTAVENIE FOTOAPARÁTU
Stlačením tlačidla otvorte ponuku nastavenie. Pomocou tlačidiel
/ sa môžete pohybovať v ponuke a pomocou tlačidla potvrdíte
výber. Stlačením tlačidla opustíte ponuku nastavenia.
[Rozlíšenie] Nastavenie rozlíšenia fotograe.
[Auto. ostrenie] Zapnutie/vypnutie funkcie automatického ostrenia.
POZNÁMKA: Ak je aktivovaná funkcia automatického ostrenia, bude snímanie
fotografie po stlačení tlačidla trvať dlhšiu dobu.
Indice
Lingue:
Altri manuali Gogen Macchina fotografica digitale



















