
GST-FT40N
Fire Telephone Panel The Intelligent Solution
Page II
CONTENTS
1GENERAL......................................................................................................................................1
2TECHNICALSPECIFICATIONS...............................................................................................1
3PANEL INSTRUCTION................................................................................................................2
3.1 APPEARANCE AND STRUCTURE.................................................................................................2
3.2 THE FRONT SURFACE.................................................................................................................2
3.3 THE KEYS.................................................................................................................................3
3.4 INDICATORS ..............................................................................................................................3
3.5 DIGITRON DISPLAY...................................................................................................................4
4FIRE TELEPHONE SYSTEM DESIGN.....................................................................................4
4.1 STAND ALONE FIRE TELEPHONE SYSTEM .................................................................................4
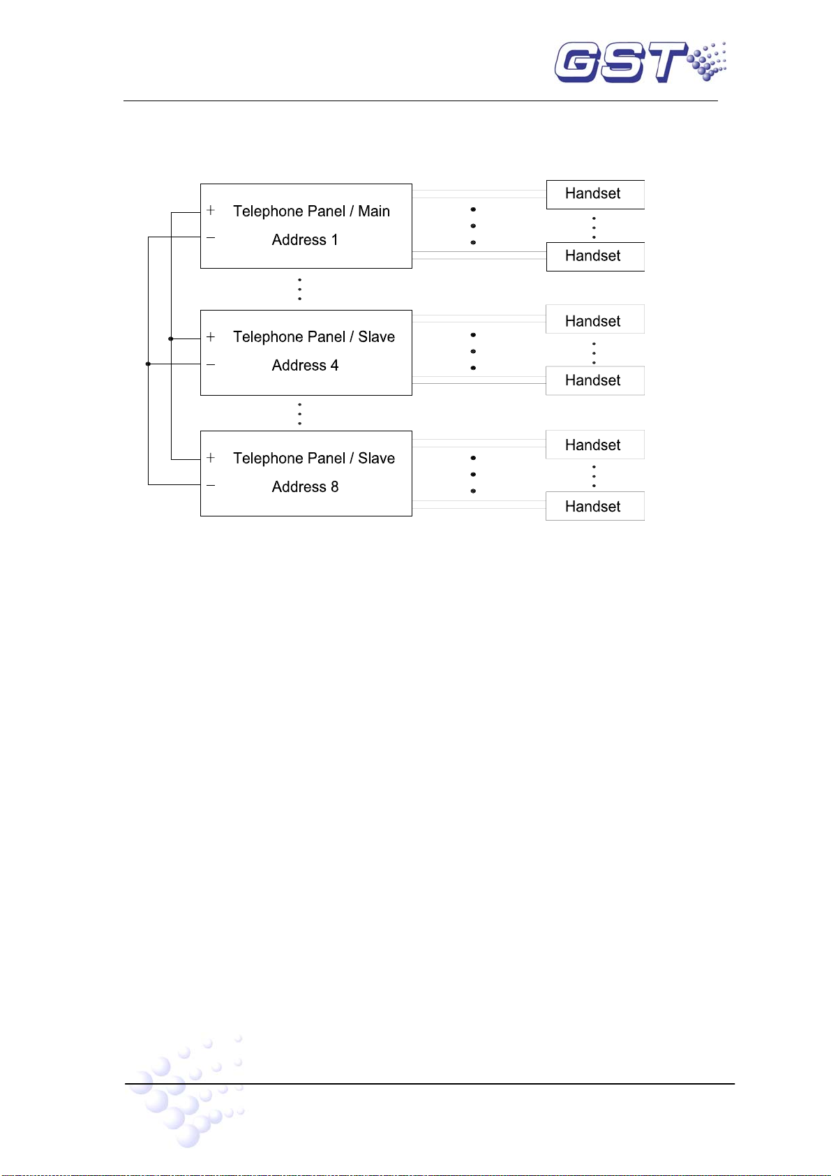
4.2 NETWORKED FIRE TELEPHONE SYSTEM ...................................................................................4
5MOUNTING & COMMISSION...................................................................................................5
5.1 INITIAL CHECK .........................................................................................................................5
5.2 WIRING REQUIREMENT.............................................................................................................5
5.3 INSTALLING DIMENSION............................................................................................................5
5.4 TERMINALS ON THE PANEL........................................................................................................6
5.5 SYSTEM COMMISSIONING.........................................................................................................7
Set panel address..........................................................................................................................7
Register the Network Panels.......................................................................................................7
Test Functions................................................................................................................................7
6USER GUIDE.................................................................................................................................7
6.1 PANEL CALL HANDSET .............................................................................................................7
6.2 HANDSET CALL PANEL .............................................................................................................8
6.3 CALL PANELS IN NETWORK ......................................................................................................8
6.4 PANEL TO PANEL CALL .............................................................................................................8
6.5 INQUIRE ABOUT CONVERSATION RECORD..................................................................................8
7TROUBLESHOOTING ................................................................................................................8
7.1 ZONE FAULT .............................................................................................................................8
7.2 NETWORK FAULT......................................................................................................................9