
GENERAL PLOW ASSEMBLY
WARNING: To prevent personal injury or
death, be certain to keep clear of any parts
that may drop when removing bun-
dling straps, wires or brackets. Sup-
port heavy sections with hoist or
blocks before removing wires or straps.
In the following instructions, left and right ma-
chine references are defined as being viewed
from the cab of the truck.
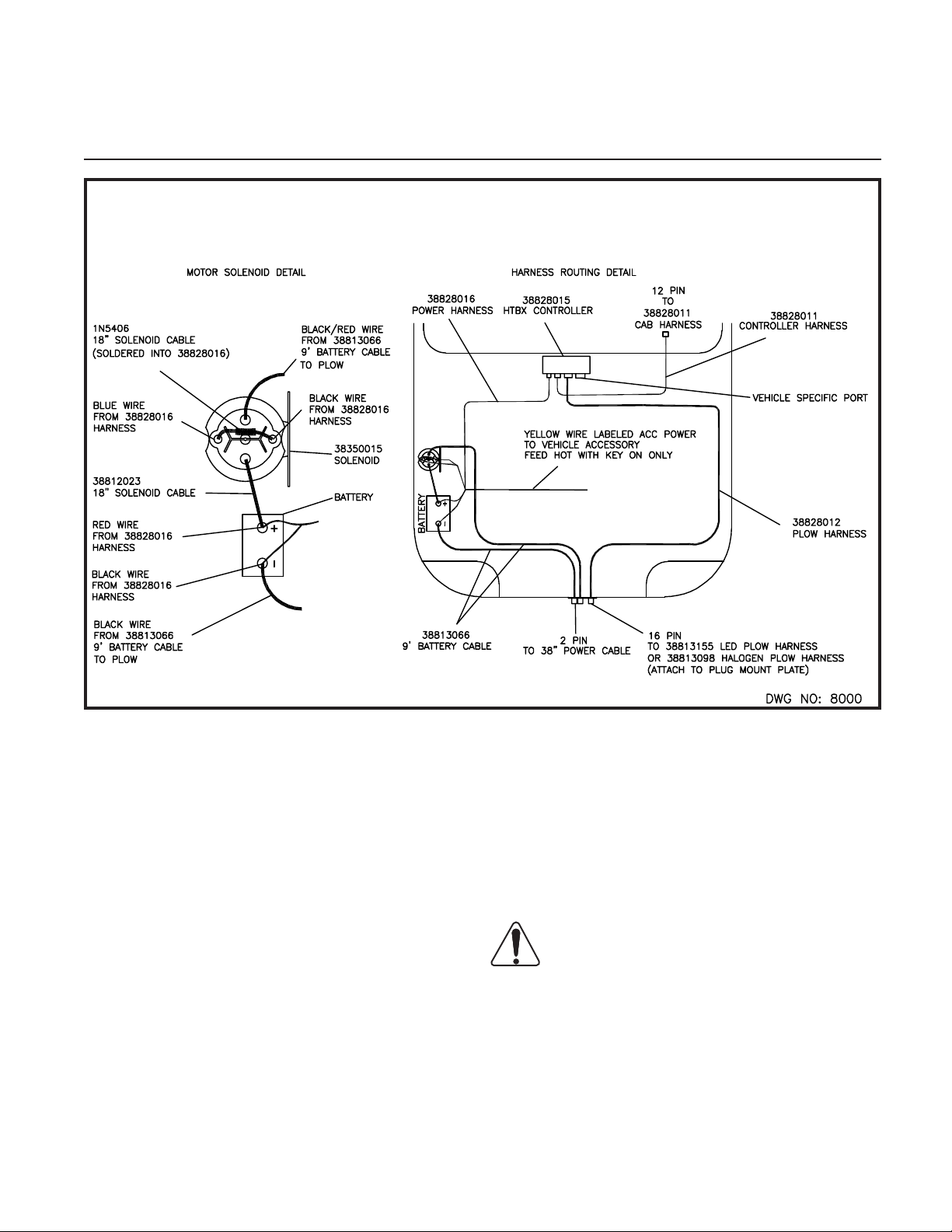
Be certain that hydraulic hoses and electrical
wires are safely routed and allow full motion of
moving parts. Secure loose wires with plastic tie
straps.
Some components are fastened at incorrect lo-
cations for shipping purposes.
All hardware should be tightened only enough
to ensure safety during assembly. Torque hard-
ware to specied values, as shown in the fol-
lowing chart, only after assembly has been com-
pleted.
GRADE 5 TYPE B & F LOCK NUT
TORQUE VALUES
Size Ft-lbs. N-m
5/16” 13-18 17-25
3/8” 23-33 31-44
1/2” 58-82 79-112
5/8” 117-165 158-223
GRADE 5 BOLT TORQUE VALUES*
Size Ft-lbs. N-m
1/4” 8-12 11-16
3/8” 29-41 39-56
1/2” 73-103 99-140
5/8” 146-206 198-279
* applications without lock nuts
Replace worn bolts and lock nuts with
grade 5 bolts and equivalent type B and type F
lock nuts. Type B lock nuts are plain hex; type F
lock nuts are flanged hex.
WARNING: Snow plow has O-ring hydraulic
fittings on the pump, hoses and hydraulic
cylinders. DO NOT use pipe sealant or
over tighten during assembly.
After assembly validate all hydraulic connec-
tions are tight. Factory installed connections
may loosen during shipping.
NOTE: New hydraulic cylinders will leak a small
amount of oil until packings become saturated
and produce a good seal. If leakage is exessive,
or if leaking continues after initial cycling, tighten
the packing nut in 1/8 turn increments until leak-
ing stops.
NOTE: Discard any lock nuts removed while
transitioning the plow from shipping congura-
tion to nal conguration. Utilize new lock nuts
provided in Op manual bag.
2 General Plow Assembly