
2
Cast Iron Condensing Boilers – Installation Manual
If the information in this manual is not followed
exactly, a fire or explosion may result causing
property, personal injury or loss of life.
Do not store or use gasoline or other flammable vapors
and liquids in the vicinity of this or any other appliance.
WHATTO DO IF YOU SMELL GAS:
• Do not try to light any appliance.
• Do not touch any electrical switch. Do not use any
phone in your building.
• Immediately call your gas supplier from a phone
outside of the building. Follow the gas supplier’s
instructions.
• If you cannot reach your gas supplier, call the fire
department.
Installation and service must be performed by a qualified
installer, service agency or the gas supplier.
Assurez-vous de bien suivre les instructions
données dans cette notice pour réduire au
minimum le risque d’incendie ou d’explosion ou
pour éviter tout dommoge matériel, toute
blessure ou la mort
Ne pas entreposer ni utiliser d’essence ou ni d’autres
vapeurs ou liquides inflammables à proximité de cet
appareil ou de tout autre appareil.
QUE FAIRE SIVOUS SENTEZ UNE ODEUR DE GAZ:
• Ne pas tenter d’allumer d’appareil.
• Ne touchez à aucun interrupteur; ne pas vous servir
des téléphones se trouvant dans le bâtiment.
• Appelez immédiatement votre fournisseur de gas
depuisunvoisin.Suivezlesintructionsdu fournisseur.
• Si vous ne purvez rejoindre le fournisseur, appelez le
service des incendies.
L’installation et l’entretien doivent être assurés par un
installateur ou un service d’entretien qualifié ou par le
fournisseur de gaz.
Failure to properly vent this unit can cause
excessive amounts of carbon monoxide resulting
in severe personal injury or death!
Do not use automotive anti-freeze in the boiler
waterways. If the use of anti-freeze is necessary
an anti-freeze specifically formulated for hydronic
heating systems must be used or damage to the
boiler may occur voiding the warranty!
DESIGNED AND TESTED ACCORDING TO A.S.M.E.
BOILER AND PRESSURE VESSEL CODE, SECTION IV
FOR A MAXIMUM ALLOWABLE WORKING PRESSURE
OF 100 PSI, 700 kPa WATER.
INSTALLER, THESE INSTRUCTIONS TO BE AFFIXED
ADJACENTTO THE BOILER / WATER HEATER.
CONSUMER, RETAIN THESE INSTRUCTIONS FOR
FUTURE REFERENCE PURPOSES.
CONTENTS
BeforeYour Start.................................................page 2
Ratings & Capacities..........................................page 3
Location..............................................................page 3
Combustion Air &Ventilation..............................page 3
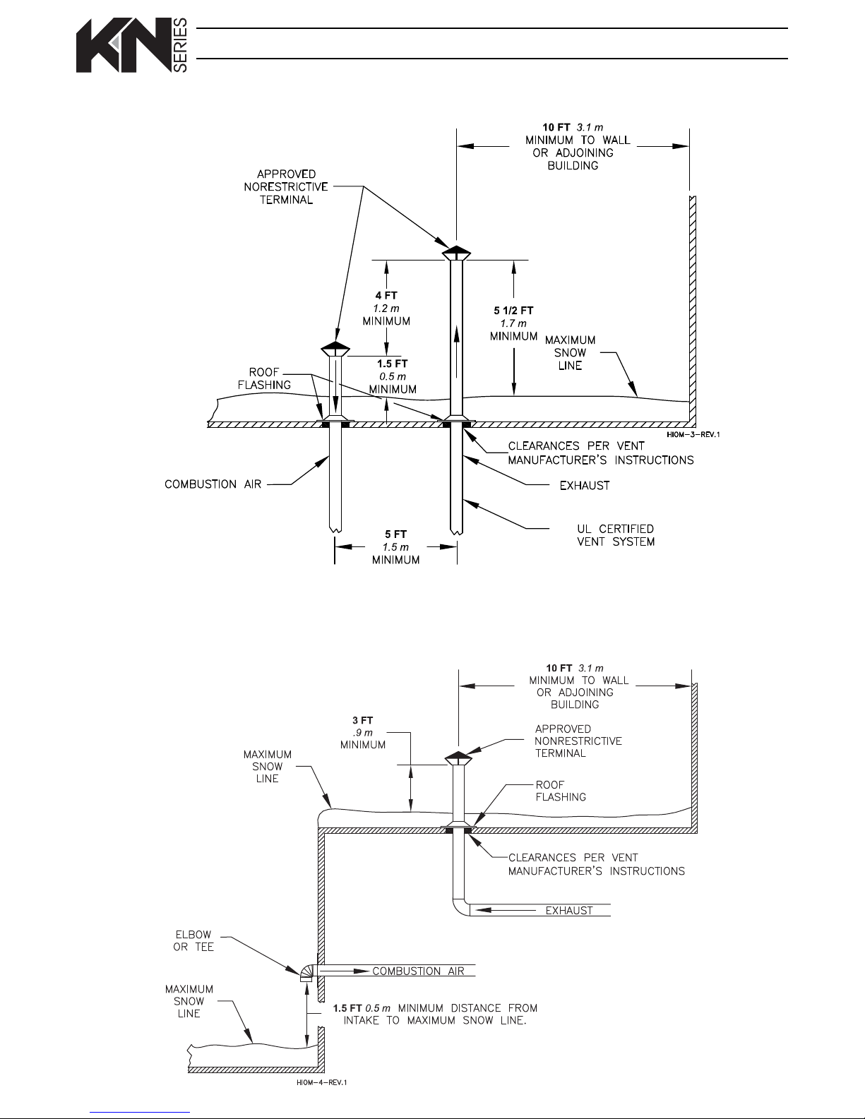
Venting Guidelines..............................................page 5
Common Vent Systems ...................................page 12
General Piping Requirements ..........................page 13
Heating System Piping.....................................page 14
Domestic Water Supply Piping.........................page 17
Condensate Piping...........................................page 19
Gas Supply Piping............................................page 19
Electrical Wiring................................................page 20
Boiler Operation................................................page 21
Operating Instructions ......................................page 21
Sequence of Operation.....................................page 24
Ignition Troubleshooting....................................page 26
Checking & Adjustment....................................page 27
Diagnostics.......................................................page 28
Maintenance.....................................................page 29
Pressure Switches............................................page 30
Wiring ...............................................................page 32
Start-Up............................................................page 35
Repair Parts......................................................page 37
Warranty...........................................................page 48
BEFOREYOU START
This manual covers the application, installation,
operation and maintenance of a KN series boiler.
To obtain the safe, dependable, efficient operation and
long life for which this boiler was designed, these
instructions must be read, understood and followed.
The KN boiler series has been design certified by CSA
for use with natural gas under the latest revision of
ANSI-Z21.13/CSA 4.9, Gas-Fired Hot Water Boilers and
CAN1-3.1, Industrial and Commercial Gas Fired
Packaged Boilers. Each unit has been constructed and
hydrostatically tested for a maximum working pressure
of 100 psi, 700 kPa, in accordance with Section IV of the
A.S.M.E.Boiler and Pressure Vessel Code.
All aspects of the boiler installation must conform to the
requirements of the authority having jurisdiction, or, in
the absence of such requirements, to the National Fuel
Gas Code, ANSI Z223.1/NFPA 54-latest revision.Where
required by the authority having jurisdiction, the
installation must conform to the Standard for Controls
and Safety Devices for Automatically Fired Boilers,
ANSI/ASME CSD-1.
Ifinstalledinthe Commonwealth of Massachusetts,you
MUSTFOLLOWtheadditional instructions contained in
HydroTherm’s instruction sheet MACODE-3.Please
refer to the back of this manual for required regulations.
In Canada, the installation must be in accordance with
the requirements of CSA B149.1 or .2, Installation Code
for Gas Burning Appliances and Equipment.