
Assembly
Never install your appliance on a wet, freshly painted or plastered surface.
Ensure the house electricity supply is switched off at the fuse box.
If removing an existing fitting, note down all wiring connections.
Follow the diagram below for fixing detail.
Check the fixings will not touch any existing wiring before drilling and
attaching the light to the wall.
Ensure you thread the wall wires through the black insulating tube fixed to the
appliance.
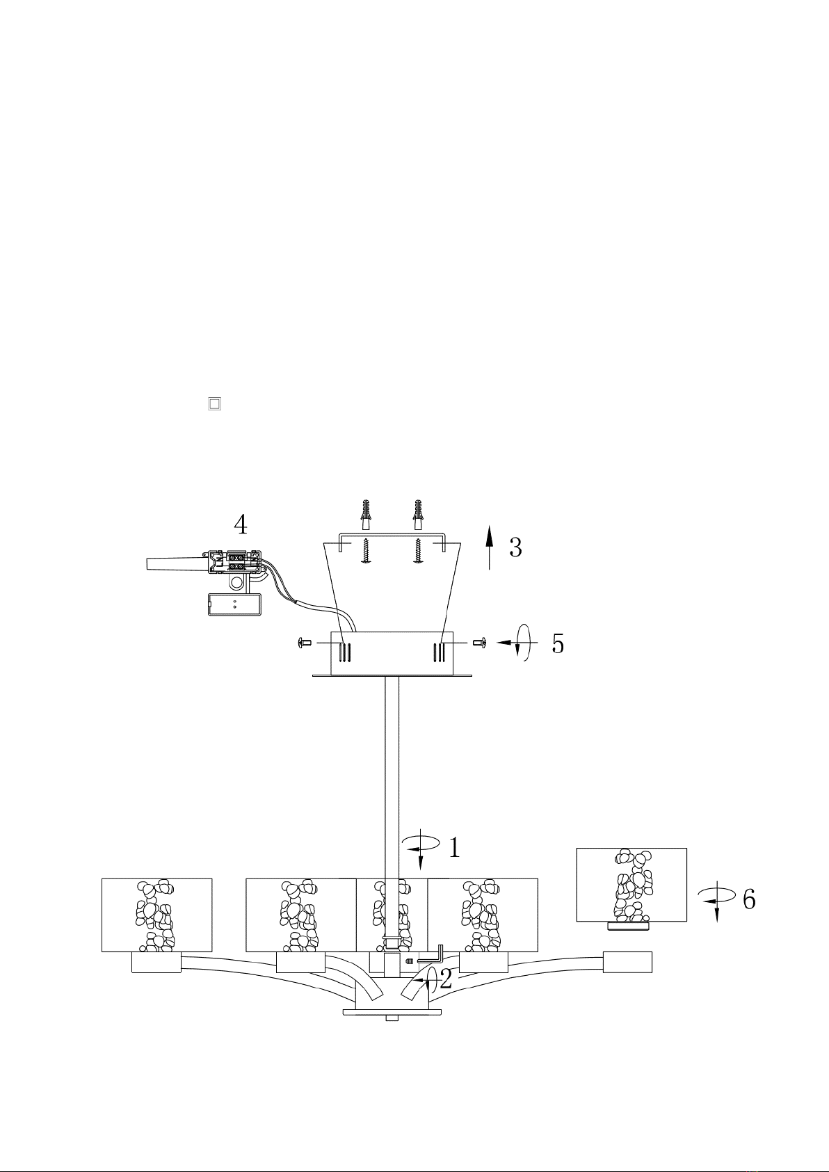
1. Ensure the house electricity supply is off at the fuse board.
2. If removing an existing fitting, first note down all wiring connections.
3. Remove mounting bracket from fitting by removing the retaining screws
and washers, retain for later.
4. Attach the main stem by screwing it into the lamp holder section of the
fitting as shown as figurein the assembly diagram. Once tight, use the hex
key provided to tighten the single grub screw located on the stem receiving
collar to lock into place
5. Using the mounting bracket as a template, mark and then drill the fixing
holes in the ceiling (ensure holes are drilled into a secure joist). Take care
not to damage wiring.
6. Attach mounting bracket to the mounting surface using suitable fixings. Do
not attach fitting to mounting bracket at this stage. Make sure no wires are
trapped in the process
7. Lever open the terminal block box cover with a screwdriver then feed
supply cable through rubber sleeving and make electrical connections as
follows:
Connect supply live (normally brown or red) to fitting live (marked “L”) on
the terminal block.
Connect supply neutral (normally blue or black) to fitting neutral (marked
“N”) on the terminal block.
NO EARTH must be connected to any part of this fitting. If there are any
earth wires present in the ceiling these must be terminated into a separate
terminal block (not supplied) to ensure continuity of the earth circuit is
maintained.
Ensure electrical connections are tight and no loose strands of wire are left
out of the connector block and the rubber sleeve is seated correctly.
8. Excess cable must be carefully located inside ceiling cup or within the
ceiling void. Carefully offer fitting over mounting bracket then secure in
place with the screws and washers removed earlier
9. To fit the shades: Offer the shade up to the threaded underside of the lamp
holder as shown in figure of the diagram. Carefully screw the shade in
place taking care not to over tighten as this may cause damage to the
fitting. Ensure that the shades are fully secured before leaving unattended.
Once installation is complete, the house electricity may be restored at the
fuse box.