
Installation Instructions
All products covered by this instruction sheet are war-
rantedagainstdefectsin workmanshipand materialsfor
one year from date of installation, except heating ele-
mentswhich arewarranted againstdefects inworkman-
shipand materialsfor fiveyearsfromdateofinstallation.
Thiswarrantydoes not applytodamage from accident,
misuse, or alteration; nor where the connected voltage
is more than 5% above the nameplate voltage; nor to
equipment improperly installed, wired or maintained
in violation of this instruction sheet. All claims for war-
ranty work must be accompanied by proof of the date
ofinstallation. The customer shallberesponsible forall
costincurred inthe removalor reinstallationor products,
including labor costs, and shipping costs incurred to
return products to King Manufacturing. King Mfg. will
repairorreplace, at ouroption,at no charge toyou with
return freight paid by King. King Electrical Mfg. shall
not be liable for consequential damages arising with
respectto theproduct, whetherbaseduponnegligence,
tort, strict liability or contract. King Manufacturing can
be contacted in Seattle, Washington by phone at (206)
762-0400,by fax at(206)763-7738 orbyemail at www.
king-electric.com
Remove the heater from the box and check for any
damage. Verify that the factory installed options are
correct for the application. Remove and set aside the
grill.
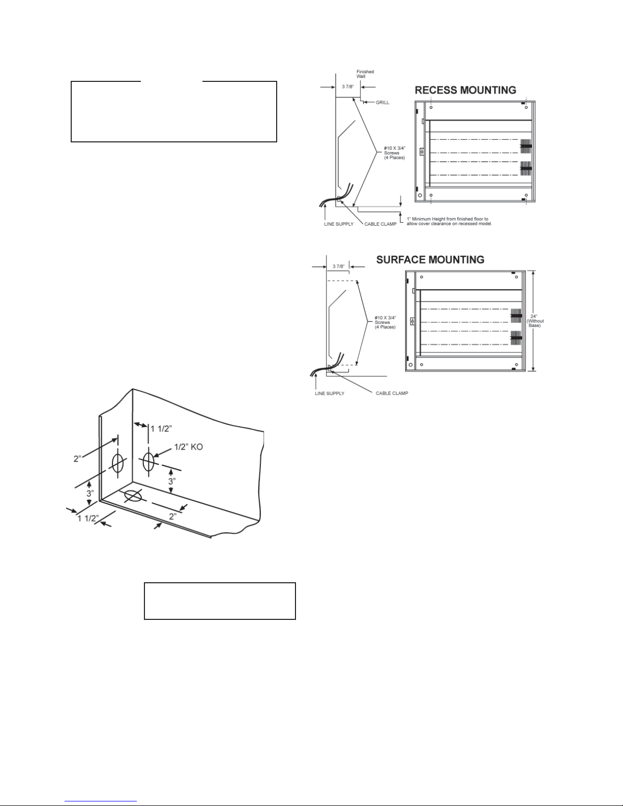
Select power supply wire type and size to comply
with local and national electric codes using heater
rating given in table. Connect wire to heater as
shown in wiring diagram attached to cover. Remove
one of the knockouts from back of unit. Secure
power supply cable with clamps (or run in conduit,
if required by local codes). Also run the wiring for a
remote thermostat, if required. Connect grounding
conductor to the green screw.
Fasten the heater to the wall with #10 screws, as
shown in the mounting diagrams. On recess models,
be sure to leave enough clearance to install the grill.
Replace the grill. Test the heater for proper operation.
Warranty
WARNING
Before proceeding further with the instal-
lation of this heater, turn off the power and
lock to the supply line for the heater at the
main service box.
WARNING - All Power must be shut
off at the main service panel before
inspecting or cleaning the heater.
Maintenance
With proper care your electric heater should last a
lifetime, however seasonal cleaning is recommended
to maintain the efficiency of the heater.
To clean the heater remove the four screws that hold
the grill in place and remove the grill. Remove dust or
lintfromthe heating elementsandthe fan bladeswitha
soft brush, compressed air, or a vacuum cleaner. KCF
units require a few drops of SAE 20 synthetic oil on the
motor shaft. Replace the grill and tighten the screws.
JUNCTION BOX
(Left side wiring only)
KCC-KCF.indd : 4/08