
5
Preparation before Installation
NOTE: TO AVOID DAMAGE TO YOUR HOOD,
PREVENT DEBRIS FROM ENTERING THE
VENT OPENING.
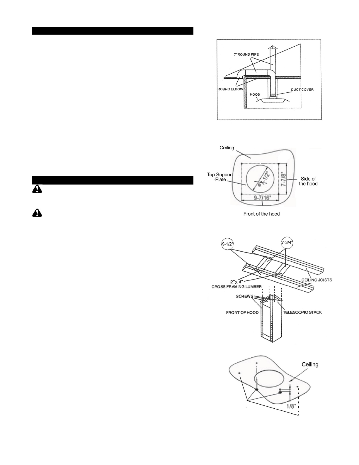
•Decide the location of the venting pipe from the hood
to the outside (Figure 1).
•A straight, short vent run will allow the hood to
perform more efficiently.
•Try to avoid as many transitions, elbows, and long
runs as possible. Transitions, elbows and/or long
runs may reduce the performance of the hood.
•Temporarily wire the hood to test for proper
operation before installing.
•Important: Peel protective film off the hood and
duct covers, if any.
•Use duct tape to seal the joints between pipe
sections.
CAUTION:
USE HAND TOOLS ONLY. DO NOT
OVER TIGHTEN SCREWS. IT MAY CAUSE DAMAGE TO
THE HOOD.
CAUTION
: If moving the cooking range is
necessary to install the hood, turn off the power in
an electric range at the main electrical box. SHUT
OFF THE GAS BEFORE MOVING A GAS RANGE.
And use a protective covering to protect cooktop
and/or countertop from damage.
1. Mark centerlines of cook top or range on ceiling.
Use centerlines marked on ceiling to position the
range hood as shown in Figure 2.
2. Cut and remove ceiling drywall. Install 2” x 4” cross
framing lumber (not provided) between ceiling
joists.
3. The framing should be spaced 9-1/2” at the front
centerline and 7-3/4” on the sides. Refer to Figure
3.
4. Finish the ceiling surface. Be sure to mark the
location of the ceiling joists and cross framing
lumber.
5. Cut a 7-1/2” duct opening and approximately a 1”
wire access hole. Secure four hood mounting
screws (not provided) into the ceiling joint and cross
framing lumber, leaving 1/8” away from the cabinet
as shown on Figure 4. Make sure screws are driven
into the ceiling at the middle of joists and cross
framing lumber for maximum support and stability.
Figure 1
Figure 2
Figure 3
Figure 4