Memotech Limited MTX 512 Manuale utente

MTX Service Manual

MTX 500/512 SERVICE MANUAL
&
TECHNICAL INF RMATI N
Memotech Limited
Witney
xon X8 6BX
Tel: (0993) 2997
Tlx: UK83372 MEMTEC G
MTX Service Manual

C NTENTS
Page
verall Description...................................1
Internal Expansions compatibility.....................4
Z80 CPU...............................................6
Z80 Pin Description.................................7
Z80 CTC..............................................10
Z80 CTC Pin Description............................11
Z80 DART.............................................13
Z80 DART Pin Description...........................14
TMS 9929 VDP.........................................17
PAL VDP Horizontal Timing..........................18
9929 Signal Waveforms..............................19
MTX Series System Bus................................20
System Block Diagram...............................21
MTX Disassembly Instructions.........................22
Trouble Shooting Guide...............................25
Symptom 1
No Display/Black and white display............26
Symptom 2
Blank screen/no humming/power on..............28
Symptom 3
Corrupt Video Display or characters...........30
Symptom 4
Bad hum bars..................................31
Symptom 5
Green screen and hum..........................32
Symptom 6
Load and save problems........................35
Symptom 7
Sound problems................................37
Symptom 8
Keyboard......................................38
Symptom 9
Memory Exps, R M Exps, RS232, Printer.........40
UM1286 Modulator.....................................42
Testing and Setting up........................43
Mother board Links and PAL Colour coding.............44
PR M Codes for memory expansion boards...............45
MTX Service Manual

Timing Chain.........................................46
Rear Plastic moulding................................48
PARTS LIST...........................................49
MTX500/512....................................50
PAL Video Board...............................54
Keyboard/Keytops..............................56
Power Supply..................................59
Plastic Rear Panel............................60
Packing.......................................60
RS232 Board...................................62
32K Memory Expansion..........................64
R M Expansion.................................65
Schematic Diagrams
MTX 4000-04...................................66
PAL Video Board...............................68
NTSC Video Board..............................69
Memory Expansion Board........................70
RS232 Communications Board....................71
MTX Service Manual

1
INTR DUCTI N
verall Description
The MTX Series personal computer systems are high
performance 8-bit computers uniquely designed to
operate in memory intensive R M-based or DISC-
based environments. The choice of the Z80 A
Microprocessor and the TMS 9929A series video
processor as the key components of the hardware
architecture is consistent with a low cost R M-
based system with colour TV output plus the
capability to expand to accommodate a fully RAM-
based Disc operating system such as CP/M,
utilising a high quality 80 column colour monitor
output.
The memory size can be either 32K or 64K Bytes as
standard, expandable to 512K Bytes. There is a
separate 16K Byte dedicated video memory. A 24K
Byte R M contains MTX - BASIC, the systems
monitor, supplementary languages and utilities.
The standard interfaces included are tape cassette
(Read/Write to 2400 baud), Keyboard, Cartridge
Port, Twin Joysticks, Parallel Centronics type
printer port, uncommitted Parallel Input/ utput
port, colour TV output with sound, composite video
output - monochrome or colour, and audio output.
ptional interfaces include a completely
independent twin RS232C with buffered bus
extension, Colour 80 Column Board, Floppy Disc
System, Silicon disc fast access RAM boards, and a
Winchester Disc System.
The Keyboard consists of 79 full travel typewriter
style keys mounted on a steel base plate which is
fitted to the Aluminium enclosure. Aluminium was
chosen for good heat dissipation, durability and
RFI shielding.
MTX Service Manual

2
CPU Board
Mounted in the lower chassis, the CPU board
accommodates:
Z80A CPU operating at 4Mhz.
24K of R M which contains:
MTX BASIC - incorporating sophisticated MTX L G -type
graphics commands.
MTX N DDY - Interactive screen manipulation routines.
FR NT PANEL DISPLAY - incorporating Z80
Assembler/Disassembler plus Z80 Register, Memory and
Program display and manipulation routines.
VIDE DISPLAY PR CESS R - with 16K dedicated video-RAM.
USER-RAM - 32K on the MTX500 and 64K on the MTX512.
User RAM size is constant under all display formats.
VIDE B ARD - for television and sound signal encoding.
REAL TIME CL CK
CHARACTER SETS - Numeric, upper case, lower case,
user-definable characters and user-definable sprites.
Resident international character sets and appropriate
keyboard layouts for UK, USA, Finland, France, Germany,
Spain,Denmark and Sweden.
Display
Colour TV and/or Video Monitor
40 column x 24 line display as standard, with
optional Colour 80 column board. (FDX or HDX disc
based system required).
Display Facilities:
FULL SCREEN HANDLING
EIGHT USER DEFINABLE VIRTUAL SCREENS
SCREEN F RMATS
Text: 40 x 24 characters
Text with graphics: 32 x 24 text with 256 x 192
pixels in 16 colours
MTX Service Manual

3
Graphics Facilities
Up to 32 independently controllable user definable
sprites, plus pattern plane and backdrop plane.
High level sprite-orientated graphics commands.
Input/ utput
Provided as standard:
1. CASSETTE P RT (variable rate, up to 2 400 baud)
2. UNC MMITTED PARALLEL INPUT/ UTPUT P RT
3. TW J YSTICK P RTS with industry standard pin-
outs
4. F UR CHANNEL S UND UNDER S FTWARE C NTR L -
three independent voices plus pink noise output
through TV speaker, or through separate Hi-Fi
output
5. M NIT R UTPUT - composite video signal (1V
peak to peak) CARTRIDGE P RT
6. PARALLEL PRINTER P RT (compatible with
Centronics-type printers)
Expansions
Up to two expansion boards may be added
internally. These may be Memory (RAM) Boards or
the Communications Board.
MEM RY B ARDS
RAM may be increased by the addition of boards
which provide 32K, 64K, 128K or 256K of memory, up
to a maximum of 512K.
C MMUNICATI NS B ARD
Available as an internal expansion, this board
carries two completely independent RS232
interfaces (running at up to 19 200 baud) with
full handshaking and modem communication lines,
and also the disc drive bus. The Communications
Board is required to run the FDX and HDX disc
based systems and the MTX Node/Ring System.
MTX Service Manual

4
N DE/RING SYSTEM
Communications software and interfacing enabling
construction of MTX Ring Systems. The system is
interrupt driven and runs in conjunction with the
twin RS232 Communications Board.
Compatibility of the memory boards and Communications
Board is given below.
Compatibility table of internal expansion boards
RAM B ARDS
32k 64k 128k 256k Comms Board
32k * * * *
64k * * * * *
128k * * * * *
256k * * * * *
Comms * * * *
Board
R M Expansions
Via the cartridge port or disc drive bus these provide:
MTX PASCAL
N DE SYSTEM software
Business, Education and Games software
Suitable Printers
Centronics-type parallel printers
RS232 serial printers (requires Communications
Board)
Power Supply Unit
Input: 220/240 VAC 50/60 Hz. or 110/115 VAC 50/60
Hz.
utput: 22.5 VAC, 1A tapped at 18V and 9V.
Dimensions in millimetres: Width 92 Depth 110
Height 70 Weight: 1.0 kilogram
The PSU is double insulated and has a side mounted
rocker switch which is internally illuminated when
the unit is on. The mains transformer is located
between two groups of four anti-vibration noise
absorbing rubber mount. Extensive strain relief
MTX Service Manual

5
mouldings are incorporated in the PSU casing to
support the input and output cables. The output
cable terminates in a 240 degree, six pin DIN
connector. The PSU is supplied as a sealed unit.
MTX Service Manual

6
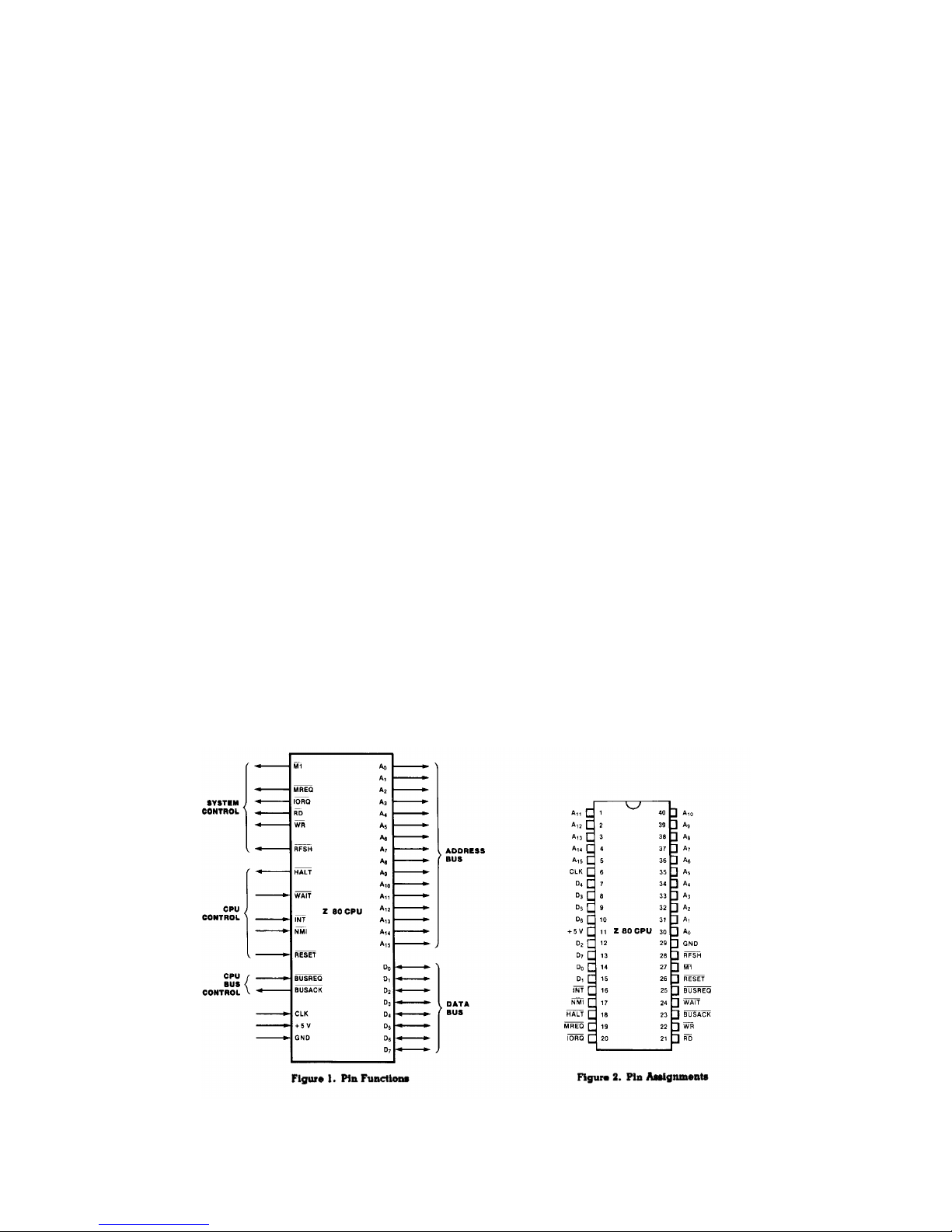
Z80 CPU
The instruction set contains 158 instructions. The 78
instructions of the 8080A are included as a subset;
8080A software compatibility is maintained.
Eight MHz, 6 MHz, 4MHz and 2.5 MHz clocks for the Z80H,
Z80B, Z80A and Z80 CPU result in rapid instruction
execution with consequent high data throughput.
The extensive instruction set includes string, bit,
byte and word operations. Block searches and block
transfers together with indexed and relative addressing
result in the most powerful data handling capabilities
in the microcomputer industry.
The Z80 microprocessors and associated family of
peripheral controllers are linked by a vectored
interrupt system. This system may be daisy-chained to
allow implementation of a priority interrupt scheme.
Little, if any, additional logic is required for daisy-
chaining.
Duplicate sets of both general-purpose and flag
registers are provided, easing the design and operation
of system software through single-context switching,
background-foreground programming and single-level
interrupt processing. In addition, two 16-bit index
registers facilitate program processing of tables and
arrays.
There are three modes of high-Speed interrupt
processing: 8080 similar, non-Z80 peripheral device
and Z80 Family peripheral with or without daisy chain.
n-chip dynamic memory refresh counter.
MTX Service Manual
Questo manuale è adatto per i seguenti modelli
2
Indice

















