Contents
Overview
Introduction . . . . . . . . . . . . . . . . . . . . . . . . . 3
TS400 Features . . . . . . . . . . . . . . . . . . . . . . . 3
TS410 Features . . . . . . . . . . . . . . . . . . . . . . . 3
Specifications. . . . . . . . . . . . . . . . . . . . . . . . 3
TS400 Control Panel . . . . . . . . . . . . . . . . . 3
TS410 Control Panel . . . . . . . . . . . . . . . . . 3
Remote Keypad. . . . . . . . . . . . . . . . . . . . 3
Planning The Installation
General . . . . . . . . . . . . . . . . . . . . . . . . . . . . 4
Cable Routing . . . . . . . . . . . . . . . . . . . . . . . 4
TS400 Control Panel . . . . . . . . . . . . . . . . . . . 4
TS410 Control Panel . . . . . . . . . . . . . . . . . . . 4
External Sounder. . . . . . . . . . . . . . . . . . . . . . 4
Remote Keypad. . . . . . . . . . . . . . . . . . . . . . 4
Detection Devices . . . . . . . . . . . . . . . . . . . . 5
Passive Infra-Red (PIR). . . . . . . . . . . . . . . . 5
Magnetic Contacts . . . . . . . . . . . . . . . . . 5
Personal Attack (PA) Button . . . . . . . . . . . . 5
Vibration Detectors. . . . . . . . . . . . . . . . . . 5
Smoke/Heat Detectors . . . . . . . . . . . . . . . 5
Final Exit . . . . . . . . . . . . . . . . . . . . . . . . . . . . 5
Auxiliary Tamper . . . . . . . . . . . . . . . . . . . . . . 5
Keyswitch . . . . . . . . . . . . . . . . . . . . . . . . . . . 5
System Installation
Installing the TS400 Control Panel. . . . . . . . . 6
Installing the TS410 Control Panel. . . . . . . . . 6
Mains Connection . . . . . . . . . . . . . . . . . . . . 7
Battery Connection . . . . . . . . . . . . . . . . . . . 7
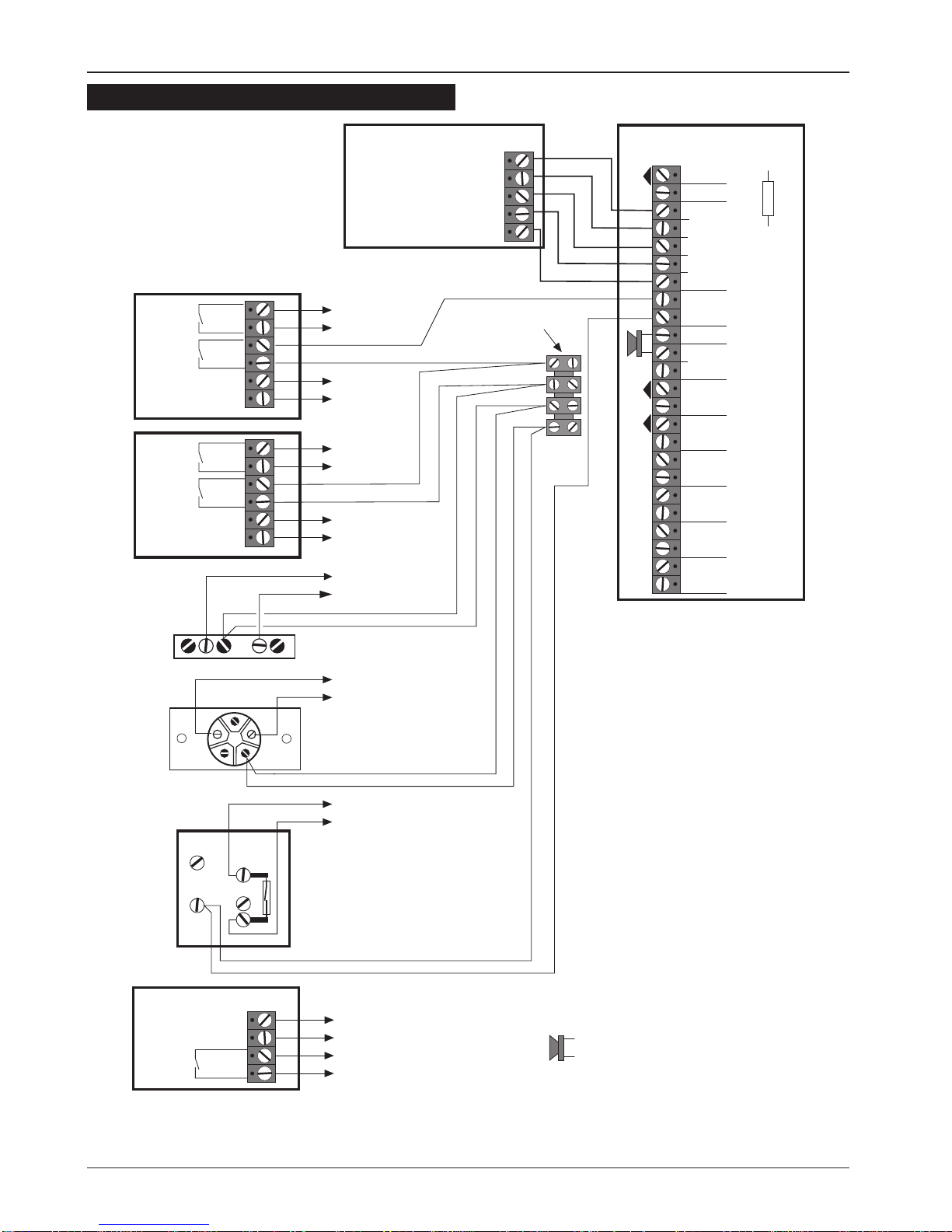
PCB Layout. . . . . . . . . . . . . . . . . . . . . . . . . . 8
Multiple Detectors on the same Zone . . . . . 9
Door Contacts . . . . . . . . . . . . . . . . . . . . . 9
Passive Infra-Red. . . . . . . . . . . . . . . . . . . . 9
Auxiliary Tamper . . . . . . . . . . . . . . . . . . . . . . 9
Wiring Example. . . . . . . . . . . . . . . . . . . . . . . 10
Installing a Remote Keypad. . . . . . . . . . . . . 11
External Sounder Connections . . . . . . . . . . . 11
Extension Loudspeakers . . . . . . . . . . . . . . . . 12
ALM- Terminal. . . . . . . . . . . . . . . . . . . . . . . . 12
RST- Terminal. . . . . . . . . . . . . . . . . . . . . . . . . 12
Detector Reset (DTR RST) . . . . . . . . . . . . . . 12
Switched 12V (SW12V). . . . . . . . . . . . . . . . 12
Aux 12V Power . . . . . . . . . . . . . . . . . . . . . . . 12
SD1(Optional) . . . . . . . . . . . . . . . . . . . . . . . . 12
Initial Power-Up. . . . . . . . . . . . . . . . . . . . . . . 13
Programming
Programming Menus . . . . . . . . . . . . . . . . . . 14
Program Zones. . . . . . . . . . . . . . . . . . . . . . . 15
Alarm . . . . . . . . . . . . . . . . . . . . . . . . . . . . 15
Access . . . . . . . . . . . . . . . . . . . . . . . . . . . 15
Keyswitch . . . . . . . . . . . . . . . . . . . . . . . . . 15
Fire . . . . . . . . . . . . . . . . . . . . . . . . . . . . . . 15
P.A.. . . . . . . . . . . . . . . . . . . . . . . . . . . . . . 15
View Event Log. . . . . . . . . . . . . . . . . . . . . . . 15
Walk Test. . . . . . . . . . . . . . . . . . . . . . . . . . . . 15
Exit Time . . . . . . . . . . . . . . . . . . . . . . . . . . . . 16
Entry Time. . . . . . . . . . . . . . . . . . . . . . . . . . . 16
Bell Duration Time. . . . . . . . . . . . . . . . . . . . . 16
Change Engineer’s Passcode . . . . . . . . . . . 16
Remote Reset Number. . . . . . . . . . . . . . . . . 17
System Options. . . . . . . . . . . . . . . . . . . . . . . 17
Bell Output . . . . . . . . . . . . . . . . . . . . . . . . 17
Setting Mode . . . . . . . . . . . . . . . . . . . . . . 17
Reset Authority . . . . . . . . . . . . . . . . . . . . . 17
System Re-arms . . . . . . . . . . . . . . . . . . . . 17
Keyswitch Operation. . . . . . . . . . . . . . . . . 18
RST- Output. . . . . . . . . . . . . . . . . . . . . . . . 18
Returning to the Unset Mode . . . . . . . . . . . . 18
Full Setting the System (AWAY) . . . . . . . . . . . 18
Part-Setting the System (HOME) . . . . . . . . . . 18
Unsetting the System . . . . . . . . . . . . . . . . . . 18
Testing & Fault Finding
Testing the System . . . . . . . . . . . . . . . . . . . . 19
Fault Finding. . . . . . . . . . . . . . . . . . . . . . . . . 19
Chart 1 - Zone Faults . . . . . . . . . . . . . . . . . . 20
Chart 2 - System Will Not Set. . . . . . . . . . . . . 21
Chart 3 - External Sounder Faults . . . . . . . . . 22
Installation Records
System Programming Record. . . . . . . . . . . . 23
2
TS400/TS410 Installation Instructions