Merco PD-4 Guida rapida

PARTS & SERVICE MANUAL
PD-4
“POP-DOWN” TOASTER
The PD-4 “Pop-Down” toaster is
revolutionary in design concept. It’s unique
principle allows finished product to gently
drop to the receiving pan. Operation is a
simple push-button procedure with full
control for the degree of toasting desired.
The solid state computer circuitry ensures
consistant results every time, no mater
how frequently the toaster is used.
The information in this manual will contain
part numbers and descriptions of
replacement parts along with illustrations
and guidelines for repairs.
Merco Savory, Inc.
1111 North Hadley Road
Fort Wayne, IN 46801
Service Hot Line: 800-701-2992
Fax:260-436-0735
www.mercosavory.com

SEQUENCE OF OPERATIONS
Power is permanently supplied to the timer and the “push to toast” button. When depressing the
“push to toast” button, power is supplied through the timer(control board) to a normally open
relay, applying power to the heater cards along wiht the heat indicator light.
The heater cards operate at a constaant voltage and wattage. The hold time of the toaster
determines the lightness or darkness of the product and is adjusted by the light/dark control dial
on the front of the toaster.
When the heating sequence is complete, the timers open the normally closed upper and lower
solenoids, activating the linkages, opening the doors and allowing the product to drop down
into the receiving tray.
NOTE:
At any time during the toasting cycle, the circuit may be interrupted by pressing the reset but-
ton. This will stop the voltage and open the release doors.
TABLE OF CONTENTS
SEQUENCE OF OPERATIONS............................................................................................ 2
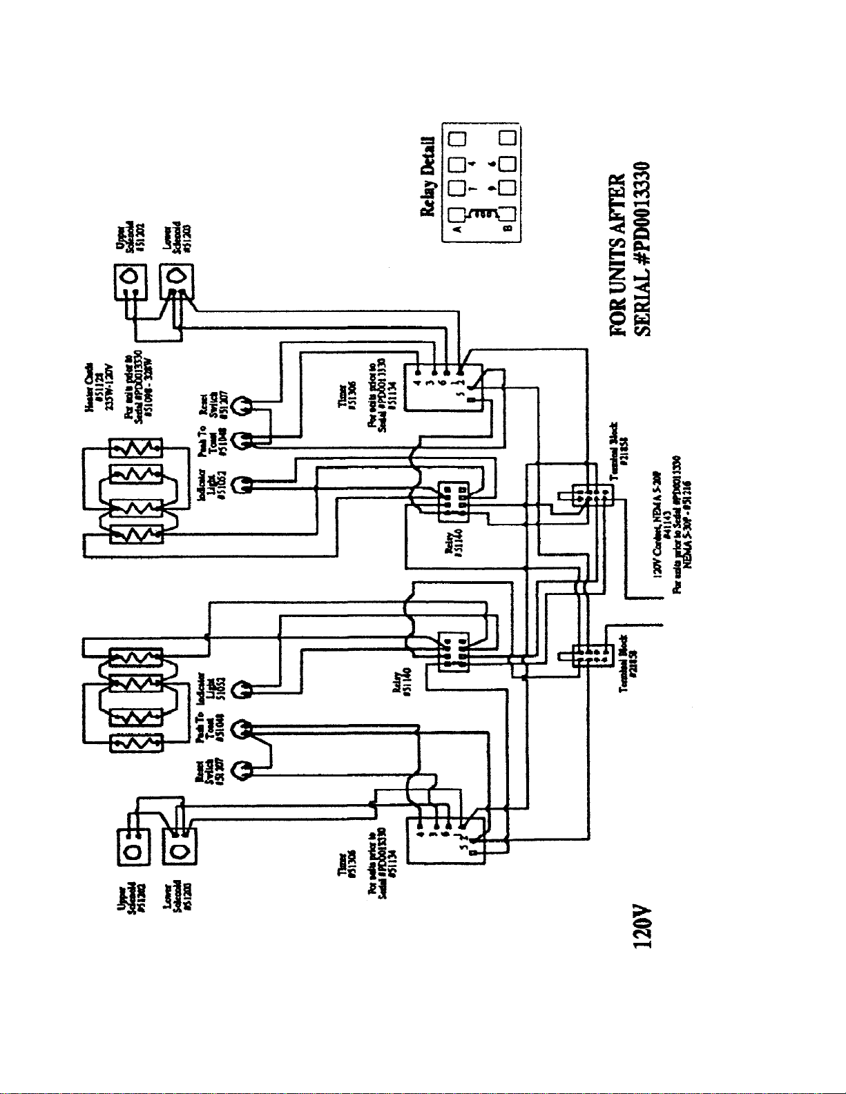
WIRING DIAGRAM - 120V.................................................................................................... 3
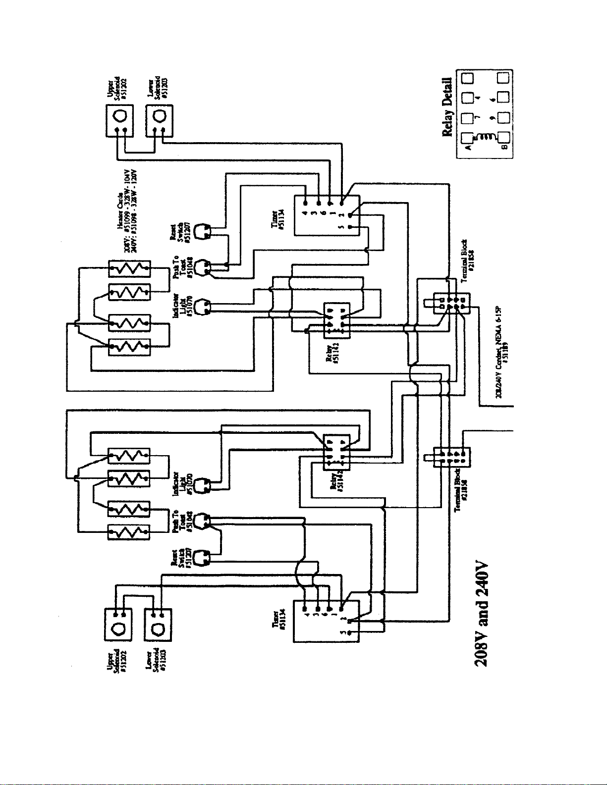
WIRING DIAGRAM - 208V & 240V....................................................................................... 4
TROUBLESHOOTING GUIDE.............................................................................................. 5
REMOVAL / INSTALLATION / ADJUSTMENT
HEATER CARD........................................................................................................ 6
DOOR LINKAGE...................................................................................................... 7
LOWER DOOR......................................................................................................... 7
TOAST SUPPORT.................................................................................................... 7
UPPER & LOWER CHASSIS................................................................................... 8
COMPONENT TEST PROCEDURES
RELAY...................................................................................................................... 8
ELEMENTS............................................................................................................... 8
TOAST LIGHT.......................................................................................................... 8
TOAST BUTTON & RESET BUTTON..................................................................... 8
TIMER PERFORMANCE CHART......................................................................................... 9
INSTALLATION.................................................................................................................. 10
SPECIFICATIONS.............................................................................................................. 11-12

WIRING DIAGRAMS


TROUBLESHOOTING GUIDE
CONDITION
Doors do not open / close or do not open/
close fully.
Doors open, but toasting light remains illumi-
nated.
Doors held open by solenoids, and only close
when power is disconnected.
Light/Dark controlprovides no change in toast
color.
Heating elements do not light during toasting.
Toasting light does not illuminate when push-
to-toast button is depressed.
Push-to-toast button does not control the
toasting function.
Bread does not toast.
Heating elements glow immediately after
toaster is plugged in.
Noisy operation.
Flare-up of heating elements.
Heating elements are on and will not go off.
Heating elements on, toasting light off.
Bread is not delivered into the receiving tray at
the end of the toasting cycle.
Doors flutter
PROCEDURE
Check solenoids and timer. Check for loose or
improper wiring. If all of these prove correct,
Replace chassis assembly. (pre 1982 models
only)
Check wiring and timer.
Check reset button and timer.
Check timer, heating elements and wiring.
Check heating elements, relay, timer, push-to-
toast button. Check wiring.
Check toasting light, relay, timer. Check
wiring.
Check push-to-toast button, timer, relay,
heating elements. Check wiring.
Check plug/receptacle. Check all points listed
above.
Check timer and reset button.
Check for loose screws on solenoid mount
and chimney. Chinmey hitting rear panel of
toaster.
Possible insulator screw fragment contacting
the heating element. Check insulator for
cracks.
Check wiring, relay, timer and push-to-toast
button.
Check wiring, relay, and toasting light.
Check solenoids, timer, push-to-toast
button.Check wiring. Check that bread product
is not too thick.
Replace timer.

REMOVAL / INSTALLATION / AND ADJUSTMENT
HEATER CARD


UPPER AND LOWER CHASSIS

TIMER PERFORMANCE CHART
I
LEGEND - TIMER TERMINALS
TERMINALS #1 & #2 - INPUT VOLTAGE TO TIMER
TERMINALS #5 & #1 -- RELAY COIL (INPUT)
TERMINALS #6 & #1 - SOLENOID
TERMINALS #3 & #2 - RESET BUTTON
TERMINALS #4 & #2 - PUSH TO TOAST BUTTON
TYPICAL TOASTING TIMES
Minimum setting (Light) 40-50 seconds.
Maximum setting (Dark) 2 min., 10-40 seconds.
LINE
VOLTAGE
TO
TOASTER
TERMINALS
#6 &
#1 VOLTS
MEASURED
WHILE
DEPRESSING
RESET
BUTTON
TERMINALS
#5 & #1
VOLTS
MEASURED
WHILE
TOASTING
TERMINALS
#3 & #2-
VOLTS
MEASURED
WHILE
DOORS
OPENING
TERMINALS
#4 & #2
VOLTS
MEASURED
WHILE
TOASTING
A.C.
VOLTS A.C. VOLTS
( t 10%) A.C. VOLTS A.C. VOLTS A.C. VOLTS
95 52 50 8-9 8-9
100 54 53 8-9 8-9
105 57 55 8-9 8-9
110 59 57 8-9 8-9
115 62 60 8-9 8-9
120 65 62 8-9 8•.9
125 69 65 8-9 8-9
190 98 95 8-9 8-9
200 103 100 8-9 8-9
210 108 105 8-9 8-9
220 113 110 8-9 8-9
230 119 115 8-9 8-9
240 124 120 8-9 8-9
250 125 124 8-9 8-9

INSTALLATION
Install the PD-4 in the most convenient location for ease of cleaning, maintenance, and general operation. Avoid
installing in locations with drafts, close proximity to grease or vapor-producing appliances, or other high ambient
heat equipment. Recommended height from floor to bottom of toaster is 43”. Shelf or counter top should be able
to support the toaster weight of 24 lbs. Overhead clearance from top of toaster should allow for easy loading and
heat dissipation. 10” minimum clearance is recommended.
WARNING
This toaster must be plugged into the proper voltage which is specified on the data plate located on the back panel of the toaster.
Use of any other voltage or altering of plug will damage unit, void the warranty, and may cause injury.
ELECTRICAL SPECIFICATIONS
Voltage
(Volts AC) Amperage
(Amps)
Max.
Power
(KW)
Frequency
(HZ) Phase Cord
(Attached) Plug
(Attached)
120 16 1.9 50/60 13’ NEMA 5-20P
208 13 2.6 50/60 13’ NEMA 6-15P
240 11 2.6 50/60 13’ NEMA 6-15P
*220 10 2.2 50 13’ NONE
*240 11 2.6 50 13’ NONE
The circuit on which the receptacle is installed must be of adequate wiring size and sufficient capacity to meet the
requirements indicated on the unit data plate and in accordance with the National Electrical Code and local
electrical installation codes.
I. The 220V electrical information in the shaded area pertains to European models. The 240V electrical
information in the shaded area pertains to United Kingdom models.
208 Volt and 240 Volt Models:
The PD-4 is equipped for electrical installation using a receptacle located in the back of the toaster. A specially
designed detachable cordset fits the receptacle and comes with the proper plug for the voltage requirements of
the toaster. If you prefer, the PD-4 may be connected directly to your electrical service by an authorized service
agency or qualified electrician.
Altri manuali per PD-4
1
Indice
Altri manuali Merco Tostapane

Merco
Merco ST-1 Guida rapida

Merco
Merco BT-1 Manuale utente

Merco
Merco BG-1T Manuale utente

Merco
Merco RT-2AR Guida rapida

Merco
Merco PD-4 Scheda tecnica

Merco
Merco C-40VS Manuale utente

Merco
Merco BT-1 Guida rapida

Merco
Merco RT-2T Manuale utente

Merco
Merco POP-2/4 Guida rapida

Merco
Merco RB-33VS Manuale utente





















