
INSPECTION
Unpack the materials from the carton and Inspect for obvious signs of damage. Use this checklist to be
sure the
kit
IS complete. You must supply the remainder of the materrals requrred for
thus
conversion.
PartNumber
[
]
A-21055
[
]
A-21891-1
[
]
A-21939-1
[
]
A-22062
[
]
H-22079-l
[
]
H-22079-2
[
]
RM-37-11
[]
01-14568.1
[ ]
03-7947
[ ]
03-9664
[]
04-10861
[]
08-8068
[ ]
11-1274
[]
16-8587-825
[]
16-9478.2
[]
16-9922.1
[]
16-10077
[]
16-10139
[
]
16-10363
[]
16-10443
[]
16-44044-101
[]
20-9620
[ ]
20-9727
[]
20-10209-1
[]
20-10209-2
[]
20-10209-3
[ ]
20-10209-5
[]
20-10383
[]
31-2863.1-3
[]
31-2864
[]
31-2865
[
]
31-2868.1
[]
31-2869
[]
31-2870
[]
31-2871
[]
4006-01209-04
[]
4008-01035-06
[]
4106-01115-08
[]
4108-01193-108
[
]
4308-01123-24B
[]
4408-01128-00
[]
5556-13956-00
[]
5795-15286-00
Item
Fan Assembly
Blitz CPU Board Assembly
Blitz 49-way Joystick Assembly
Blrtz
Hard Disk Drive Assembly
49-way Joystick Cable Assembly 1
49-way
Joystrck
Cable Assembly 2
Flexible Grommet 155” x
.2”
x 7”
Blitz Perforated Electronics Cover
Cable Tie 8 inch length
Control Panel Cover
Electronics Metal Mounting Plate
Hard Disk Drive Shipping Container
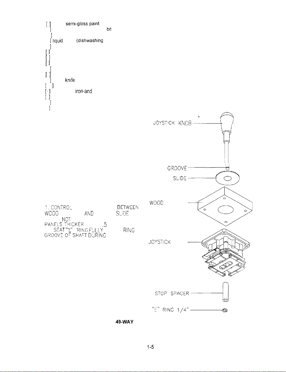
Wood Spacer for Joystick
FBI Warning Label
Registration Card
Epilepsy Warning Label
Electronic Device Caution Sheet
FCC
/
Canada Warning Label
Program Copyrrght Label
Control Panel Template
Blitz Video Conversion Kit Manual
T-20 Tamper Resist Wrench
Cable Tre Clamp-Self-adhesive
Red Long Shaft Pushbutton
White Long Shaft Pushbutton
Blue Long Shaft Pushbutton
Yellow Long Shaft Pushbutton
Hard Disk Drive Power Cable
Blitz Marquee Artwork
Blitz Top Bezel Decal
Blitz Bottom Bezel Decal
Cabinet Decal
Cabinet Side Panel Decal
Control Panel Wallpaper Decal
Control Panel Markings Decal
6-32 x
.25”
Philips pan-head screw
8-32 x ,375” Philips pan-head screw
#6 x 50” HWH sheet metal screw
Tamper resistant sheet metal screw
8-32 x 1.5” Carriage bolt
8-32 Keps nut
2 Piece 1.25” Square Ferrite Beads
Hard Disk Drive Data Cable
Quantity
1
(cools game electronics and disk
drove)
1
(mrcroprocessor and game electronics)
2
(deluxe player motion controls)
1
(game program and graphic images)
1
(to connect player controls to electronics)
1
(to connect player controls to electronics)
1
(protects wires at edges of metal cover)
1
(limrts
CPU radro frequency interference)
1
(to secure wiring inside game cabinet)
1
(to protect control panel surface)
1
(mounts game electronics and disk drive)
1
(to protect hard disk drive during transit)
1
(used to mount joysticks on thin panels)
1
(federal game protection warning)
1
(official
recording of game ownership)
1
(alerts players to epilepsy possibility)
1
(suggestions to avoid damaging parts)
1
(suggestions to avoid interference)
1
(legal rights of product and
Its
uses)
1
(to mark new Player Control hole layout)
1 (installation, operation, troubleshooting)
1
(to mount Control Panel Overlay)
1
(to mount cables )
2
(player controls for character activity)
2
(player controls for character activity)
2
(player controls for character activity)
2
(player controls for character activity)
1
(connects disk drive to game power)
1
(identifies game cabinet to players)
1
(passing and special game play rules)
1
(offensive and defensive combinations)
1
(to cover existing cabinet markings)
2
(to cover existing cabinet markings)
1
(to cover existing panel markings)
1
(to identify Player Controls)
4
(to attach disk drive to mounting bracket)
10 (to attach CPU Board to mounting plate)
26 (to attach electronic parts to cabinet)
10 (to attach clear overlay to control panel)
8
(to attach joysticks to control panel)
8
(to attach joysticks to control panel)
4
(controls radio frequency interference)
1
(connects disk drive to game electronics)
l-4