POLYPOOL EASY TOUCH PP1467 Manuale utente

User instructions
“EASY TOUCH” DIGITAL CHRONOTHERMOSTAT
PP1467

GENERAL WARNINGS DESCRIPTION
The installation must be performed by qua-
lied personnel, in compliance with the CEI
standards in force for electrical systems. The
product is intended for use in dry and non-
dusty places; for particular environments, use
specic products. Before operating on the sy-
stem, remove voltage via the main switch For
any further technical information, contact the
manufacturer’s assistance service.
This type of relay room chronothermostat can
be easily connected to any boiler or air condi-
tioner that has a two-wire connector, regardless
of the 24V or 230V power supply.
The device can be programmed according to
your requirements for the heating/cooling sy-
stem to heat/cool your residence or ofce to
the desired temperature, on the days and ti-
mes you specify, to reduce energy costs while
maintaining comfort.
The chronothermostat is equipped with 6 se-
parate and independent daily temperature
programs (intervals) which can be set for each
day of the week. The switch-on times can be
set in 10 minute intervals and the temperatures
can be adjusted in 0.5°C increments.

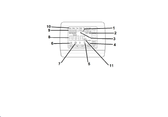
THERMOSTAT DISPLAY LEGEND
1 MANUAL CONTROL INDICATOR
2 SET TEMPERATURE
3 SET PROGRAM NUMBER
4 MANUAL TIME CONTROL INDICATOR
5 BATTERY LEVEL
6 HEATING MODE ACTIVE
7 COOLING MODE ACTIVE
8 AMBIENT TEMPERATURE
9 CLOCK
10 DAYS WEEK
11 ROOM HUMIDITY PERCENTAGE

THE THERMOSTAT
BUTTONS
A + - TO INCREASE OR DECREASE
B MODE
C SET
D PROG
E COPY
F TIME
G HOLD
The switch-on sensitivity of the thermostat can
be set from the thermostat menu (please re-
fer to the PARAMETERS Section for changing
of the switch-on sensitivity from the factory
default of ±0.2°C). The following are recom-
mended:
±0.2°C (factory setting, recommended for ra-
diator heating systems)
+0°C (this setting is recommended for under-
oor heating).
For example, if the factory setting is 20°C on
the thermostat then the device switches the
boiler on at 19.8°C or below this level and
switches off at 20.2°C or above.
The thermostat is equipped with a pump pro-
tection function which, in order to prevent the
pump from locking, switches the boiler on for
one minute at midnight every day if the pump
has not switched on in a programmed way for
more than 24 hours (e.g. outside the heating
season). See the activation of the pump pro-
tection function in the PARAMETERS section.

01.
PARAMETERS
Press MODE to scroll through the various
parameters to be set and SET to conrm or
wait 15 seconds to automatically conrm.
Set the temperature calibration: Press MODE
until reaching the letters CAL on the scre-
en, press + or - to calibrate the temperature
(-3.0°C - 3°C) in 0.1°C increments (default:
0.0°C).
Sensitivity setting:
Press MODE until reaching the letters DIFF,
press + or - to select the temperature (0.1°C -
0.4°C), 0.1°C increments (default: 0.2°C).
Setting the heat pump protection:
Press MODE until reaching the letters
HP, press + or - to select ON / OFF, select ON:
if the relay never turns on in 24 hours, it will
turn on automatically at 24:00 for 1 minute.
Select OFF: to deactivate this function. (De-
fault: OFF)
Backlight setting: Press MODE until reaching
the letters bL, press + or - to select ON / OFF;
Select ON: pressing any button it is possible to
turn on the backlight, which will turn off auto-
matically after 15 seconds. (Default: OFF)
Factory data reset:
Press MODE, display RESET and press HOLD
for 3 seconds to restore the factory settings.

01. PARAMETERS
HEATING/COOLING setting:
Press MODE until reaching the word HEAT,
press + or - to select HEAT (HEATING) / COOL
(COOLING). (Default: HEAT)
In HEATING mode, the system is activated
when the set temperature is higher than the
room temperature. In COOLING mode, the
system is activated when the set temperature
is lower than the room temperature.
Lock button:
To lock the chronothermostat, keep MODE
pressed for 5 seconds, LOC is displayed for 2
seconds. To unlock press and hold MODE for
5 seconds (after the device has been locked),
ULOC is displayed for 2 seconds.
Place the thermostat in a position protected
from sudden changes in temperature or exter-
nal heat (e.g. direct sunlight, refrigerator, re-
place, etc.). The optimal installation position is
approximately 1.5 m above oor level.
N.B. = If the radiator valves in your at are
equipped with a thermostatic head, replace
the thermostatic head of the radiator valve
with a manual control handle or set it to the
maximum temperature in the room where the
thermostat is to be positioned, otherwise the
thermostatic head can interfere with the tem-
perature control of the apartment

02.
THERMOSTAT POSITION
Place the thermostat in a position protected
from sudden changes in temperature or exter-
nal heat (e.g. direct sunlight, refrigerator, re-
place, etc.). The optimal installation position is
approximately 1.5 m above oor level.
N.B. = If the radiator valves in your apartment
are equipped with a thermostatic head, repla-
ce the thermostatic head of the radiator valve
with a manual control handle or adjust it to the
maximum temperature in the room where the
thermostat is to be positioned, otherwise the
thermostatic head can interfere with the tem-
perature control of the apartment.

03.
INSTALLING
THE THERMOSTAT
ATTENTION!
Always follow the manufacturer’s instructions
when connecting the thermostat to any hea-
ting or cooling devices. The voltage appearing
at the NO, NC or COM terminal depends only
on the system being controlled, so the size of
the cable is determined by the type of devi-
ce being controlled. The length of the cable
is irrelevant.
• While pressing the closure on the upper
side of the thermostat housing, remove the
rear thermostat cover as shown in the gure
below.
• With the help of the supplied screws attach
the rear panel of the device to the wall.
• Using a small screwdriver, remove the cover
of the relay and connection terminals from
the inside of the rear panel.
• The relay output of the thermostat has th-
ree potential-free connection points, i.e.
NO; COM and NC. To control the heating,
connect the two cables of the device to be
connected to the NO and COM terminals,
i.e. to the normally open terminals of the
relay. To check the cooling system, instead
connect the 2 COM and NC terminals, i.e.
the normally closed terminals of the relay.
• To prevent electric shock, replace the remo-
ved inner cover for wire connection after the
assembly process has been completed


04.
PLACE THE THERMOSTAT INTO OPERATION
BASIC SETTINGS
BATTERY INSERTION
While pressing the closure on the upper side of
the thermostat housing, remove the rear ther-
mostat cover as shown in the gure above. The
battery compartment is located on the inside
of the front panel of the housing. Insert 2 AA
alkaline batteries in the battery compartment as
indicated.
After inserting the batteries, the thermostat goes
to the main screen and the setting process can
start.
Do not use any electrically conductive materials
or pencils to press the buttons.
After inserting the batteries, click the front panel
of the device into the wall-mounted rear panel.
SET THE CURRENT DATE AND TIME
Press the “TIME” button to enter the screen to
be congured. The day will start ashing on the
display. Using the buttons (+) and (-), set the cor-
rect day (Monday MON; Tuesday TUE; Wednesday
WED, etc.).
Press the “TIME” button again. At this point the
day stops ashing and becomes constantly visible
while the hour will start ashing on the display.
Using the (-) or (+) button on the front panel of the
device, set the current time. Press the “TIME” but-
ton again. At this point the numbers indicating the
hour will stop ashing and will become constantly
visible, while the minutes will start ashing. Using
the (-) or (+) button on the front panel of the device,
set the minutes of the current time.
Indice
Altri manuali POLYPOOL Termostato



















