6
EN
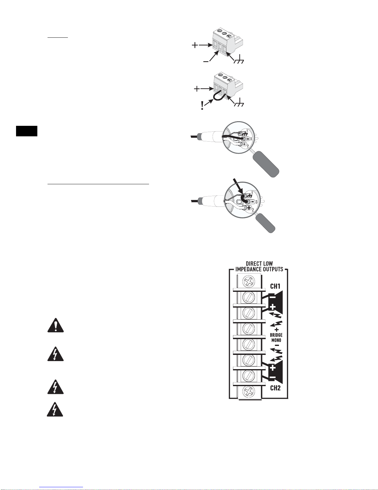
Inputs
Each channel has a balanced XLR and terminal block input. The
input impedance is 20k ohm balanced or 10k ohm unbalanced.
Balanced connections are recommended for less AC hum and
interference, especially with long cable runs. Unbalanced con-
nections may be suitable for short cables. The signal's source
impedance should be less than 600 ohms. If the DataPort is
being used to provide input signals to the amplifier, do not
connect input signals to the XLR or terminal block connectors.
If unbalanced connection is necessary, connect the signal con-
ductor to the connector’s + pin and the shield to the ground
pin. Connect a jumper between the ground pin and the - pin.
Direct Low Impedance Outputs
Direct Low Impedance Output connections are shown on the
back of the chassis, to the right of the output terminals. Care-
fully note the polarity marks, which are arranged to make
Bridge Mode connections easier.
Stereo and Parallel Mode- Connect each loudspeaker load
to its own channel of the amplifier, as shown on the chassis
label to the right of the terminals. The mode configuration
switches, page 5, must be set for Stereo or Parallel mode.
Bridge Mode- Bridge mode configures the amplifier to drive
a single, high power loudspeaker load. See page 5 to set the
Bridge Mode switches. Connect the load as shown on label to
the right of the terminals. Use the center two terminals
labelled BRIDGE MONO. 4 ohms is the minimum impedance in
bridged mode. Use Stereo or Parallel mode channels to drive 2
ohm loads.
BRIDGE MODE PRECAUTIONS: Do not use less
than 4 ohm loads in bridge mode! 4 ohms is the
minimum impedance for bridge mode operation.
OUTPUT TERMINAL SAFETY WARNING! Do not
touch output terminals while amplifier power is
on. Make all connections with amplifier turned
off. Risk of hazardous energy!
WARNING! Risk of hazardous energy! Class 2
wiring shall be used.
ISA 1350 WARNING!: Use proper speaker wire.
Class 2 wiring shall be used. For bridged mono
mode, Class 3 wiring shall be used.
Balanced Terminal Block inputs: Strip
the wire ¼ inch (6 mm) and connect to
the plug as shown. Be sure to tighten
the screws firmly.
Unbalanced Terminal Block inputs:
Strip the wire ¼ inch and connect to
the plug as shown. The middle pin
must be connected to the shield pin
as shown. Be sure to tighten the
screws firmly.
Direct Low Impedance Outputs: Connect the loudspeakers
as shown on the label next to the output terminals. Note
Bridge Mono connection (center terminals) and polarity!
Balanced XLR inputs: Con-
nect to the plug as shown.
Unbalanced XLR inputs: Con-
nect to the plug as shown.
The - pin must be connected
to the shield pin as shown.