
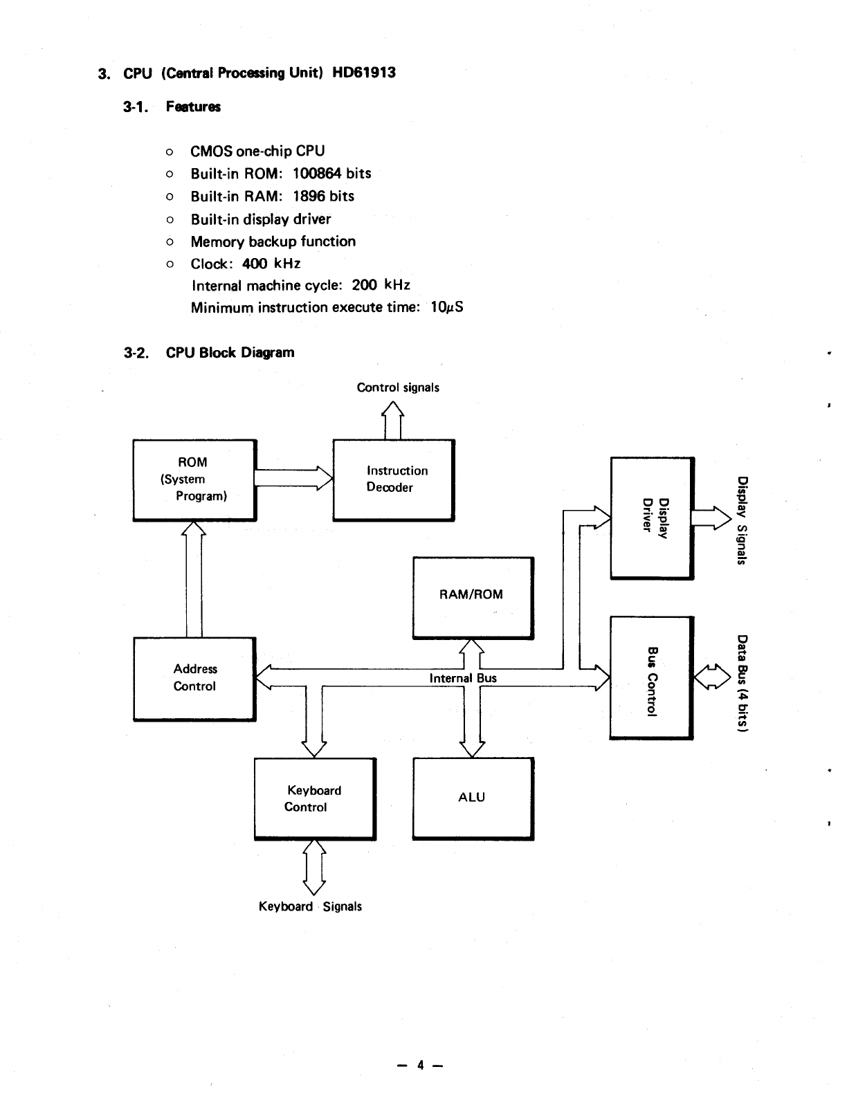
1.
SPECIFfCATlONS
Keyboard
layout
./ .. # $ ( ) ? : ; ,
~~qJCPqJqJ~CP~q;J
GOSUB FOA TO
STEP
NEXT
~
IF
THEN PRINT
o
IT]
[[]
m[[]
L!:!J
[1]
m
IT]
~Nsl
006
X
..;-
~
..
• •
ON
INS <
IACI
~
~
[ZJ
P7
P8
P9
y
CD[TI00
P4 P5 P6
~
000G
P1
P2
P3
L
[DITJQ]0
PO
t
[Q] DI
EXE
Display
.fbisp•
.,
tube:
AC-61255
Display
method:
5X7
dot
matrix
I
iquid
crystal
Display
capacity:
11
columns
(alphanumeric
characters and symbols)
Fundamental calculation
functions:
Built-in functions:
Commands:
Program functions:
Calculation range:
Program system:
Negative numbers, exponentials, parenthetical addition, subtraction,
multiplication and division
(with
priority
sequence judgement
function (true algebraic logic)
Trigonometric/inverse trigonometric functions (angular units-degree/
radian/gradient), logarithmic/exponential functions, square
root,
powers, conversion
to
integer, deletion
of
integer
portion,
absolute
value, symbolization, designation
of
number
of
effective positions,
designation
of
number
of
decimal positions, random numbers, 1f
INPUT, PRINT, GOTO, FOR·NEXT, IF-THEN,
GOSUB,
RETURN,
STOP,
END, RUN, LIST, LIST A, MODE, SET, VAC, CLEAR,
CLEAR A, DEFM, SAVE, SAVE A, LOAD, LOAD A, PUT, GET,
VER
KEYiCSR,LEN,MID,VAL
±1
X
10-99
to
±9.999999999 X10
99
and 0
(internal calculation
uses
12
mantissa positions)
Stored system
-1-