
Latest products and information available at www.sealite.com.au
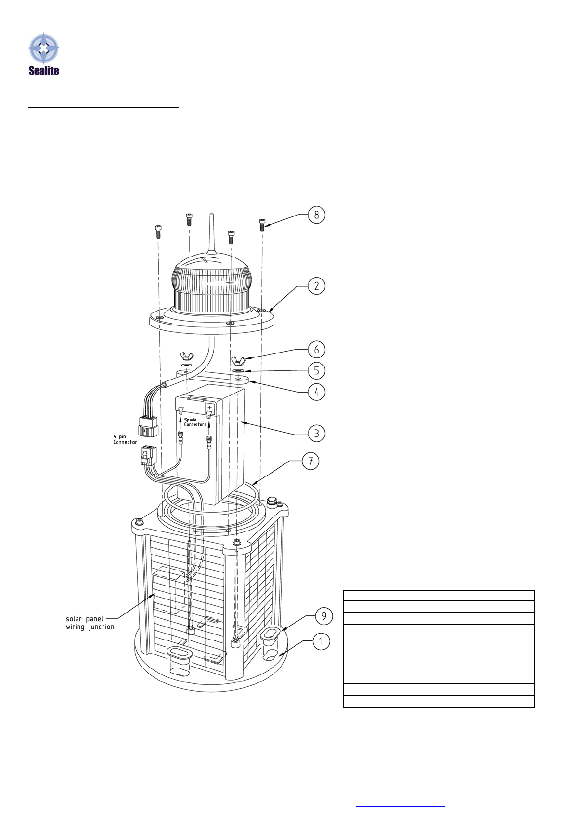
3
Operating Principle
The solar module of the lantern converts sunlight to an electrical current that is used to charge the
battery. The battery provides power to operate the lantern at night.
The flasher unit has very low current requirements. A microprocessor drives an array of ultra bright
LED’s through a DC/DC converter, which enables the LED’s to operate within the manufacturer’s
specifications. The battery is protected from over-charging within the circuit to ensure maximum
battery life.
On darkness, the microprocessor will initiate a program check and after approximately 1 minute begin
flashing to the set code.
Technology
Electronics
Sealite employs leading in-house electronic engineers in the design and development of software and
related circuitry. All individual electronic components are sourced directly by Sealite procurement
staff ensuring that only the highest quality components are used in our products.
LED Technology
All marine lanterns use the latest advancements in LED (Light Emitting Diode) technology as a light
source. The major advantage of LED’s over traditional light sources is well established in that they
typically have an operational life in excess of 100,000 hours, resulting in substantial savings to
maintenance and servicing costs.
Moulding Techniques
Sealite’s rotational moulding experience is reflected in the wide range of buoy products offered and
their unique structures designed to increase overall strength and ease of use, including in-moulded
cross bracing and in-mould graphic applications.
Precision Construction
Commitment to investing in the design and construction of injection-moulded parts including optic
lenses, light bases and a range of other components ensures that all Sealite products are of a
consistent and superior quality.
Optical Performance
Sealite manufactures a range of marine LED lenses moulded from multi-cavity dies. Complex shapes
such as the SL70 lens are a testament to the company’s superior in-house lens manufacturing
capabilities and outstanding optical performance.
Award-winning, Patented Technology
Several United States and Australian patent registrations are held on Sealite’s range of innovative
designs, with other regional patents pending in Canada, United Kingdom and Europe.