
Tischtennis
Aufbauanleitung zu Art.Nr. 3631108, 3631111
2
Bedienungs- und Montageanleitung
Vor der Montage und der ersten Benutzung lies bitte die Monta-
geanleitung und die Benutzerinformationen sorgfältig durch. Du
erhälst wichtige Hinweise für deine Sicherheit beim Gebrauch
des Tischtennis-Tisches. Bewahre die Anleitung zu deiner Infor-
mation und Instandhaltung auf, solange du den Tischten-
nis-Tisch nutzt.
• Montiere den Tischtennis-Tisch mit mindestens 2 erwach-
senen Personen auf einer sauberen und weichen Unterlage.
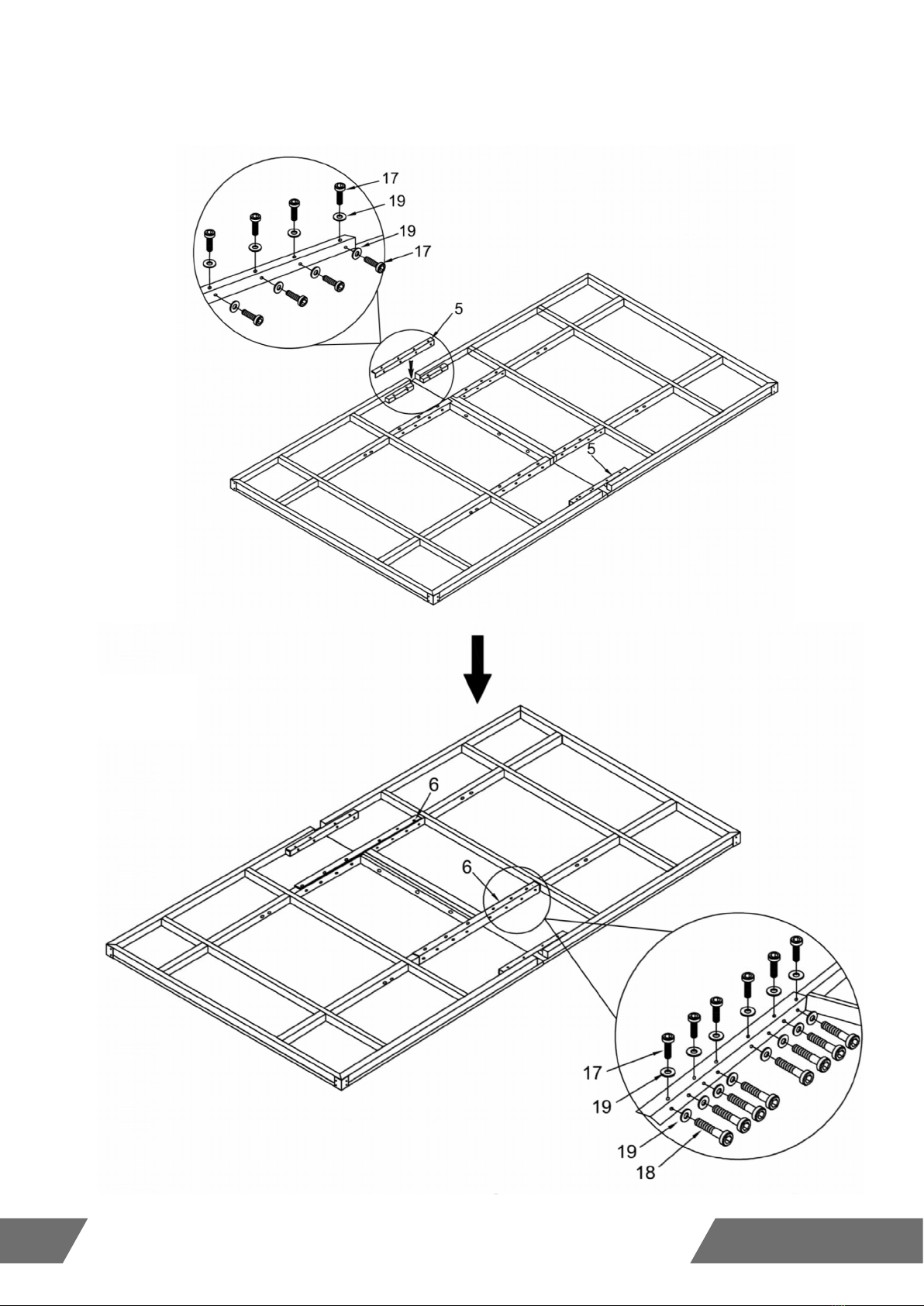
• Sortiere das Zubehör und kontrolliere auf Vollständigkeit
• Folge bei der Montage der angegebenen Reihenfolge der
Montageschritte
Use and assembly instructions
Before starting to assemble the table and before using it for the
rst time please read the assembly instructions and the informa-
tion for the user very carefully. They contain important advices
for safety when using the table. Please keep the instructions for
your information and for maintenance as long as you use the
table.
• At least two adults have to participate in the assembly of the
table which should be carried out on a clean and so floor.
• Before commencing the assembly, check all the parts accor-
ding to the parts list and make sure that they are all present
and correct.
• Please follow the references for the order of the assembly.
Stückliste | Parts list
Tischplatte
Table Surface
2x Rechtes Bein
Right Leg
2x Linkes Bein
Le Leg
2x Beinstreben
End Leg Panel
4x
L-Schiene A
„L“ Brackt-A
2x L-Schiene B
„L“ Bracket-B
2x Netzhalterung
Net Post
2x Netz
Net
1x
Höhenversteller
Leg Leveller
4x 8x76 mm Schraube
5/16‘‘X3‘‘ Bolt
16x 8 mm Federring
5/16‘‘ Spring Lock Washer
16x 8 mm Unterlegscheibe
5/16‘‘ Washer
16x
8 mm Mutter
5/16‘‘ Barrel Nut
16x 8x63,5 mm Schraube
5/16“x2-1/2“ Bolt
3x 8 mm Unterlegscheibe
Schwarz
5/16“ Washer Black
14x 8 mm Mutter
5/16‘‘ Nut
3x
6,35x19 mm Schraube
1/4‘‘X3/4‘‘ Bolt
28x 6,35x38 mm Schraube
1/4“x1-1/2“ Bolt
16x
6,35 mm Unterleg-
scheibe
1/4‘‘ Washer
44x
8x63,5 mm Schraube
5/16‘‘X2-1/2‘‘ Bolt
8x
Schraubenschlüssel
Wrench
1x Innensechskantschlüssel
Allen Key
1x