Tecumseh OHV175-204807B Manuale utente

OHV175-204807BPage 1 of 6
Engine Parts List #1

OHV175-204807BPage 2 of 6
Engine Parts List #1
Ref # Part Number Qty Description
137526 Cylinder (Incl. 2, 11B, 20 & 72B)1
227652 Dowel Pin1
11B 650902 Screw, 10-32 x 7/16"1
11 36302 Check Valve1
11A 36303 Breather Plate1
15 36307 Governor Rod1
20 36301 Oil Seal1
30 36512 Crankshaft1
31 36515 Counterbalance Gear1
40 36312 Piston, Pin & Ring Set (Std.)1
40 36313 Piston, Pin & Ring Set (.010" OS)1
40 36314 Piston, Pin & Ring Set (.020" OS)1
41 36309 Piston & Pin Ass'y. (Std.) (Incl. 43)1
41 36310 Piston & Pin Ass'y. (.010" OS) (Incl. 43)1
41 36311 Piston & Pin Ass'y. (.020" OS) (Incl. 43)1
42 36315 Ring Set (Std.)1
42 36316 Ring Set (.010" OS)1
42 36317 Ring Set (.020" OS)1
43 35772 Piston Pin Retaining Ring2
45 36318A Connecting Rod Ass'y. (Incl. 46)1
45 36319 Connecting Rod Ass'y. (.010" US) (Inc l. 46)1
45 36320 Connecting Rod Ass'y. (.020" US) (Inc l. 46)1
46 650908 Connecting Rod Bolts2
48 36321 Valve Lifter2
50 36533A Camshaft (MCR)1
51 36513 Counterbalance Weight1
51A 36514 Counterbalance Weight1
52 37305 Oil Pump Ass'y.1
52B 36333 * "O" Ring1
52A 36331 Oil Pump Shaft1
52C 36334 Oil Pump Cover (Incl. 52B)1
52D 650888 Screw, Torx T-30, 1/4-20 x 43/64"3
60A 650273 Screw, 5/16-18 x 11/16"1
60 36361 Air Baffle1
60B 650867 Screw, 10-24 x 1/2"1
65 30063 Screw, Torx T-30, 1/4-20 x 1/2"1
66 650737 Screw, 1/4-20 x 1/2"1
69 36565 * Mounting Flange Gasket1
70 37306 Mounting Flange (Incl.72,72A,72B,75,8 0,381-387)1
72B 28534 Oil Drain Plug2
72A 28483 Oil Drain Plug2
75 36301 Oil Seal1
80 35712 Governor Shaft1
81 35479 Washer2
82 36327 Governor Gear Ass'y.1
83 35322 Governor Spool1
84 29193 Retaining Ring1
86 650970 Screw, 1/4-20 x 1-15/32"9
89 650592 Flywheel Key1
90 611243 Flywheel (W/Ring Gear)1
91 611241 Flywheel Fan1
91A 611242 Flywheel Retainer1
100 36344 Solid State Ignition (Incl. 101)1
101 610118 Spark Plug Cover1
102 651024 Solid State Mounting Stud2
103 651007 Screw, Torx T-15, 10-24 x 15/16"2

OHV175-204807BPage 3 of 6
Engine Parts List #1
Ref # Part Number Qty Description
110 36645 Ground Wire1
119 37493 * Cylinder Head Gasket1
120 37495 Cylinder Head (Incl. 119 & 151A)1
125 35308 Exhaust Valve (Std.)1
125 35433 Exhaust Valve (1/32" OS)1
126 35309 Intake Valve (Std.)1
127 650691 Washer6
128 650690 Belleville Washer6
130 650946 Screw, 5/16-18 x 2-45/64"6
135 34645 Spark Plug (RN4C)1
150 33507 Valve Spring2
151A 40046 Intake Valve Seal1
151 33508 Valve Spring Keeper2
153 36339 Push Rod Guide1
154 651077 Rocker Arm Stud2
155 35950 Rocker Arm2
156 36341 Rocker Arm Bearing2
157A 650586 Jam Nut, 5/16-242
158 36340 Push Rod2
159 35952 * Rocker Arm Cover Gasket1
160 35953A Rocker Arm Housing1
161 30063 Screw, Torx T-30, 1/4-20 x 1/2"4
169 36304 * Breather Gasket1
172 36305 Valve Cover1
173 36306 Breather Tube1
174 30063 Screw, Torx T-30, 1/4-20 x 1/2"4
262A 650802 Screw, 1/4-20 x 5/8"1
269 36365 * Exhaust Manifold Gasket1
270 36364 Exhaust Manifold1
270A 35829A Exhsust Port Liner1
271A 36371 Muffler Clamp1
271 36363 Locking Plate (Manifold)1
275 36372 Muffler1
277 650876 Screw, 5/16-18 x 1-9/32"2
279 650992 Screw, 5/16-18 x 21/64"1
280 36373 Heat Shield1
305 36349 Oil Fill Tube1
306 37401 * "O" Ring1
307 35499 "O" Ring1
309 650974 Screw, 1/4-20 x 57/64"1
310 36366 Dipstick1
314 651007 Screw, Torx T-30, 5/16-18 x 1-7/16"2
315 611181 Alternator Coil (3/5 Split)(Incl. 321 - 323)1
321 611161 Diode1
322 611142 Connector Body1
323 611118 Terminal1
325B 37230 Wire Clip1
325 36342 Wire Clip1
361 650969 Screw, 5/16-18 x 29/32"2
381 650767 Screw, 8-32 x 27/64"1
382 36328 Oil Strainer Screen1
385 570673 Ball1
386 36329 Pressure Relief Spring1
387 36330 Roll Pin1
394A 650982 Washer1
395 36795 Electric Starter Motor (12 Volt)1

OHV175-204807BPage 4 of 6
Engine Parts List #1
Ref # Part Number Qty Description
400 37496 * Gasket Set (Incl. items marked PK i n notes) Incl. one
each of part #'s:35952 (1),36304 (1),36333 (1),36335
(1),36352 (1),36358 (1),36365 (1),36490 (1),36565 (1),37401
(1),37493 (1)
1
420 730225A SAE 30 4-Cycle Engine Oil (Quart)1
477 650971 Screw, Torx T-30, 5/16-18 x 7/8"2
478 36336 Oil Passage Cover (Incl. 479)1
479 36335 * Oil Filter Adapter Gasket1

OHV175-204807BPage 5 of 6
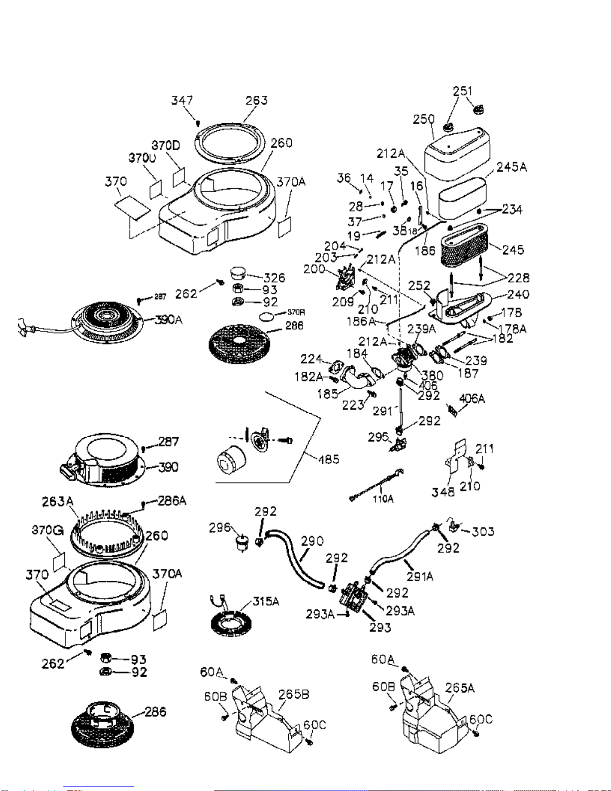
Engine Parts List #2

OHV175-204807BPage 6 of 6
Engine Parts List #2
Ref # Part Number Qty Description
14 28277 Washer2
16 36346A Governor Lever (Incl. 212A)1
17 29916 Governor Lever Clamp1
18 651028 Screw, Torx T-15, 8-32 x 3/8"1
19 36414 Extension Spring1
28 30322 Lock Nut, 8-321
35 29826 Screw, 10-32 x 3/4"1
36 29918 Lock Washer1
37 29216 Lock Nut, 10-321
38 29642 Retainer Ring1
60C 650737 Screw, 1/4-20 x 1/2"1
60B 650867 Screw, 10-24 x 1/2"1
60A 650273 Screw, 5/16-18 x 11/16"1
92 650666 Lock Washer1
93 650594 Flywheel Nut1
110A 36917 Ground Wire1
157A 650586 Jam Nut, 5/16-242
178 650928 Lock Nut, 1/4-202
182 650925A Carburetor Mounting Stud2
184 36352 * Carburetor To Intake Pipe Gasket1
185 36852 Intake Pipe1
186 36354 Governor Link1
186A 36353 Choke Link1
200 36360 Control Bracket (Incl. 203,204,212A)1
203 36482 Compression Spring1
204 650777 Screw, 6-32 x 21/32"1
209 650902 Screw, 10-32 x 7/16"2
210 27793 Conduit Clip1
211 28942 Screw, 10-32 x 3/8"1
212A 36288 Bushing3
223 650975 Screw, Torx T-30, 5/16-18 x 1-9/32"2
224 36490 * Intake Spacer1
228 650977 Air Cleaner Stud2
234 650825 Nut & Lock Washer, 1/4-202
239 36358 * Air Cleaner Gasket1
240 36355 Air Cleaner Body (Incl. 228 & 239)1
245A 36357 Air Cleaner Filter1
245 36356 Air Cleaner Filter (Incl. 229)1
250 36359 Air Cleaner Cover1
251 650886 Wing Nut, 1/4-202
252 650976 Screw, 1/4-20 x 19/32"1
260 36347 Blower Housing1
262 650737 Screw, 1/4-20 x 1/2"3
263 36367 Trim Ring1
265A 36571 Cylinder Head Cover1
286 36343 Cup & Screen1
290 30705 Fuel Line1
292 26460 Fuel Line Clamp2
296 34279B Fuel Filter (Incl. 292)1
326 36210 Screen Plug1
347 650949 Screw, 10-32 x 9/16"3
370G 35274 Oil Instruction Decal1
380 640072A Carburetor (Incl. 184 & 212A)1
394A 650982 Washer1
406A 36918 Solenoid Spring1
406 611221 Fuel Shut-Off Solenoid1
Indice

















