
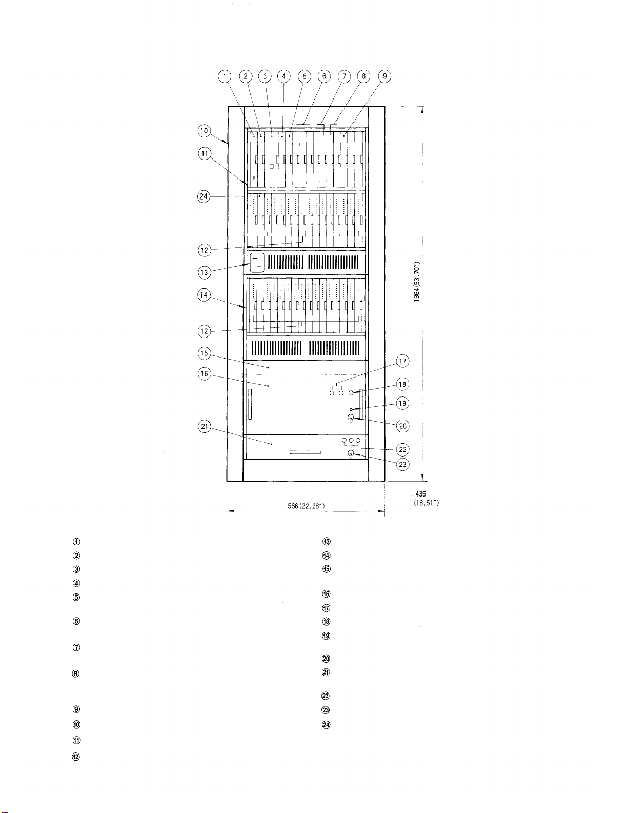
PART1. OUTLINES OF EXES-6000 SYSTEM AND RELATED EQUIPMENT
1. Description and Features
1-1 System
Since the EXES-6000 System is a fully electronic intercom
system, it has the following features that surpass conventional
mechanical systems.
1. All components of the exchange are designed according to the
modular concept. This results in a sizable reduction in the
number of procedures required to install the system.
2. The exchange and terminal boards (BX-610/620) are designed
as separate units, allowing independent inspection of the wiring
and the exchange.
3. The wiring for each station is a non-polar 2-wire system which
uses
a
minimum
number
of
connecting
to
ease
wiring.
1-4 Terminal Boards (BX-610/620)
The terminal boards BX-610/620 connect the line between the
exchange and the station. Compact and easy to connect, this
terminal board saves space and ensures simple disconnection of any
station line from the exchange when inspection is necessary. One
terminal board BX-610 or BX-620 can connect a maximum of 64
stations (EX-610) or 128 stations (EX-620) to the exchange all-call
plus 15 paging zones and 8 tie-line links. The exchange and the
terminal board are connected by junction cable YR-810 (2-wire)
for stations and YR-801 (4-wire) for paging and tie-line links.
To connect the station line to the terminal board, clip terminals are
provided which allow ensure simple connection without soldering.
For future system expansion or modification, the collective terminal
board to be described later on. (See page 12) This terminal is part of
the exchange.
1-2 Exchanges EX-610 (64 stations)/EX-620 (128
stations)/EX-630 (256 stations)
The features of the exchange of the Toa EXES-6000 Intercom
Systemareasfollows:
1. All exchange are of modulor constructions. This results in a great
increase in ease and speed of system installation.
2. Extensive incorporation of ICs makes each exchange efficient
and space-saving as well as allows quieter operation than conven-
tional intercom system.
1-5 Junction Cables (YR-810/801)
The YR-810 or YR-801 junction cable connects the exchange to
the terminal board BX-610 or BX-620. A single line of this junction
cable is capable of connecting the exchange to 8 stations (YR-810)
or to 8 paging zones (YR-801) or to 8 tie-line links (YR-801)
through the terminal board BX-610 or BX-620. Both cable ends are
equipped with multi-pole connectors which can easily plugged into
the exchange or the terminal board BX-610 or 620. Refer to the
drawing which appears in the Cable Installation and Connection
seciton of this manual for the right direction and order of cable
connections.
1-3 Stations
The stations of the Toa Intercom EXES-6000 have the following
features:
1.
Each
station
is
provided
with
a
2-Pin
plug
(YC-602)
for
easy
connection to cables.
2. Wiring from the exchange to each station is the non-polar 2-wire
system. The fact that only 2 wires are necessary makes installa-
tion easier, and with a 2-Pin jack (YC-601 or YC-603) at the end
of each cable, connection can be quickly made with a screw-
driver.
3. There are eleven types of stations available for selection: desk-
top type, flush-mount type and desk/surface-mount type, etc.
– 2 –