
Page 3
ITEM NO.
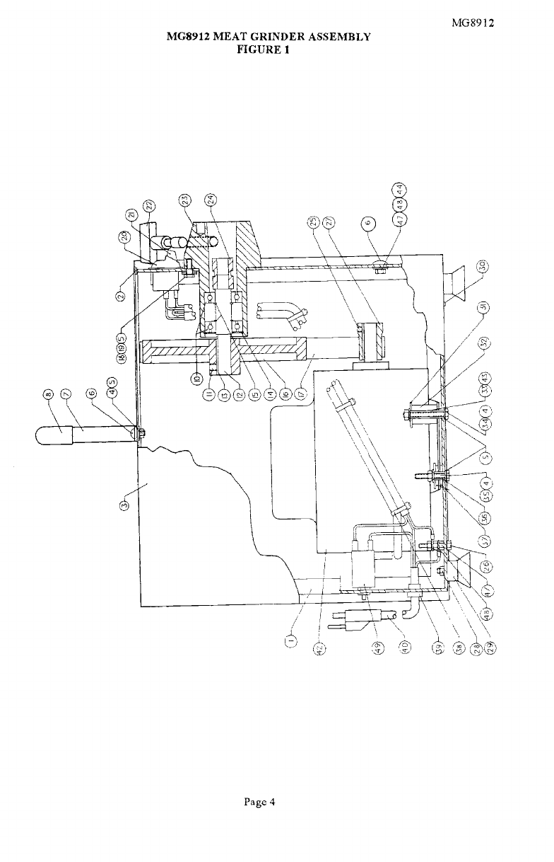
MG8912 MEAT
PART NO.
GRINDER ASSEMBLY
FIGURE 1
DESCRIPTION
MG8912
OTY.
8700001 Housing
28700014 Foam, Rubber Strip 2
38700002 Cover, Housing
44400141 Nut, Kep 1/4-20 4
51200075 Washer, Steel Flat 1/4 7
61200442 Screw, Truss HD 10-32 x 1/2 4
78700012 Bracket, Pan support
88700009 Sleeve, Pan Support 2
9Reserved
10 1030019 Ball Bearing 6204ZZ 2
11 4400072 Set Screw 5/16-18 x 3/8 2
12 8800010 Shaft, P T O
13 4400230 Key 3/16 Square
14 1200117 Retaining Ring mt.
15 1200119 Retaining Ring Ext. 2
16 8700025 Pulley, Driven
17 8700010 Belt, Drive 300J10
18 1200025H Screw, Hex HD 1/4-20 x 3/4 3
19 4400005 Lockwasher 1/4 3
20 8700035 Switch, With Key
21 8700036 Key, Switch (Key Only)
22 8700019 Knob Assembly, P T O 1
23 4400045 Housing, P T O 1
24 8800012 Adaptor, P T O i
25 1200412 Set Screw 1/4-20 x 1/4 2
26 1200415 Bolt, 10-32 x 1/4
27 8700024 Pulley, Drive
28 4400410 Nut 8M x 1.25 4
29 7510094 Feet 4
30 1200012 Screw, Phil HD 10-3 2 x 1/2 6
31 4400414 Washer, Flat 1/4 4
32 8700026 Spring, Compression 2
33 4400415 Sleeve (Long) 2
34 1200411 Screw, Hex BD 1/2-20 x 2 2
35 1200413 Screw, Hex HD 1/4-20 x 1 1/2 2
36 4400416 Sleeve (Short) 2
37 8700032 Spacer, Isolator 4
38 4400398 Cable Tie 3
39 1012042 Strain Relief
40 8800100 Cord, Electric 115V
8800100-2 Cord, Electric 220V
41 Reserved
42 1030307E Motor, I HP. 115V, 60HZ
Motor, i HP, 220V, 60HZ
43 4400417 Sleeve, Spring 2
44 1200076 Washer no. 10 2
45 8700022 Label, Attention (Not Shown)
46 4400351 Label, Caution (Not Shown)
47 1200060 Nut, Hex 10-32 5
48 4400065 Lockwasher, #10 4
FOR CSA ONLY)
40 8800100-1 Cord, Electric 115V
49 4400239 Circuit Breaker
50 4400227 Label, Reset (Not Shown)
PDF compression, OCR, web optimization using a watermarked evaluation copy of CVISION PDFCompressor