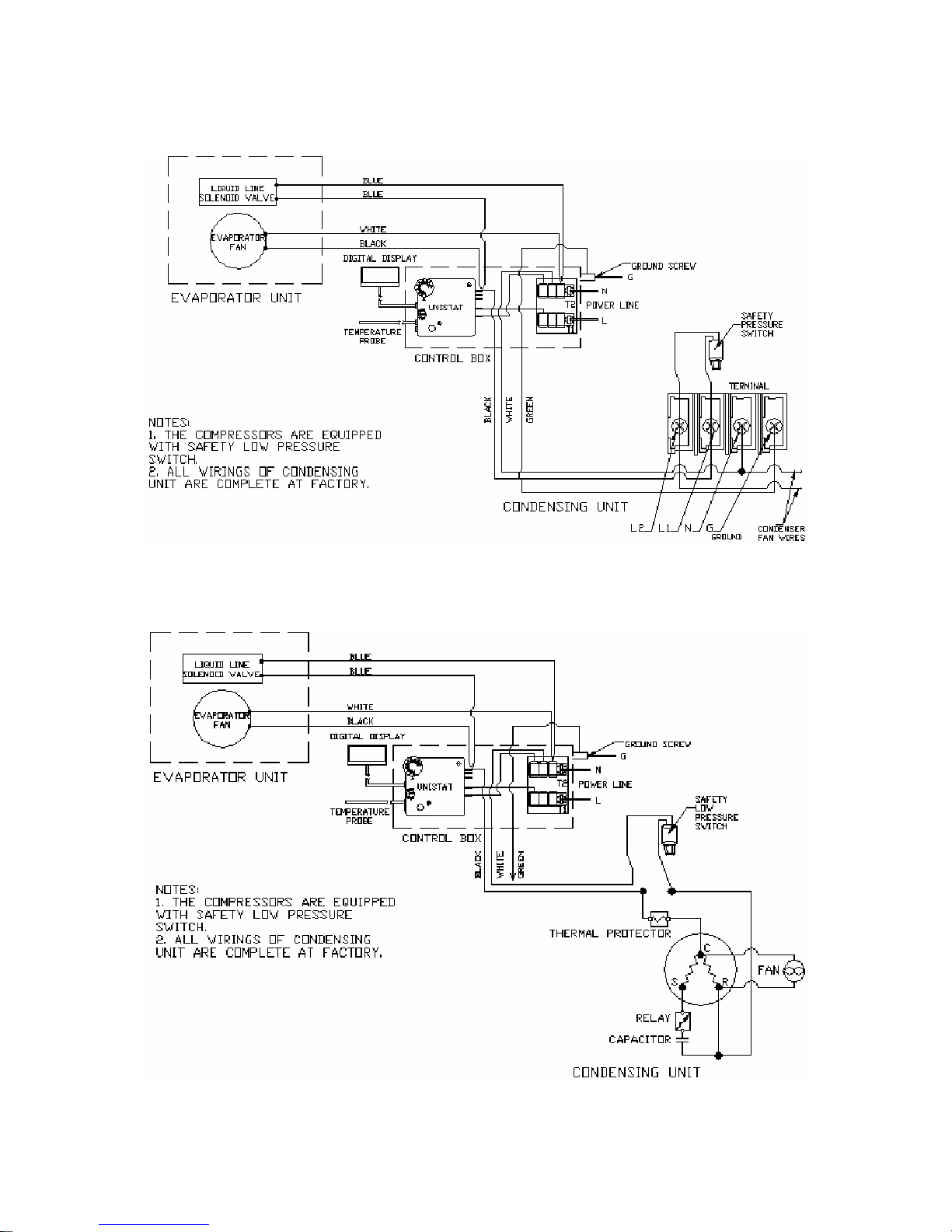
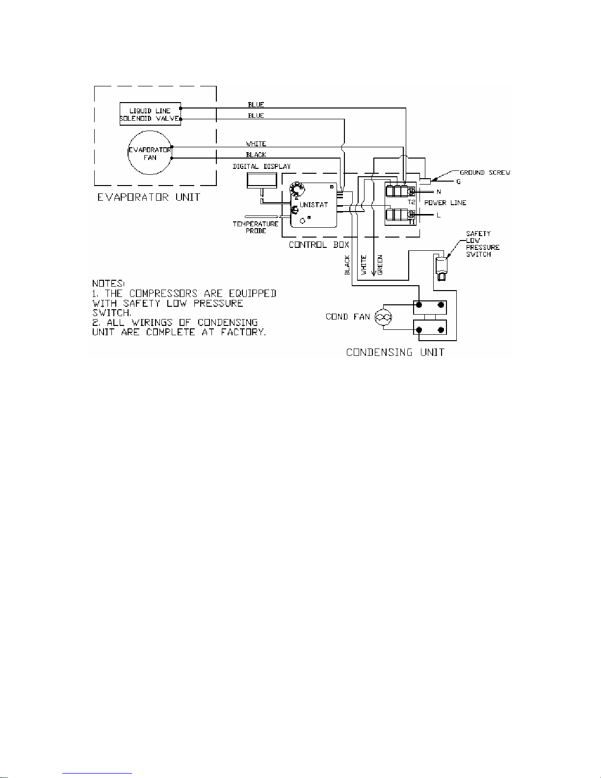
Vinotemp 4500DS Manuale utente
Altri manuali Vinotemp Refrigeratore per vino

Vinotemp
Vinotemp VT-155SBW Manuale utente

Vinotemp
Vinotemp VT-12TEDTS-2Z Manuale utente

Vinotemp
Vinotemp VT-48TEDS-2Z Manuale utente

Vinotemp
Vinotemp VT-6TED-WB Manuale utente

Vinotemp
Vinotemp WINE-MATE VINO-2500SSR Manuale utente

Vinotemp
Vinotemp VT-52SN Manuale utente

Vinotemp
Vinotemp VT-15 TS Manuale utente

Vinotemp
Vinotemp Wine-Mate WM-6520SSV Manuale utente

Vinotemp
Vinotemp VT-BORDEAUX1 Manuale utente

Vinotemp
Vinotemp VT24 Manuale utente

Vinotemp
Vinotemp VT-8WC-OP Manuale utente

Vinotemp
Vinotemp WINE-MATE WM-1500HZD Manuale utente

Vinotemp
Vinotemp VT-32 Manuale utente

Vinotemp
Vinotemp VT-6TEDS Manuale utente

Vinotemp
Vinotemp VT-CAVA1 Manuale utente

Vinotemp
Vinotemp WINE-MATE WM-1500HTD Manuale utente

Vinotemp
Vinotemp WINE-MATE WM-4520SSH Manuale utente

Vinotemp
Vinotemp VT-34-2ZONE Manuale utente

Vinotemp
Vinotemp VT-6TEDS Manuale utente

Vinotemp
Vinotemp Wine-Mate WM-1500CD Istruzioni per l’uso































