
7
1 Informations fondamentales
1.1 Objectif de ce document
Cette notice d’utilisation est garante d’une utilisation conforme et sûre de
l’appareil. Elle doit, pour cette raison, avoir été lue consciencieusement avant
la mise en service de l’appareil par les personnels de montage et de mainte-
nance qui se doivent de la respecter. Cette notice doit toujours se trouver à
portée de la main dans un endroit facilement accessible.
1.2 Symboles de sécurité
Ce symbole indique une situation potentiellement dangereuse.
Le non-respect des notes marquées de ce symbole peut avoir des consé-
quences graves pour la santé ou conduire à des dommages matériels.
2 Fonctionnement
L'appareil a été conçu pour l'alarme, l'appel et la signalisation dans des zones
explosibles dont le danger est d'origine gazeuse. Le groupe auquel appar-
tient l'appareil II catégorie 2G permet toutes les utilisations dans les zones Ex 1
et 2. La protection antidéflagrante est atteinte par la protection par enro-
bage " m ", sécurité propre " i " et sécurité renforcée " e " dans la zone de bran-
chement.
3 Conformité
L’appareil répond aux normes et directives suivantes:
• Directive 94/9/CE (ATEX), 89/336/CEE (CEM)
• EN 50014 , EN 50028, EN 50020, EN 50019, EN 61000-6-2, EN 61000-6-3
4 Consignes de sécurité
• L’appareil est uniquement destiné à l’utilisation décrite au point
« fonctionnement ». Toute autre utilisation est interdite du fait des dangers
pouvant provenir d’une utilisation non-conforme.
• Les directives nationales de sécurité et de protection contre les accidents
doivent être respectées.
• Si une panne ou un défaut de l’avertisseur présentait un danger pour le
personnel ou les installations, des mesures de sécurité supplémentaires doi-
vent être mises en place pour prévenir celui-ci.
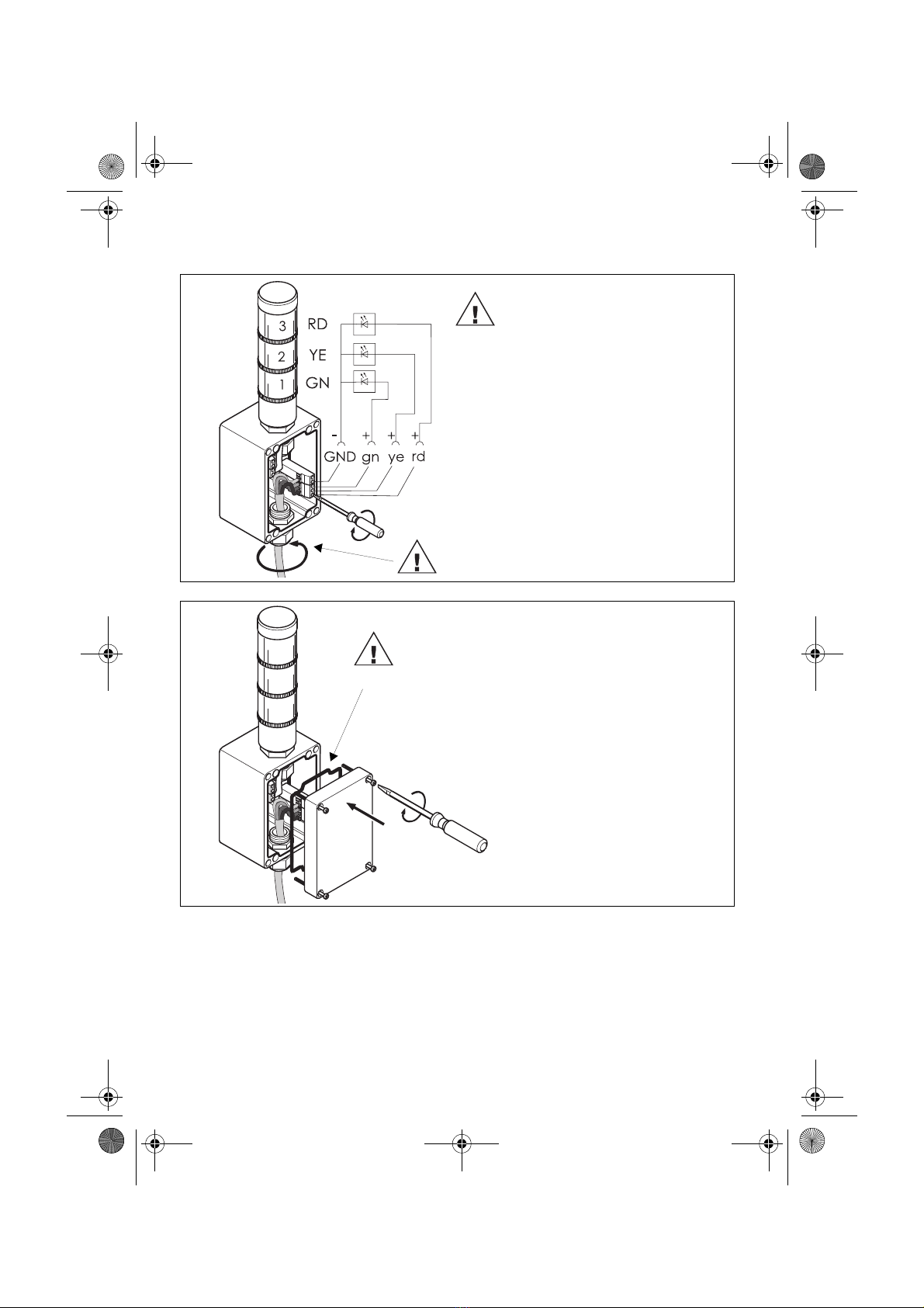
• Branchement à effectuer par un électrotechnicien confirmé. Respecter les
instructions spécifiques.
• Le branchement de l'alimentation est réalisé en utilisant un raccord de
câble vissé (M20 x 1,5) et se fait dans l'espace sous le couvercle (voir des-
sins à partir de la page 9). Fixer le câble d'alimentation s'il s'agit d'un câble
non blindé ou souple.
• Avant de connecter l'appareil et en cas de défaut de celui-ci, couper la
tension du réseau. Prendre des mesures de sécurité pour éviter toute
remise en marche accidentelle.
• N’employer l’appareil que lorsqu’ il est complètement monté. Des forures
ou des manipulations au boîtier antidéflagrant sont à éviter.
• Respecter la tension nominale indiquée.
F
OFF
NENNSPANNUNG
NOMINAL VOLTAGE
TENSION NOMINALE
310_741_001_0710.fm Seite 7 Donnerstag, 15. Juli 2010 6:18 18