
Read all Warnings & Cautions before operating your
FX Power Source 12 Power Supply
1. Keep these instructions –The safety and operating instructions should be retained for future
reference.
2. All warnings, cautions and instructions should be adhered too for safe operation of your FX
Power Source 12 power supply.
3. Follow all operating and use instructions for safe operation of this unit.
4. WARNING!!! This Power supply is designed to operate at 110-120V AC Only! Do not plug into
a 220- 240V AC outlet! Or risk of shock resulting in serious injury or death may occur.
5. WARNING!!! The lightning flash with arrowhead symbol within an equilateral triangle is
intended to alert the user to the presence of non-insulated “dangerous voltage” within the
product’s enclosure that may be of sufficient magnitude to constitute a risk of electric shock.
6. WARNING!!! To reduce the risk of fire or electric shock, do not expose this power supply to rain
or moisture. The unit should not be exposed to liquids of any kind. Any objects or containers
filled with liquids, such as drinks or beverages shall not be placed on top of or near the unit.
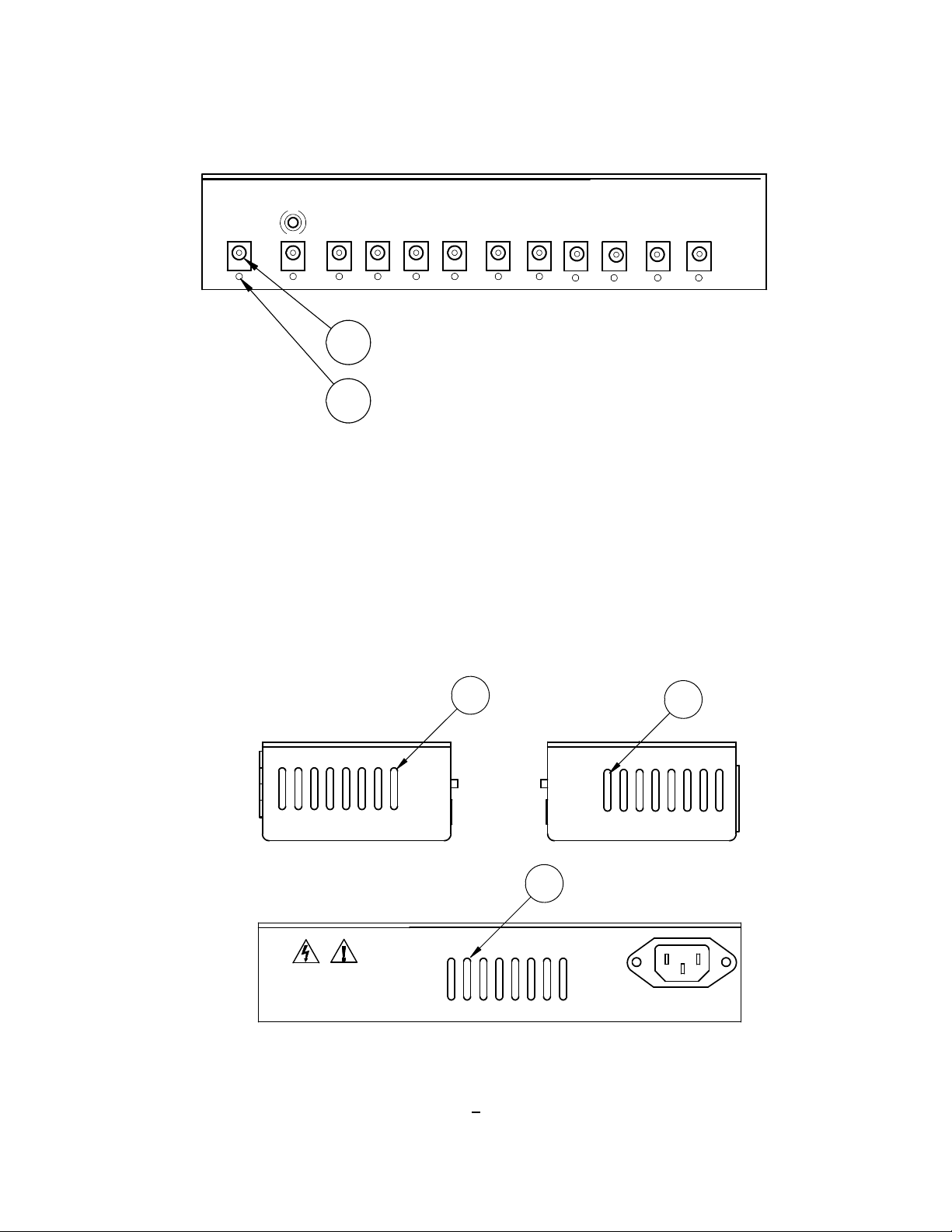
7. WARNING!!! If you are mounting into a surface thicker than .125" [3.18mm] or thicker a
longer screw may be required. Remember that Max protrusion depth into the power supply must
be no more than .250" [6.35mm]. If this warning is not heeded, the presence of non-insulated
“dangerous voltage” within the product’s enclosure may be of sufficient magnitude to constitute a
risk of electric shock.
8. WARNING!!! Do not defeat the safety purpose of the grounding plug. A grounding plug has two
blades and a third grounding prong. The grounding prong is provided for your safety.
9. CAUTION!!! The exclamation with arrowhead symbol within a equilateral triangle is intended to
alert the users to the risk of damage to the FX Power Source 12 power supply if cautionary
instructions are not followed.
10. CAUTION!!! To prevent risk of overheating or damage to the FX Power Source 12 power
supply. Do Not Block any ventilation openings! The ventilation should not be impeded by
covering the ventilation openings with items such as, tape, fabric, Velcro or any potentially
flammable material.
11. CAUTION!!! To prevent risk of overheating or damage to the Power Source 12 power supply.
Mount per the FX Power Source 12 Mounting Instructions!
12. Clean only with a dry cloth.
13. Do not install near any heat sources that produce heat.
14. Protect the power cord from being walked on or pinched. Especially near the plugs, convenience
receptacles, and at the point where they exit from the unit.
15. Follow all instructions and recommendations regarding attachments/ accessories specified by the
manufacturer.
16. Only use this unit as prescribed and specified by the manufacturer to power effects pedals.
17. Unplug the unit during lightning storms or when unused for long periods of time.
18. Refer all servicing to qualified personnel. Service is required when the power supply has been
damaged in any way –such as power supply cord or plugs damage; if any liquid or foreign
objects have gotten inside the unit; if it has been exposed to rain or moisture; has been dropped;
or does not otherwise operate normally.
19. Caution: Do not plug devices (such as effects pedals) in until you have verified the applicable
output is rated for the matching voltage of your device or set to the correct voltage of
your device. If you do not set the correct voltage to match the voltage on your device damage
may occur to your device.
3