
Biodrier Business
High speed Hand Dryer
2
Operating Instructions and Parts Manual
General Safety Information: :
WARNING This product is intended for
installation by a qualified service person.
Use AWG No. 16 solid conductor for wiring.
WARNING Disconnect power at the service
breaker before installing or servicing.
NOT FOR HOUSEHOLD USE –MAY CAUSE BURNS.
‘’IMPROPRE A L’USAGE DOMESTIQUE – PUET
OCCASIONNER.’’
WARNING Failure to properly ground unit
Could result in severe electrical shock
And/or death.
WARNING All units must be supplied with a 3-
wire service. The ground wire must be
connected to the dryer’s back plate.
* Note : Do not install dryer over washbasin *
Type Y attachment
If the power supply cord is damaged, it must be replaced by the manufacturer or its service
agent or a similar qualified person in order to avoid a hazard.
Means for disconnection must be incorporated in the fixed wiring in accordance with the
wiring rules.
Installation:
1. Make sure power supply breaker is switched off. Installation must be carried out in
accordance with the current edition of local wiring regulations code having jurisdiction.
Installation should be performed only by a qualified electrician.
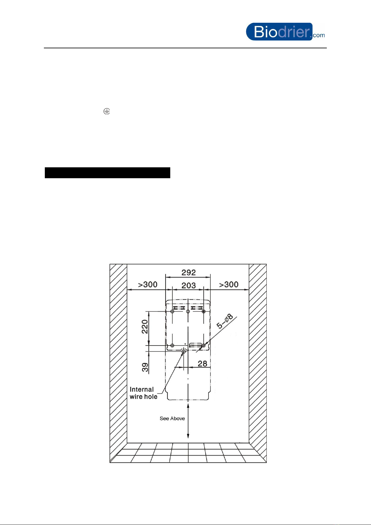
2. Place template against wall at desired height (see mounting height recommendations)
and mark locations of 4 mounting holes and wire service entry at knockout (KO)
location.
Note: for two or more dryers, dryers should be no closer than 24 inches (610 mm) on
centre.
3. Remove and retain 2 cover screws and cover.