
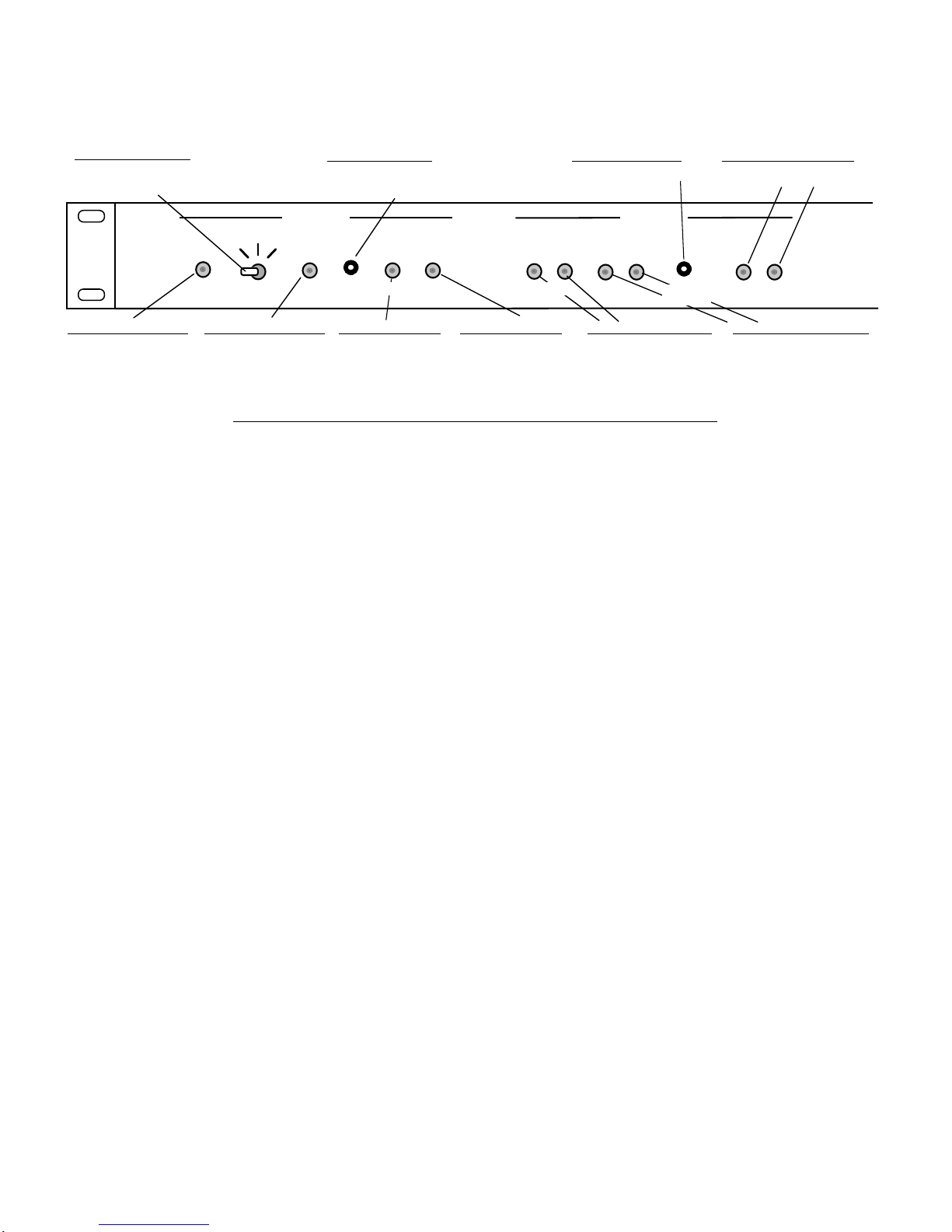
2.3.1 PC Board Settings
NOTE: Dot position means jumper goes from pins 1-2; non-dot means jumper goes from pins 2-3
JP1 - 3-pin jumper - 3-pin jumper that works with JP3
In the dotted position when CH1 alarms the 1582-22L will switch to CH2 until CH2 alarms. At this
point, if CH1 is still in alarm, the switch will stay on CH2. When the CH1 alarm clears if CH2 is still in
alarm, the switch will switch to CH1.
• JP1 normal position - dot (operates in conjunction with JP3 as noted below)
JP2 - Input Alarm Condition 3-pin jumper
In the dotted position open is normal, ground is alarm
In the non-dot position ground is normal, open is an alarm.
• JP2 normal position - dot
JP3 - LATCH to CH2 mode ON / OFF - 3-pin jumper effective when JP1 is in the non-dot position.
With JP3 in the dot and JP1 in the non-dot, when channel 1 alarms, the 1582-22L switch switches to
channel 2 and stays there until the reset button is pushed on the front panel or by an external closure to
ground on the remote RESET pin on J7, and then it switches to channel 1. (If channel 1 alarms are
cleared ). If in the ICS mode and originally set to CH2 the 1582-22L will not switch if CH2 alarms.
Only the RESET functions (front panel pushbutton or J7 closure to ground) will return the switch to
CH1.
With JP3 in the non-dot and JP1 in the non-dot, when channel 1 alarms the 1582-22L switches to
channel 2 until the alarm on channel 1 clears and then the 1582-22L switches back to channel 1
automatically.
• JP3 normal position - dot
JP4 - CH2 Alarm Enable / Ignore - 3-pin jumper
Dotted position - Failure in CH1 will cause a switch to CH2 even if CH2 is in alarm. LEDs will
correctly show CH2 alarm status.
Non-dotted position - Failure in CH1 will cause a switch to CH2 only if CH2 is not in alarm.
• JP4 normal position - non-dot
S4 - Initial Channel Select (ICS) Mode - 4-position DIP switch Selects the Initial Channel Select mode
when JP1, JP2, JP3 in Dot and JP4 in Non-dot.
S4 positions 1,2,3,4 to ON - ICS enabled. In the ICS mode, the initial channel can be either CH1 or
CH2 by switching the front panel MANUAL SELECT switch to either CH1 or CH2 and then back to the
AUTO position or by grounding either REMOTE 1 or REMOTE 2 pins on J7 and then grounding the
REMOTE RESET pin on J7 causing the 1582-22L to go back to AUTO in the channel last selected
remotely if both channel alarms are clear or both channels are in alarm. The initial channel can also be
selected if both channel alarms are clear or both channels are in alarm..
S4 positions 1,2,3,4 to OFF - ICS disabled (Minimum Auto switching, Return to Last State Mode)
The 1582-22L goes to the last state (CH1 or CH2) it was in when in AUTO after manually or remotely
switching and returning to AUTO. Auto switching occurs only if current channel alarms and the other
channel is clear.
S4 normal position - 1,2,3,4 to ON
1582-22L Manual, Rev. C Page 8 06/13/11