
Intel Installa�on
Step 3-1
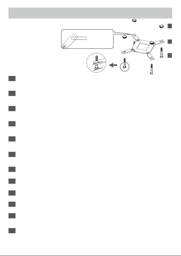
*LGA1200/1150/1151/1155/1156/1366
EN
IT
ES
PL
TW
KR
RU
Insert the position screws into the proper holes on the back plate. Then use the washers to fix the
position screws.
《If your CPU platform is Intel 1700, please skip to step 3-2》
《If your CPU platform is Intel 2011/2011-3/2066, please skip to step 4-2》
Setzen Sie die Positionsschrauben in die entsprechenden Löcher auf der Rückplatte ein. Verwenden
Sie dann die Unterlegscheiben, um die Positionsschrauben zu fixieren.
《Wenn Ihre CPU-Plattform Intel 1700 ist, fahren Sie bitte mit Schritt 3-2》 fort.
《Wenn Ihre CPU-Plattform Intel 2011/2011-3/2066 ist, fahren Sie bitte mit Schritt 4-2》 fort.
Insérez les vis de position dans les emplacements correspondants situés sur la plaque arrière. Utilisez
ensuite les rondelles pour fixer les vis de position.
《Si votre socket Intel est LGA 1700, veuillez passer à l'étape 3-2》
《Si votre socket Intel est LGA 2011/2011-3/2066, veuillez passer à l'étape 4-2 》
Inserire le viti di posizione nei fori appropriati sulla piastra posteriore. Quindi utilizzare le rondelle per
fissare le viti di posizione.
《Se la piattaforma CPU è Intel 1700, andare al passaggio 3-2》
《Se la piattaforma CPU è Intel 2011 / 2011-3 / 2066, andare al passaggio 4-2 》
Introduzca los tornillos de posición en los agujeros correspondientes de la placa trasera. A continuación
utilice las arandelas para fijar los tornillos de posición.
《Si la plataforma de su CPU es Intel 1700, por favor, vaya al paso 3-2》
《Si la plataforma de su CPU es Intel 2011/2011-3/2066, por favor, vaya al paso 4-2 》
Włóż śruby pozycjonowania do odpowiednich otworów na płycie tylnej. Następnie użyj podkładek
do zamocowania śrub pozycjonowania.
《Jeżeli posiadana platforma CPU to Intel 1700, przejdź do czynności 3-2》
《Jeżeli posiadana platforma CPU to Intel 2011/2011-3/2066, przejdź do czynności 4-2 》
在背板上依系統CPU腳位所標示的孔位插入定位螺絲並套上墊圈固定
《如果您的主機板是Intel LGA1700,請直接跳至步驟3-2》
《如果您的主機板是Intel LGA2011/2011-3/2066,請直接跳至步驟4-2 》
在背板上根据系统CPU脚位所标示的孔位插入定位螺丝,并套上垫圈固定
《如果您的主板是Intel LGA1700,请直接跳至步骤3-2》
《如果您的主板是Intel LGA2011/2011-3/2066,请直接跳至步骤4-2 》
バックプレートの適切な穴にポジションスクリューを挿入、ワッシャーを使用してバックプレートを挟み込みます。
「CPUプラットフォームがIntel1700の場合は、ステップ3-2にスキップしてください。」
「CPUプラットフォームがIntel2011 / 2011-3 / 2066の場合は、ステップ4-2にスキップしてください。」
백플레이트(C) 구멍에 포지션스크류(D)를 삽입 한 후 와셔(K)로 고정하세요.
(CPU 플렛폼이 Intel 1700인 경우, Step3-2 참조)
(CPU 플렛폼이 Intel LGA2011/2011-3/2066인 경우, Step 4-2 참조)
Masukan baut kedalam lubang yang sesuai pada backplate, lalu gunakan ring plastik untuk memperkuat
posisi baut.
《jika menggunakan processor intel dengan platform 1700, silahkan lanjutkan ke langkah 3-2》
《jika menggunakan processor intel dengan platform 2011/2011-3/2066, silahkan lanjutkan ke langkah 4-2 》
Установите винты для крепежной пластины в соответствующие отверстия для вашегопроцессора.
Установите промежуточные стойки на винты.
《Если ваша CPU платформа является Intel LGA1700, пожалуйста, перейдите к шагу номер 3-2 》
《Если ваша CPU платформа является Intel LGA2011/2011-3/2066, пожалуйста, перейдите к шагу номер 4-2 》
K