
2
Rangierhilfe RH 1
Sicherheitshinweise
Vor dem ersten Einsatz der Rangierhilfe auf freiem Gelände
üben, um sich mit den Funktionen der Fernbedienung
bzw. der Rangierhilfe vertraut zu machen.
Vor jedem Einsatz der Rangierhilfe Reifen und Antriebsrollen
kontrollieren; gegebenenfalls scharfkantige Steine und Ähn-
liches entfernen.
Während des Betriebs dürfen sich keine Personen im Wohn-
wagen befinden.
Im Einsatzbereich der Rangierhilfe dürfen sich keine
Personen (insbesondere Kinder) aufhalten.
Beim Betrieb der Rangierhilfe muss darauf geachtet werden,
dass keine Haare, Gliedmaßen, Kleidung oder andere am
Körper befindlichen Teile von beweglichen und / oder rotie-
renden Teilen (z. B. Antriebsrollen) erfasst werden können.
Beim Rangieren darf der Abstand zwischen Funk-Fern-
bedienung und Wohnwagenmitte max. 10 m betragen!
Bei Funktionsstörungen Handbremse anziehen.
Um ein Kippen des Wohnwagens zu vermeiden, beim
Rangieren an Steigungen die Deichsel nach unten
(talwärts) richten.
Nach dem Rangieren stets zuerst die Handbremse anziehen,
die Antriebsrollen vom Reifen abschwenken und die Rä-
der (insbesondere auf abschüssigen Flächen!) blockieren.
Die Rangierhilfe ist nicht als Feststellbremse für den abge-
stellten Wohnwagen geeignet.
Die Funk-Fernbedienung unbedingt vor unbefugtem Zugriff
sichern (dabei vor allem auf Kinder achten!).
Den Wohnwagen niemals mit angelegten Antriebsrollen
ziehen, da dies zu Schäden an den Reifen, am Zugfahrzeug
und an den Antriebseinheiten führen kann.
Alle Räder und Reifen am Wohnwagen müssen von
derselben Größe und Bauart sein.
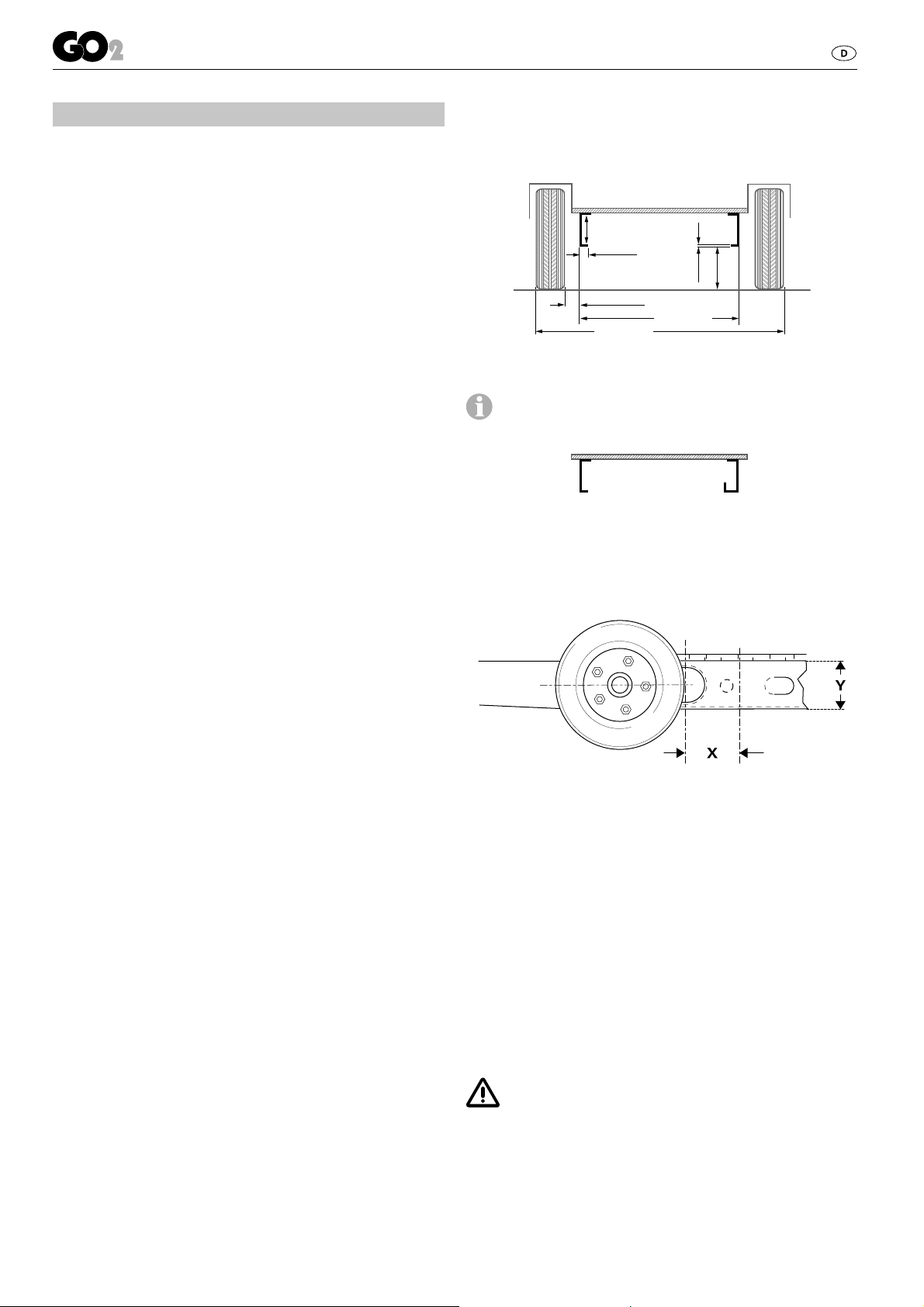
Um eine einwandfreie Funktion der Rangierhilfe zu ge-
währleisten, muss der Abstand zwischen Reifen und
abgeschwenkten Antriebsrollen 20 mm betragen. Alle Reifen
müssen – gemäß Herstellerangaben – den gleichen Reifen-
druck haben (regelmäßige Kontrolle!). Reifenverschleiß oder
Montage neuer Reifen macht gegebenenfalls eine Neuein-
stellung des Abstandes Antriebsrollen / Reifen notwendig
(siehe „Montage der Antriebselemente“).
Beim Aufbocken darf die Rangierhilfe nicht als Auflagepunkt
verwendet werden, da dies zur Beschädigung der Antriebs-
einheit führen kann.
Empfindliche Gegenstände, wie Kameras, DVD-Spieler usw.,
dürfen nicht im Staukasten in der Nähe der Steuerung oder
der Motorkabel aufbewahrt werden. Die starken elektromag-
netischen Felder könnten sie beschädigen.
Das Leergewicht des Fahrzeuges erhöht sich um das Ge-
wicht der Rangierhilfe, dadurch verringert sich die Nutzlast
des Fahrzeuges.
–
–
–
–
–
–
–
–
–
–
–
–
–
–
–
–
Allgemeine Hinweise
Die Rangierhilfe RH1 wurde zur Überwindung von Steigungen
bis ca. 25 % bei 1200 kg beziehungsweise 15 % bei 1800 kg
Gesamtgewicht auf geeignetem Untergrund entwickelt.
Die Rangierhilfe kann je nach Wohnwagengewicht Hindernisse
ab einer Höhe von etwa 2 cm nicht ohne Hilfsmittel überwinden
(verwenden Sie bitte Auffahrkeile).
Aufgrund der charakteristischen Eigenschaften eines Funksig-
nals kann dieses durch Gelände / Gegenstände unterbrochen
werden. Hierdurch wird in kleinen Bereichen um den Caravan
herum die Empfangsqualität reduziert, wodurch der Betrieb der
Rangierhilfe eventuell kurzzeitig unterbrochen werden kann.
Nach dem Abschalten der Rangierhilfe mit der Fernbedie-
nung ist die Steuerung weiterhin in Stand-by. Zum kom-
pletten Abschalten muss die Batterie abgeklemmt oder ein
Trennschalter eingebaut werden.
Batterien
Für den Betrieb empfehlen wir sogenannte Antriebs- bzw. Be-
leuchtungsbatterien. Auch Gel-Batterien sowie Batterien mit
Rundzellentechnologie sind geeignet.
Diese Batterien sind für hohe Stromentnahmen und zyklenfest
ausgelegt. Der Stromverbrauch der Rangierhilfe beträgt bei
maximaler Steigung und maximalem Gewicht bis zu max. 120 A.
Die Auswahl der korrekten Batterie ist abhängig von der Ein-
satzzeit bzw. vom Einsatzbereich (weitere Verbraucher im
Wohnwagen). Für den Betrieb der Rangierhilfe empfehlen wir
Batterien mit einer Kapazität ab ca. 60 Ah.
Beispiel:
Eine vollgeladene Blei-Säure-Batterie mit einer Kapazität von
60 Ah ermöglicht einen Betrieb der Rangierhilfe in Volllast von
ca. 30 Minuten (abhängig vom Gewicht des Wohnwagens, Bat-
terietyp, Gelände). Bei ebenem Gelände hat die Rangierhilfe
eine durchschnittliche Stromaufnahme von ca. 20 A und somit
eine Betriebszeit von ca. 3 Stunden.
Bei Verwendung von Gel-Batterien oder Batterien mit Rund-
zellentechnologie können auch kleiner bemessene Batterien
verwendet werden.
Batterien mit größerer Kapazität ermöglichen einen längeren
Betrieb.
Funktionsbeschreibung
Vor Inbetriebnahme unbedingt Gebrauchsanweisung und
„Sicherheitshinweise“ beachten! Der Fahrzeughalter ist für
die korrekte Bedienung des Gerätes verantwortlich.
Bitte beachten Sie, dass sich die Rangierhilfe nur für ein-
achsige Anhänger eignet.
Die Rangierhilfe ist ein System, mit dem ein Wohnwagen ohne
Zuhilfenahme des Zugfahrzeuges bewegt werden kann.
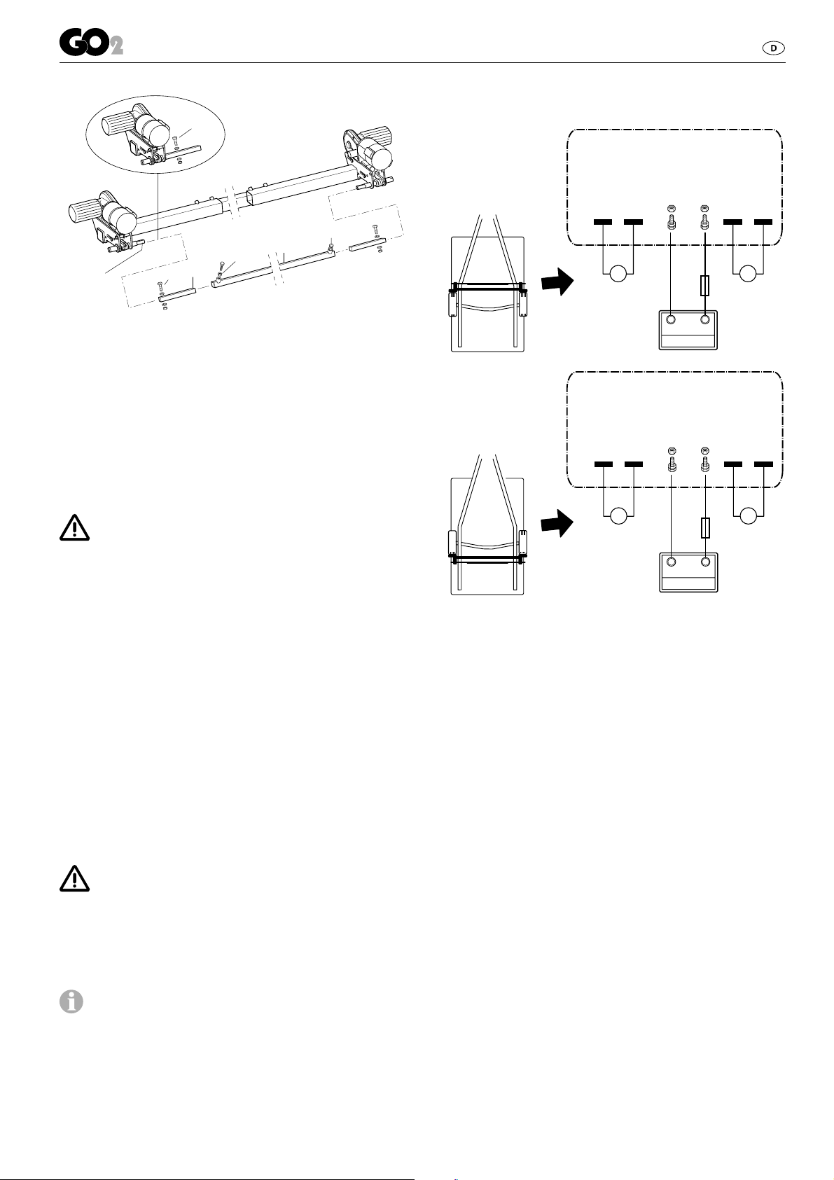
Die Rangierhilfe besteht aus zwei getrennten Antriebseinheiten,
die jeweils über einen eigenen 12 V-Gleichstrommotor verfü-
gen. Diese Einheiten werden jeweils in unmittelbarer Nähe der
Räder am Fahrzeugrahmen montiert und mittels Querstangen
verbunden.
Nach dem Anschwenken der Antriebsrollen an die Reifen mit-
tels des beiliegenden Anschwenkhebels ist die Rangierhilfe
einsatzbereit. Die Bedienung erfolgt ausschließlich über die
Fernbedienung. Diese sendet Funksignale an die Steuerung.
Eine gesondert installierte 12 V-Bleisäure-Batterie oder geeig-
nete Blei-Gel-Batterie (nicht im Lieferumfang) versorgt die
Steuerung mit Strom.