
3
Revision date: 11.29.21
GROWSPAN™ROUND PREMIUM EXTRA TALL HIGH TUNNELS
ASSEMBLY PROCEDURE
Following the instructions as presented will help ensure the
proper assembly of your high tunnel. Failing to follow these
steps may result in an improperly assembled and anchored
high tunnel and will void all warranty and protection the
owner is entitled. The steps outlining the assembly process
are as follows:
1. Verify that all parts are included in the shipment. Notify
Customer Service for questions or concerns.
2. Read these instructions, the Must Read document, and
all additional documentation included with the shipment
before you begin assembling the high tunnel.
3. Gather the tools, bracing, ladders (and lifts), and
assistance needed to assemble the high tunnel.
4. Check the weather before you install the roof cover
and any panels (if equipped). Do not install covers or
panels on a windy or stormy day.
5. Re-evaluate the location and site based on the
information and precautions presented in the
documentation included with the shipment.
6. Prepare the site (if applicable).
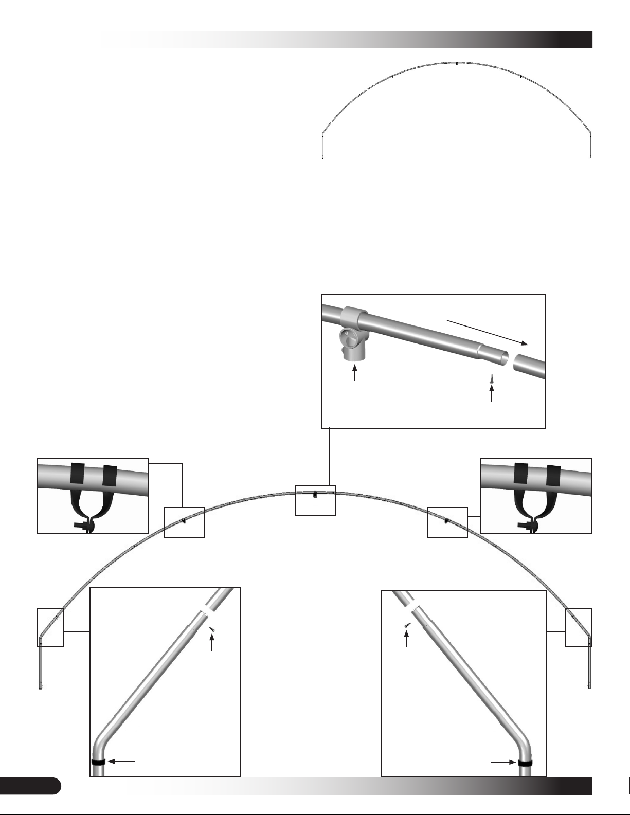
7. Assemble the frame components in the order they are
presented in these instructions.
8. Assemble the frame including the struts (if equipped).
9. Consult the MUST READ document and properly
anchor the assembled frame.
10. Install, tighten, and secure the end panel and main
cover (if equipped). This applies to fabric covers that
stretch over the frame assembly. Your shelter may
include roof panels or side panels or both.
11. Read the Care and Maintenance information at the end
of these instructions.
12. Complete and return all warranty information as
instructed.
REQUIRED TOOLS
The following list identifies the main tools needed to
assemble the shelter. Additional tools and supports may be
needed depending on the structure, location, and
application.
• Tape measure or measuring device; fine point marker
to mark the location on tubing.
• Variable speed drill and driver (cordless with
extra batteries works best)
• Wrench, ratchet and socket (recommended)
• Scissors and metal file.
• Ropes long enough to reach over the frame.
• Hammers and gloves
• Duct tape (supplied by customer)
• Box cutter or utility knife
• Ladders, work platforms, and other machinery for lifting
designed to work safely at the height of the frame
UNPACK AND IDENTIFY PARTS
The following steps will ensure that you have all the
necessary parts before you begin to assemble the shelter
frame.
1. Unpack the contents of the shipment and place where
you can easily inventory the parts. Refer to the Bill of
Materials/Spec Sheets.
2. Verify that all parts listed on the Bill of Materials/Spec
Sheets are present. If anything is missing or you have
questions, consult the Pictorial Parts Guide and all
diagrams for clarification, or contact Customer Service.
NOTE: At this time, you do not need to open the plastic
bags containing smaller parts such as fasteners or
washers (if equipped).