
前言
感謝您購買使用 NT67 系列縫紉機,為了使縫機發揮最高的使用效率,
請參照本說明書所揭載的各項說明及安全注意事項。
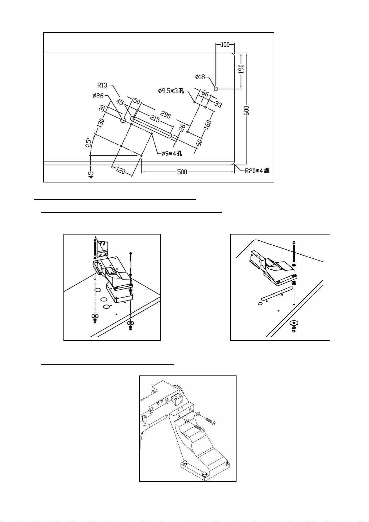
本說明書裡的各項解說及相關數值是以 NT67-12M5 為基準。
其他的延伸機型雖然部份零件有所差異,本說明書也能適用。
本說明書內容均屬於本公司所有的智慧財產,非經許可不得轉載、複印。
本說明書內容僅為提供資訊,如有任何變更不做預告,同時所提供的資訊
本公司不負任何法律責任。
Thank you very much for purchasing Kingtex brand of NT67 series machine.
this instruction manual describes daily routine Maintenance and safety
precautions to keep the machine in the best possible conditions.
Please study this manual very carefully before operating the machine.
安全注意事項
1. 運轉前一定要安裝皮帶蓋。
2. 電源線一定要確實的固定,並接好地線。
3. 在做清掃、調整、維修等工作時,一定要切斷電源,同時等到馬達完全停止後,
才可進行。
4. 新的縫機在使用後的第一個月或使用後 150 小時內,轉速請勿超過 3000RPM。
5. 請使用正確的潤滑油 VG68/ISO。
6. 請在使用前,各活動關節部位滴少許潤滑油。
7. 請在每次使用後,清理縫機上的線絮布屑。
FOR SAFETY
1.Make sure Belt Cover and Motor Cover are properly fitted.
2.Use maximum caution when you connect Power Cord to Machine as well as
when you check the machine before switching power on.
3.Turn off Motor Switch whenever you leave the work table.
4.Turn off Motor Switch in the event of power failure.
5.Make sure Motor has completely stopped when attempting to clean, inspect,
threading, replace Needles, etc.