
Page 2 of 6
FXLD818FRP4I LED FIXTURE
Version0.1 OWNERSMANUAL 06/06/2013
www.lightronics.com
Lightronics Inc. 509 Central Drive Virginia Beach, Va 234354 757 486 3588
If your console uses a 5 pin connector you can make up
an adapter cable to accommodate this. The table below
shows the pin assignments for BOTH the 3 pin and 5
pin connectors.
DMX TERMINATION
A DMX chain should be terminated at the last
receiving device on the chain. This is done by
installing a commonly available 1/4 Watt, 120 Ohm
resistor across the DATA - and DATA + wires at the
last device. If you have only a few fixtures very close
together and a very short run to the controller then you
may be able to operate without the terminator.
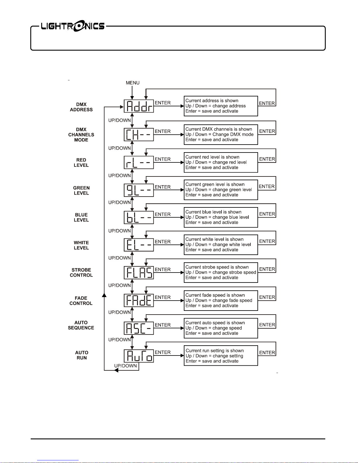
OPERATION
A control panel on one side of the unit is used to set the
operating options. It consists of an LED display and
four buttons
(MENU, UP, DOWN, and ENTER)
Push
MENU
to access the operating options. Then use
UP
and
DOWN
to scroll through the available choices.
When you reach the option you want to set or change -
push
ENTER
.Now you can view the current setting
for the option and/or change it. Push
ENTER
to save
your changes and activate the option. See the "MENU
NAVIGATION" diagram for additional details.
There are 9 operation modes: DMX, Red Level, Green
Level, Blue Level, White Level, Strobe, Fade, Auto
Sequence, and Auto Run.
DMX OPERATION
Use the Addr menu to set the starting address of the
unit. You can set the starting address of the unit with
the UP and DOWN buttons.
For DMX operation the FXLD818FRP4I fixture can be
configured as a 4 channel, 5 channel, or 7 channel unit.
Set the CH - - menu to A001(4 channel), P001
(5 channel), or F001(7 channel) operation.
Detailed information on DMX channel operation is
given in the tables
DMX VALUES AND FUNCTIONS
.
MANUAL OPERATION
For manual operation the red, green blue, and white
LED intensity levels may be independently set. Use
the rL - -, gL - -, bL - -, and EL - -, menus to set
the levels. The range is from 00 to 100. 00 is OFF.
STROBE MODE (
FLAS
)
The Strobe mode causes the unit to flash all led's. The
speed is user controllable by using the FLAS menu.
The speed range is 1 - 100. 100 is fastest.
AUTO FADE
(FAdE)
The Auto Fade mode cycles smoothly through a
sequence of seven colors. Use the FADE menu to set
the speed and activate the option. The range is from 0
to 100. 100 is fastest.
AUTO SEQUENCE (
ASC -
)
The AUTO SEQUENCE mode switches continuously
through a sequence of colors. Use the ASC - menu to
set the sequence speed. The range is from 1 to 100.
100 is fastest.
AUTO RUN (
Auto
)
The unit can operate using 100 preset programs.
Programs 0 thru 49 are a variety of colors and patterns.
Programs 50 thru 100 are similar but are sound synced
to music base notes.
Use the Auto menu to select and activate a preset
autorun program.
PIN # SIGNAL NAME
1 DMX COMMON
2 DMX DATA -
3 DMX DATA +
4 NOT USED
5 NOT USED
MENU UP DOWN ENTER
CONTROL PANEL