
KVM Switch User’s Guide
2
Features
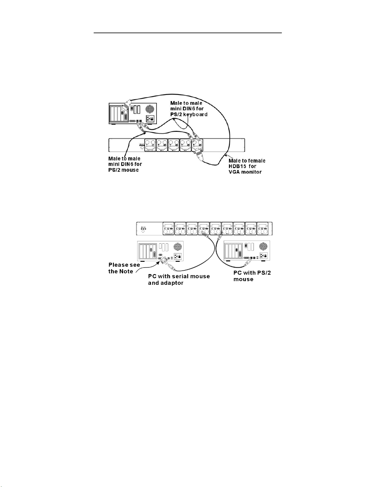
PC port supports both PS/2 and serial mouse (specify adaptor)
Supports Microsoft IntelliMouse (Pro), Optical, Mouse Man,
Wheel Mouse, Scroll Point and Serial Mouse,…,etc.
Keyboard states automatically saved and restored when computer
channel switching
Hot-key functions available for easy access computers
Single hot-key for channel left/right shift sequentially. (left/right Alt )
Auto-scan can automatically switch computers sequentially
(OSD model can setting auto-scan conditions)
Buzzer sound On/Off selectable
Hot-key Scroll Lock/Caps Lock selectable
Cascade configuration expands system capability (64 to 4096 PCs)
Operating system independent, transparent to all applications, no any
software or hardware add
Plug and play system configuration
Keyboard and mouse can be hot plugged at any time
High VGA resolution 1920 x 1440 (Max. bandwidth 300MHz)
PC port keep alive capability, KVM powering down and all PC will still
keep active
Hot-Key function
Select and access computers
Sequential channel shift (left-decrease, right-increase)
Scan function and time interval setting (Non-OSD model)
Buzzer sound On/Off selectable
Hot-key Scroll Lock/Caps Lock selectable
Extra function for On-Screen Display model
Assign computers names for more easy to identify
Identify and select computers by the names
Programmable scan conditions and scan time interval
Password security lock/unlock access
(Default Name: admin. Password: 123456)
Store all setting information to non-volatile memory
User friendly OSD interface