Ref.
No. Part No. Descriptim Remarks Common
tVlodels
ICabinet *##Ee*rtt)
2320000 AA07875 0Side
Frame (L) v4 F7V-L cR-
3r
r
3320000 AA07877 0-do.- (R) // -do. -
4320000 AA0789l 0Bottom Cover fr l.A)ttt- -do. -
5320000 AA07875 SubChassis +rJ>+-> cR-
200
5320000 8A06657 0Dial Scale 9"+ y )veffiiffi -do. -
7320000 AA0792l 0Dial Pointer
Rail tFfif
v - )v cR-31
|
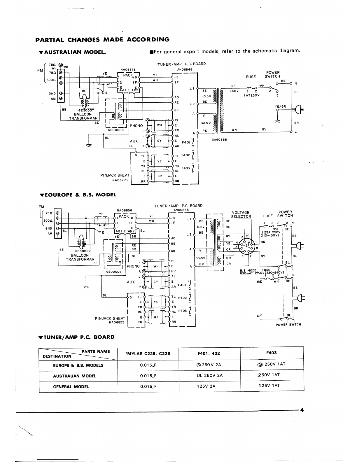
8320000 NA06847 0Tuner/Amp
CircuitBoard #der - hGeneral
Model
320000 NA06846 0-do. - // Europe,BS.Models
320000 NA05848 0-do. - // AUS.Model
I3?0000 NA058s6 0Pack Circuit Board t'y) r- l'
t0 320000 NA067t2 0LED C.Board LED'- I. General,European
Models cR-3ll
320000 NA067r3 0-do. -// US,CSA
Models -do. -
ll 3?0 0 r4 N80730 | 0Dial Pointer f 1 T )vrgfrt
fl'z l' cR
- 200
4?0000 J800032 0Pifot
Lamp lzv 50mA W
/Lead f-fE'vf2>7
., - l.:=t,
t2 320000 c807308 0Meter Fixing Frame / -, -++ cR-3rl
r3 320000 AA07363 0Meter Stopper Spring / -t -+Fizt?. cR
-400
t4 4?0000 Jf00020 0SignalMeter >/t)v./-r- -do. -
r5 420000 JB0003s 0Pilot Lamp l?V 50mA W/Rub
ber Bush J - 1""=t
r-t n .i t'z >J
t6 4?0000 c805599 0Pulley 5.2x15.5
X
20 ;FH
t7 320000 8802641 0Pulley
Shaft 'BH+fi ss
-
40,
cR
-
400
r8 420000 KA200 r0 0Lever SwitchSJ-1909 tz
z
t-5141 General,AUS.Models cA-
r000
420000 KA20022 0-do. - Class-2 // Europe,BS
Models B-
|
r9 3?0060 N801242 0Tuning
Unit 7=-->2"
:r=.y l. cT
-
400
20 3?0000 c807392 0ReadClamper 'J_1"..27>zf_
No.435
2l 3?0000 cB06893 0Lever Knob Vt)i-'Y?: cR-
1000
22 320000 c806827 0PhoneNut fr->t'y I cA-
1000
23 420000 c405372 0PhoneWasher ,f'->-)'y'2 rAU Common
24 420000 cB07]62 0Les
#7
16? Hi CR,CT,CA
Common
25 320000 c807826 0Spacer 7.^.- v -
26 3?0000 AA06490 0Dial
Spring I 4^Y tv
771) >2' cs - 50,70,
cR
- 400
27 320000 c807160 0PulleyFor Variable
Capacitor ztU
I >J-r)- cR
- 400
?8 420000 cB074t7 0Dial ThreadWhite 0
0.7x|.5m t4+)v#
29 320000 AA07874 0VR Washer VR?.y)+ AU Common
30 420000 ED440 t6 0BindingHead
Screw 4X l6 FCM3-B| /\4 > l-
rJ.?.
)
3l 420000 EV20r04 0Flat Washer 45 -do. - +EA : '+ 'L
32 4?0000 Er03008 0Binding
TappingScrew 3x8 ZMC?'Y t\4 2l:
?'yC>2+,
33 4?0000 El030t2 0-do. - 3xl2 -do. - //
34 420000 ED03005 0BindingHead
Screw 3x
5 -do. - /\4 > tirJ..?.
/
35 420000 ED03004 0-do. - 3x4 -do. -//
36 4?0000 EA23006 0Pan Head
Screw 3
X 6 FCrM3-
3g t<,J'+ i
37 320000 c806876 0ScreeningBuslr 6fj'v2t cR-
400
8