
Endon Lighting, LS9 0SE
Floor Light
Safety Warnings
INSTRUCTION MANUAL
• This product is only suitable for connection to a 240V~50Hz supply in accordance with current IEE wiring regulations.
It is for indoor use only, and not suitable for a bathroom location.
• If the Class II, double insulated symbol is on the lamp, it does not require an Earth, and Live or Neutral must
not be connected to Earth. If there is no such symbol, then the lamp must be Earthed. See wiring diagrams below.
• Do not plug into the mains until your lamp is fully assembled.
• Under no circumstances must this lamp be covered with any material as this could pose a safety hazard. It must be
usedonastable,atsurface.
• Nevertbulbsofahigherwattagethanthosespeciedonthelabel(asthesemaycauseoverheatinganddamage
thetting).
• The lamp must be protected by a 3 amp fuse in the mains plug.
• Ifthemainscablebecomesdamageditmustonlybereplacedbyatechnicallycompetent,qualiedperson.
• Ifyouareinanydoubtaboutyourcompetencepleaseconsultaqualiedelectrician.
• This products may contain delicate parts – be careful during handling and maintenance to avoid breakage.
• Ifanymodicationismadeitwillinvalidatethewarrantyandmayrendertheproductunsafe.
Assembly/ User Instructions
Before you start
Pleasereadtheseinstructionscarefullybeforettingandretainforreference.Checkthepackagingandmakesure
that you have all the required parts. Follow each assembly step in order to prevent incorrect assembly. Ensure that the
product is fully assembled as illustrated before use.
Please note: While the general steps to assemble your lamp will be the same, your individual product may
vary from the diagram.
These assembly diagrams are intended as a guide – if in doubt consult a qualied electrician.
Care Information
Allow 10 minutes to cool before replacing, adjusting or cleaning.
Clean with a dry cloth only. Do not use liquid or abrasive cleaners on this product.
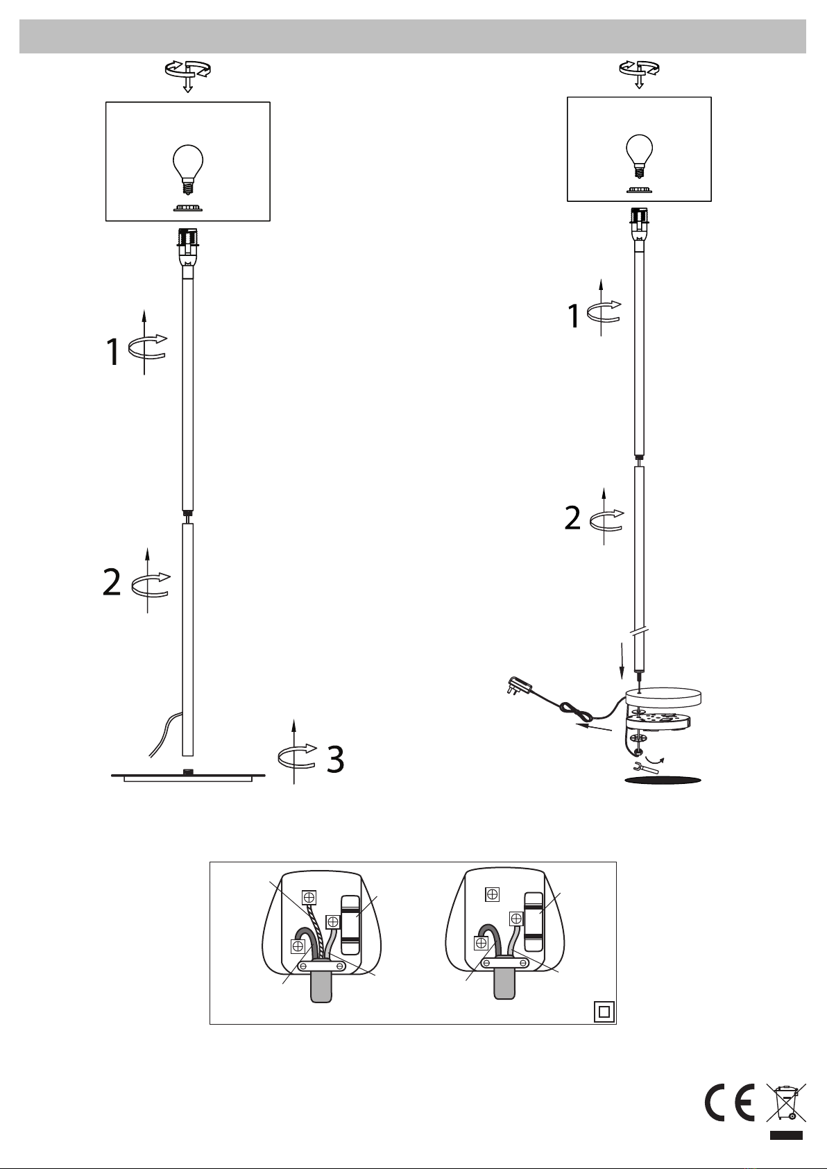
1. Carefullyunpackyourlamp,andplaceonastable,atsurface.
2. Screwtogetherthesectionsofstem,startingwiththetop(1)andworkingdown(2).Gentlypullthroughthecable,
ensuring it is not trapped or strained. NOTE: there may be more than 2 sections.
3. Thebasemaysimplyafxbyscrewingtothestem(seeDiagram1-3).Ensurethecabledoesnotbecometwisted
or trapped.
4. Alternativelythebasemaybeseparatefromthebaseweight,orbeafxedwithnutsandaspanner(seeDiagram
2).Inthiscase,slotthestemintothebase(3),withthebasepanoverit,ifappropriate,andsecureusingthenuts
andspannerprovided(A).Afoambasepadmayalsobesupplied(B).
5. Securetheshade(maynotbesupplied)(4)withtheshadering(5).
6. Installthebulb(s)(6).Do not install a bulb with a greater wattage or different shape than specied on the
label.
7. Plug in, and operate the switch to turn your lamp on.
If your lamp will not illuminate, please check the bulb, the 3 amp fuse in the plug and ultimately check the relevant fuse
inyourfusebox.Ifunsuccessfulpleaseconsultyourretailer.
GI-KD-FL20180606
Завантажено з mamadecor.ua