
-3-
IIntroduction
ETCR3000 DigitalEarthResistance Tester isspeciallydesigned
and manufactured forfieldmeasurement, adoptingthelatest digital
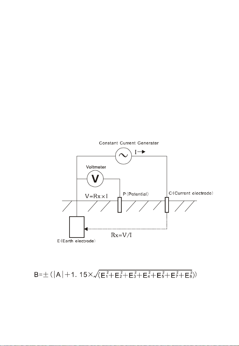
and micro-processingtechnology,3-poleor2-polemethod for
earthresistancemeasurement, withaunique function ofwire
resistanceverification, anti-interferencecapabilityandtheabilityto
adapttothe environment, toensurehighprecision,highstability
and reliabilityforprolonged measure,whichiswidelyusedin
electricpower,telecommunications,meteorology,oil field,
construction,lightningprotection,industrialelectricalequipment
and otherearthground resistancemeasurement.
ETCR3000 DigitalEarthResistance Tester hasaunique
function ofwireresistanceverification ,moreaccurateon
measuringon-sitelowvalue earthground resistance,whichcan
avoiderrorcaused byresistancechangeduetoprolonged usage
oftestingwire;avoiderrorcaused bytestingwirethatisfailed tobe
fullyinserted intotesterinterfaceorbypoorcontact; avoiderror
caused byusers replacingorlengtheningtestingwires.
ETCR3000 DigitalEarthResistance Tester iscomposed of
hostmachine,monitoringsoftware,testingwires,communication
wiresand others.ThelargeLCD displayof hostmachine iswith
blue backlight and bargraphindicatingthatcan beseen clearly.At
the sametimeitcan store400setsofdata,fulfillinghistorical
inquiryand online real-timemonitoringthrough monitoring
software,dynamicdisplay,withthe maximum,minimum,and
mean indicators,withalarmsettingsand alarmindicator,and with
the functionslikehistoricaldataaccess,reading,preservation,
report forms,printingand soon.