
! ATTENTION
─────────────────────────────────
LIRE ET COMPRENDRE CE MANUEL DANS TOUTES SES PARTIES AVANT DE DÉMARRER LA
MACHINE.
1. INFORMATIONS POUR LA SÉCURITÉ
1) L
E
S E
X
H
A
L
A
I
S
O
N
S D
’
É
C
H
A
P
P
E
M
E
N
T S
O
N
T T
O
X
I
Q
U
E
S
•
Ne pas utiliser le moteur dans des endroits fermés parce que cela pourrait causer la perte de conscience
et la mort en peu de temps. Utiliser le moteur dans des endroits bien aérés.
2)
LE COMBUSTIBLE EST EXTRÊMEMENT INFLAMMABLE ET TOXIQUE
•
Toujours effectuer le ravitaillement en combustible à moteur arrêté.
•
Ne pas effectuer le ravitaillement près de flammes nues ou pendant que l’on fume.
•
Pendant le ravitaillement faire attention à ne pas verser de carburant sur le moteur ou sur le pot
d’échappement.
•
En cas d’ingestion, inhalation ou contact avec les yeux de carburant, consulter immédiatement un
médicin. Si du carburant se reverse sur la peau ou sur les vêtements, se laver immédiatement avec de
l’eau et du savon et changer les habits.
•
Lorsque la machine est actionnée ou transportée, s’assurer qu’elle soit maintenue droite. Si inclinée, le
carburant pourrait sortir du carburateur ou du réservoir.
3) L
E M
O
T
E
U
R E
T L
E P
O
T D
’
É
C
H
A
P
P
E
M
E
N
T P
O
U
R
R
A
I
E
N
T Ê
T
R
E C
H
A
U
D
S
.
•
Positionner la machine hors de la porté des piétons et des enfants.
•
Ne pas placer de matériaux inflammables près de la sortie d’échappement pendant le fonctionnement.
•
Garder la machine à 1 m (3 ft) au moins de distance du mur, ou d’autres équipements, pour éviter le
surchauffe.
•
Ne pas actionner le moteur s’il est couvert avec la couverture anti-poussière.
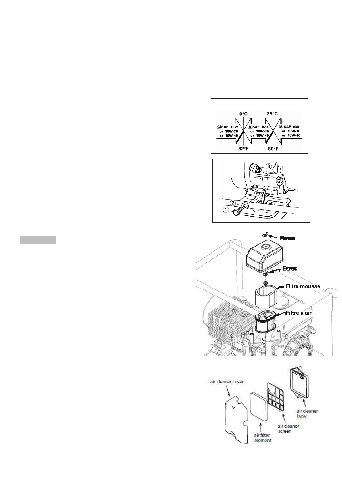
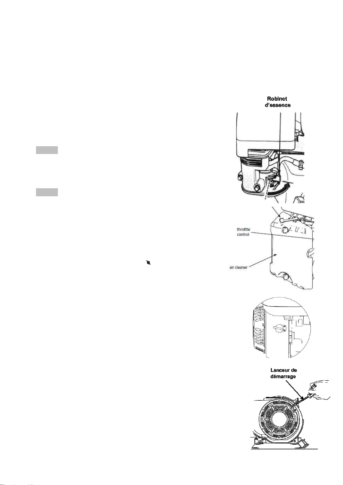
2. COMMANDE
1)
INTERRUPTEUR DU MOTEUR
L’interrupteur du moteur contrôle le système de démarrage.
①
«
ON
» (en marche)
Le circuit de démarrage est allumé.
Il est possible de démarrer le moteur.
②
«
OFF
» (stop)