
das Wiederfinden einer schon bewähr-
ten Einstellung erleichtert. Zur Betäti-
gung des Reglers ist ein kleiner Schrau-
benzieher erforderlich. Dadurch wird
auch hier eine ungewollte Bedienung
verhindert. Die auf der Frontplatte an-
geordnete 6 polige Tuchelbuchse @ er-
möglicht den Anschluß nieder- und
mittelohmiger dynamischer Mikrofone.
Neben der Tuchelbuchse befindet sich
eine Miniatur-Koaxialbuchse @, die den
Anschluß des Kleinst-Ansteckmikrofons
MK 12 (s. B. 1) erlaubt. Dieses Hoch-
frequenz-Kondensatormikrofon wird aus
dem im Sender untergebrachten 8-MHz-
Hilfsoszillator gespeist. Ein 60 Q-Kabel
verbindet den Sender mit dem Mikro-
fon, in dem der Kapselkreis und die
Diskriminatorschaltung untergebracht
sind. Die Niederfrequenzspannung wird
über die Kabelseele an den Mikrofon-
verstärker des Senders geführt.
Die zweite Miniatur-Koaxialbuchse Cl)
auf der Frontplatte des SK 1007 dient
zum Anschluß der Antenne. Als Gegen-
gewicht wird die Abschirmung der Mi-
krofonleitung mitbenutzt.
Zum Öffnen des Sendergehäuses, z. B.
für den Wechsel der Batterien, sind die
Verschlußknöpfe @, die sich am unteren
Ende des Gehäuses befinden, zusam-
menzuschieben. Dadurch läßt sich die
obere Gehäuseschale leicht anheben
und aus der Frontplatte herausziehen.
Als Batterien können normale handels-
übliche 9-Volt-Batterien nach lEG No. 6
F 22 verwendet werden. Wird der Sen-
der häufig benutzt, so empfiehlt sich
der Einsatz von Deac-Akkus TR 7/8.
Beim Einsetzen von neuen Batterien ist
darauf zu achten, daß die Kontaktierung
einwandfrei ist. Gegebenenfalls können
die Kontaktkronen etwas nachgebogen
werden.
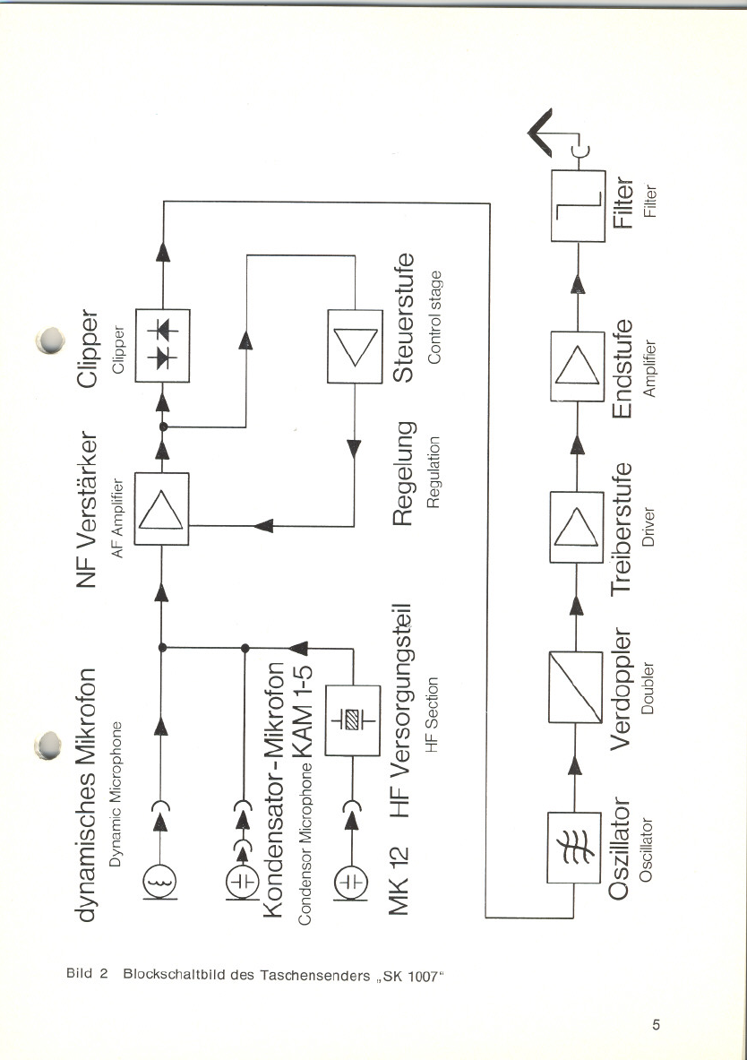
2.2 Schaltung
Der Sender ist vollständig mit Silizium-
Transistoren bestückt. Das Blockschalt-
bild (Bild 2) zeigt die einzelnen Stufen
des Gerätes. Der Hochfrequenzteil ist
schaltungstechnisch von dem Niederfre-
quenzteil dadurch getrennt, daß alle
Hochfrequenzstufen in Abschirmkästen
eingebaut sind (Bild 3). Ebenso ist der
Hilfsoszillator in einem getrennten Käst-
chen untergebracht.
2
microphone sensitivity control can be
adjusted by means of a small screw-
driver which again precludes inadvert-
ant operation. The 6 pin socket @
facilitates the connection of low and
medium impedance dynamic micro-
phones. Series 5 condensor micro-
phones can also be connected to this
socket via the cable KAM 1-5. A mi-
niature co-ax socket @ is provided for
the direct connection of the condensor
lavalier microphone MK 12. The MK 12
is fed from the 8 MHz subsidiary os-
cillator built into the SK 1007. A 60 Q
co-ax cable joins transmitter and micro-
phone which contains the condensor
capsule and the discriminator circuit. Q,
The second miniature co-ax socket Cl)is
for connection of the aerial. The screen
of the microphone cable serves as
aerial counterweight.
To fit or replace the batteries it is
necessary to open the transmitter. This
is done by pressing the two release
buttons @, on the bottom of the trans-
mitter, together and then lifting the
upper housing case at the bottom and
carefully pulling it out of the front plate.
The transmitter SK 1007 is powered by
three 9 V batteries, lEG No 6 F 22. If
the transmitter is used a lot then the
use of DEAG Accumulators Tr 7/8 is
recommended. When fitting batteries
care must be taken to ensure that good
contact is made. If necessary the crown
contacts of the batteries should ben .
pressed together a little. W
2.2 Circuit description
The SK 1007 is fitted with Silicon-
Transistors throughout. Fig. 2 shows
the various stages of the transmitter in
block diagram form. The HF section
and also the subsidiary oscillator are
contained in screening cans.