
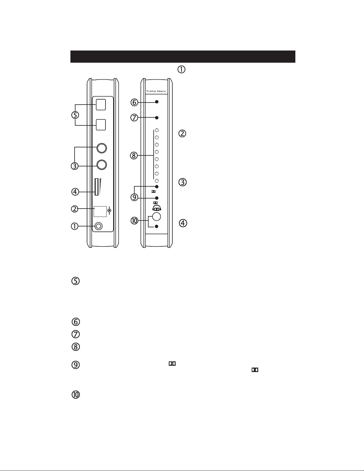
X4 Transmitter
Power Switch:
Power Socket:
CAUTION: Use only the supplied power
adapter. Failure to use the correct adapter
can result in fire, damage to the unit or
other hazards.
Push to turn on the
transmitter power. When the unit is powered
on, the front panel power light (6) will be on.
Insert the included X4 power
adapter into this socket.
NOTE: Switching the power button on and
off repeatedly may cause the transmitter
to not power up correctly. If this happens,
turn off the transmitter power, wait a few
seconds, then turn it on again so that it
may reset properly.
Line In (stereo analog inputs):
Volume control:
This control has no effect on the
digital input signal level.
Use these
inputs to connect analog audio sources, such
as a TV, MP3 Player, etc . If the Bypass (10)
is turned off, the analog stereo signal will be
processed by the Dolby Pro Logic II decoder,
producing an expanded stereo effect.
Sets the sensitivity of the
analog inputs to accept a wide range of input
levels.
Typically, this
should be set to maximum and the
headphone volume sholuld be used to adjust
the listening level. If the sound distorts, turn
down the transmitter volume control (4) to
prevent overloading the analog inputs.
Digital Input and Output:
When the Xbox digital signal is active, the X4 transmitter’s analog inputs
are disabled.
Power Indicator:
Digital Input Indicator:
IR Emitters:
Dolby Processing Indicators:
Bypass Button and Indicator:
Connect the X4 digital input (top) to the XBOX 360 digital
output using the included fiber optic cable. The X4 digital input (top) is passed through to
the X4 digital output (bottom) so you can simultaneously connect the X4 transmitter and
your home theater system to hear the Xbox on the headphones and speakers at the
same time.
Lights when the unit is powered on.
Lights when a digital signal is detected on the digital input.
The IR emitters are located in this area and should remain free of any
obstructions that may block the IR light beam from reaching the headphones.
The indicator will light whenever the digital or
analog input is being processed by the Dolby Pro Logic II decoder. The indicator will
light whenever the digital input signal is being processed by the Dolby Digital 5.1
surround sound decoder. Both indicators will turn off when the Bypass is ON.
Pressing this button turns off the Dolby processing,
allowing you to hear the unmodified input signal. The light will turn on to indicate that
Bypass is active and Dolby Processing is disabled.
REAR VIEW FRONT VIEW
LINE IN
DC IN 9V
POWER
VOLUME
DIGITAL
OUT
L
IN
R
LINE IN
+
-
BYPASS
DIGITAL
INPUT
PL II
D
PL II
D
Ear Force X4 Operating Instructions. Version 1.0 Copyright 2008 Voyetra Turtle Beach, Inc. All Rights Reserved Page 3